LTC2157-12 双通道、12 位、250Msps ADC

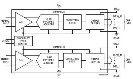
LTC®2157-12 / LTC2156-12 / LTC2155-12 是两通道、250Msps / 210Msps / 170Msps、12 位 A/D 转换器,专为对高频、宽动态范围信号进行数字化处理而设计。这些器件非常适合要求苛刻的通信应用,其AC性能包括68.5dB SNR 和 90dB 无寄生动态范围 (SFDR)。1.25GHz 输入带宽使 ADC 能实现高的欠采样比和非常低的衰减。延迟仅为 5 个时钟周期。

在整个温度范围内的 DC 规格包括 ±0.26LSB INL (典型值)、±0.16LSB DNL (典型值) 和无漏失码。转换噪声为 0.54LSBRMS。

数字输出为双倍数据速率 (DDR) LVDS。

可以利用一个正弦波、PECL、LVDS、TTL 或 CMOS 输入对 ENC+ 和 ENC- 输入进行差分驱动。一个任选的时钟占空比稳定器在全速和多种时钟占空比条件下实现了高性能。

产品特点 Features
  • 68.5dB SNR
  • 90dB SFDR
  • 低功率:628mW / 592mW / 545mW (总值)
  • 单 1.8V 电源
  • DDR LVDS 输出
  • 易于驱动的 1.5VP-P 输入范围
  • 1.25GHz 满功率带宽采样及保持 (S/H)
  • 可任选的时钟占空比稳定器
  • 低功率睡眠和打盹模式
  • 用于配置的串行 SPI 端口
  • 引脚兼容的 14 位版本
  • 64 引脚 (9mm x 9mm) QFN 封装
封装
LTC2157-12 封装
应用
  • 通信
  • 蜂窝基站
  • 软件定义无线电
  • 医学成像
  • 高分辨率视频
  • 测试和测量仪器
典型应用图
LTC2157-12 典型应用
参数
LTC2157-12 参数
LTC2157-12 订购信息和价格参考Package Variations and Pricing
器件型号 封装 引脚 温度 价格 (以 1 ~ 99 片为批量) 价格 (以 1000 片为批量) *
LTC2157CUP-12#PBF QFN 64 C $54.91  $38.43 
LTC2157CUP-12#TRPBF QFN 64 C $38.49 
LTC2157CUP-14#PBF QFN 64 C $103.48  $72.43 
LTC2157CUP-14#TRPBF QFN 64 C $72.49 
LTC2157IUP-12#PBF QFN 64 I $63.14  $44.20 
LTC2157IUP-12#TRPBF QFN 64 I $44.26 
LTC2157IUP-14#PBF QFN 64 I $119.00  $83.30 
LTC2157IUP-14#TRPBF QFN 64 I $83.36 
LTC2157-12 演示电路板
器件型号 描述
DC1564A-D LTC2157-12: 12-bit, 250Msps, 1.8V Dual ADC, DDR LVDS Outputs, 5-140MHz, req DC1371
LTC2157-12 Companion Boards
器件型号 描述
DC1371A High Speed (>250Mbps) USB Data Collection Board
LTC2157-12 数据手册及相关资料下载
  1. 数据手册 : LTC2157-12/ LTC2156-12/LTC2155-12 - Dual 12-Bit 250Msps/ 210Msps/170Msps ADCs.PDF
  2. 可靠性数据 : R538 Reliability Data .PDF
  3. 产品选型卡 : 14-Bit/12-Bit 170-310Msps Dual/Single ADC Family.PDF
  4. 软件和仿真: LTC2152 IBIS Model.IBS
  5. 软件和仿真: WP02 - Verilog For Altera Stratix IV Interface.ZIP
  6. 软件和仿真: WP02 - VHDL For Altera Stratix IV Interface.ZIP
  7. White Paper: WP02 - Interfacing linear Technology’s DDR LVDS ADCs to an Altera Stratix IV FPGA.PDF