LTC2203 16 位、25Msps ADC

LTC®2203/LTC2202 是 25Msps/10Msps、采样 16 位 A/D 转换器,专为对具有高达380MHz 输入频率的高频、宽动态范围信号进行数字化处理而设计。可以利用 PGA 前端对该 ADC 的输入范围优化。

LTC2203/LTC2203 非常适合于要求苛刻的应用,其 AC 性能包括 81.6dB SNR和 100dB 无寄生动态范围 (SFDR)。最大 DC 规格包括 ±4LSB INL、±1LSB DNL (无漏失码)。

一个单独的输出电源允许 CMOS 输出摆幅在 0.5V 至 3.6V 的范围。

一个单端 CLK 输入负责控制转换器操作。一个可任选的时钟占空比稳定器在全速和多种时钟占空比条件下实现了高性能。

产品特点 Features
  • 采样速率:25Msps/10Msps
  • 81.6dB SNR 和 100dB SFDR (2.5V 范围)
  • 在 70MHz 的 SFDR 为 90dB (1.667VP-P 输入范围)
  • PGA 前端 (2.5VP-P 或 1.667VP-P 输入范围)
  • 380MHz 满功率带宽 S/H (采样及保持)
  • 可选的内部抖动
  • 可选的数据输出随机函数发生器
  • 单3.3V电源
  • 功耗:220mW/140mW
  • 时钟占空比稳定器
  • 超范围指示器
  • 引脚兼容的器件系列
          25Msps:LTC2203 (16 位)
          10Msps:LTC2202 (16 位)
  • 48 引脚 (7mm x 7mm) QFN 封装
封装
LTC2203 封装
应用
  • 电信
  • 接收机
  • 蜂窝基站
  • 频谱分析
  • 成像系统
  • ATE
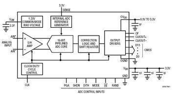
典型应用图
LTC2203 典型应用
参数
LTC2203 参数
LTC2203 订购信息和价格参考Package Variations and Pricing
器件型号 封装 引脚 温度 价格 (以 1 ~ 99 片为批量) 价格 (以 1000 片为批量) *
LTC2203CUK QFN 48 C $35.71  $25.00 
LTC2203CUK#PBF QFN 48 C $35.71  $25.00 
LTC2203CUK#TR QFN 48 C $25.10 
LTC2203CUK#TRPBF QFN 48 C $25.10 
LTC2203IUK QFN 48 I $42.86  $30.00 
LTC2203IUK#PBF QFN 48 I $42.86  $30.00 
LTC2203IUK#TR QFN 48 I $30.10 
LTC2203IUK#TRPBF QFN 48 I $30.10 
LTC2203 演示电路板
器件型号 描述
DC1058A-A Combo Demoboard for LTC2203 and LT1994, req. DC718
DC1058A-F Combo Demoboard for LTC2203 and LTC6403-1, req. DC718
DC919A-E LTC2203 | CMOS OUT, DC INPUT, 25Msps 16-Bit ADC, DC< Ain < 70MHz, (req. DC718)
Companion Boards
器件型号 描述
DC1075A Clock Divider board
DC1164A High Speed ADC Signal Source
DC1216A-A 100MHz High Speed ADC Clock Source
DC1216A-B 122.88MHz High Speed ADC Clock Source
DC1216A-C 80MHz High Speed ADC Clock Source
DC718C USB Data Acquisition Controller, for QuikEval -II Evaluation Kits
LTC2203 数据手册及相关资料下载
  1. 数据手册(英文) : LTC2203/LTC2202 - 16-Bit, 25Msps/10Msps ADC.PDF
  2. 可靠性数据 : R478 Reliability Data .PDF
  3. 产品选型卡 : Differential Amplifiers/High Speed ADC Drivers .PDF
  4. 产品选型卡 : Low Power, 16-Bit Dual/Single ADCs .PDF