LTC2207-14 16 位、105Msps ADC

LTC®2207-14/LTC2206-14 是 105Msps/80Msps、采样 14 位 A/D 转换器,专为对输入频率高达 700MHz的高频、宽动态范围信号进行数字化处理而设计。可以利用PGA前端对该ADC的输入范围优化。

LTC2207-14/LTC2206-14 非常适合于要求苛刻的通信应用,其 AC 性能包括 77.3dB 噪声层和 98dB 无寄生动态范围 (SFDR)。80fsRMS 的超低抖动实现了高输入频率的欠采样和卓越的噪声性能。最大 DC 规格包括整个温度范围内的 ±1.5LSB INL、±1LSB DNL (无漏失码)。

一个单独的输出电源允许 CMOS 输出摆幅在 0.5V 至 3.6V 的范围。

可利用一个正弦波、PECL、LVDS、TTL 或 CMOS 输入对 ENC+ 和 ENC- 输入进行差分或单端驱动。一个可任选的时钟占空比稳定器在全速和多种时钟占空比条件下实现了高性能。

产品特点 Features
  • 采样速率:65Msps/40Msps
  • 79dB SNR 和 100dB SFDR (2.25VP-P 输入范围)
  • 在 140MHz 时 SFDR > 92dB (1.5VP-P 输入范围)
  • PGA 前端 (2.25VP-P 或 1.5VP-P 输入范围)
  • 700MHz 满功率带宽 S/H (采样及保持)
  • 可选的内部抖动
  • 可选的数据输出随机函数发生器
  • 单 3.3V 电源
  • 功耗:610mW/480mW
  • 任选的时钟占空比稳定器
  • 超范围指示器
  • 引脚兼容系列
    105Msps:LTC2207 (16 位)、LTC2207-14 (14 位)
    80Msps:LTC2206 (16 位)、LTC2206-14 (14 位)
    65Msps:LTC2205 (16 位)、LTC2205-14 (14 位)
    40Msps:LTC2204 (16 位)
  • 48 引脚 (7mm x 7mm) QFN 封装
封装
LTC2207-14 封装
应用
  • 电信
  • 接收机
  • 蜂窝基站
  • 频谱分析
  • 成像系统
  • ATE
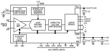
典型应用图
LTC2207-14 典型应用
参数
LTC2207-14 参数
LTC2207-14 订购信息和价格参考Package Variations and Pricing
器件型号 封装 引脚 温度 价格 (以 1 ~ 99 片为批量) 价格 (以 1000 片为批量) *
LTC2207CUK QFN 48 C $69.04  $48.33 
LTC2207CUK#PBF QFN 48 C $69.04  $48.33 
LTC2207CUK#TR QFN 48 C $48.43 
LTC2207CUK#TRPBF QFN 48 C $48.43 
LTC2207CUK-14 QFN 48 C $47.41  $33.00 
LTC2207CUK-14#PBF QFN 48 C $47.41  $33.00 
LTC2207CUK-14#TR QFN 48 C $33.10 
LTC2207CUK-14#TRPBF QFN 48 C $33.10 
LTC2207IUK QFN 48 I $82.86  $58.00 
LTC2207IUK#PBF QFN 48 I $82.86  $58.00 
LTC2207IUK#TR QFN 48 I $58.10 
LTC2207IUK#TRPBF QFN 48 I $58.10 
LTC2207IUK-14 QFN 48 I $56.57  $39.60 
LTC2207IUK-14#PBF QFN 48 I $56.57  $39.60 
LTC2207IUK-14#TR QFN 48 I $39.70 
LTC2207IUK-14#TRPBF QFN 48 I $39.70 
LTC2207-14 演示电路板
器件型号 描述
DC1004A-09H Combo Demoboard for LTC2207-14 and LT1993-10 ( 20dB)
DC1004A-09J Combo Demoboard for LTC2207-14 and LTC6401-14 ( 14dB)
DC918C-H LTC2207-14 | CMOS OUT, 105Msps, 14-Bit ADC, 1MHz< Ain < 70MHz, (req. DC718)
DC918C-I LTC2207-14 | CMOS OUT, 105Msps, 14-Bit ADC, 70MHz< Ain < 140MHz, (req. DC718)
DC919A-G LTC2207-14 | CMOS OUT, DC INPUT, 105Msps 14-Bit ADC, DC< Ain < 70MHz, (req. DC718)
Companion Boards
器件型号 描述
DC1075A Clock Divider board
DC1164A High Speed ADC Signal Source
DC1216A-A 100MHz High Speed ADC Clock Source
DC1216A-B 122.88MHz High Speed ADC Clock Source
DC1216A-C 80MHz High Speed ADC Clock Source
DC718C USB Data Acquisition Controller, for QuikEval -II Evaluation Kits
LTC2207-14 数据手册及相关资料下载
  1. 数据手册(英文) : LTC2207-14/LTC2206-14 - 14-Bit, 105Msps/80Msps ADCs.PDF
  2. 可靠性数据 : R478 Reliability Data .PDF
  3. 产品选型卡 : Differential Amplifiers/High Speed ADC Drivers .PDF
  4. 产品选型卡 : Low Power, 16-Bit Dual/Single ADCs .PDF
  5. 软件和仿真: LTC2205-2207 IBIS model.IBS