LTC2217 16位、105Msps低噪声ADC

LTC®2217 是一款采样速率为 105Msps 的 16 位 A/D 转换器,专为对具有高达400MHz 输入频率的高频、宽动态范围信号进行数字化处理而设计。ADC 的输入范围固定在 2.75VP-P。

LTC2217 非常适合于要求苛刻的通信应用,其 AC 性能包括 81.3dBFS 噪声层和100dB 无寄生动态范围 (SFDR)。85fsRMS 的超低抖动实现了高输入频率的欠采样,并保持了卓越的噪声性能。最大 DC 规格包括 ±3.5LSB INL、±1LSB DNL (无漏失码)。

数字输出可以是差分 LVDS 或单端 CMOS。CMOS 输出有两种格式选项,即:以全数据速率运行的单根总线或以半数据速率运行的多路分工总线。一个单独的输出电源允许 CMOS 输出摆幅在 0.5V 至 3.6V 的范围内变化。

可以利用一个正弦波、PECL、LVDS、TTL 或 CMOS 输入对 ENC+ 和 ENC– 输入进行差分或单端驱动。一个任选的时钟占空比稳定器在全速和各种时钟占空比条件下实现了高性能。

产品特点 Features
  • 采样速率:105Msps
  • 81.3dBFS 噪声层
  • 100dB SFDR
  • SFDR > 90dB (在 70MHz)
  • 85fsRMS 抖动
  • 2.75VP-P 输入范围
  • 400MHz 满功率带宽 S/H (采样及保持)
  • 任选的内部高频颤动
  • 任选的数据输出随机函数发生器
  • LVDS 或 CMOS 输出
  • 单 3.3V 电源
  • 功耗:1.19W
  • 时钟占空比稳定器
  • 引脚与 LTC2208 兼容
  • 64 引脚 (9mm x 9mm) QFN 封装
封装
LTC2217 封装
应用
  • 电信
  • 接收机
  • 蜂窝基站
  • 频谱分析
  • 成像系统
  • ATE
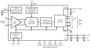
典型应用图
LTC2217 典型应用
参数
LTC2217 参数
LTC2217 订购信息和价格参考Package Variations and Pricing
器件型号 封装 引脚 温度 价格 (以 1 ~ 99 片为批量) 价格 (以 1000 片为批量) *
LTC2217CUP QFN 64 C $103.57  $72.50 
LTC2217CUP#PBF QFN 64 C $103.57  $72.50 
LTC2217CUP#TR QFN 64 C $72.60 
LTC2217CUP#TRPBF QFN 64 C $72.60 
LTC2217IUP QFN 64 I $124.29  $87.00 
LTC2217IUP#PBF QFN 64 I $124.29  $87.00 
LTC2217IUP#TR QFN 64 I $87.10 
LTC2217IUP#TRPBF QFN 64 I $87.10 
LTC2217 演示电路板
器件型号 描述
DC854D-E LTC2217IUP | CMOS OUT, 105Msps, 16-Bit ADC 1MHz < Ain < 70MHz, (req. DC718)
DC854D-F LTC2217IUP | CMOS OUT, 105Msps, 16-Bit ADC 70MHz < Ain < 140MHz, (req. DC718)
DC996B-E LTC2217IUP | LVDS OUT, 105Msps, 16-Bit ADC 1MHz < Ain < 70MHz, (req. DC890 & LVDS_XFMR)
DC996B-F LTC2217IUP | LVDS OUT, 105Msps, 16-Bit ADC 70MHz < Ain < 140MHz, (req. DC890 & LVDS_XFMR)
Companion Boards
器件型号 描述
DC1075A Clock Divider board
DC1164A High Speed ADC Signal Source
DC1216A-A 100MHz High Speed ADC Clock Source
DC1216A-B 122.88MHz High Speed ADC Clock Source
DC1216A-C 80MHz High Speed ADC Clock Source
DC890_LVDS_XFMR LVDS Power Transformer, goes with DC890B/ LVDS output demoboards
DC890B High Speed (up to 250Mbps, CMOS/LVDS) USB Data Collection Board
LTC2217 数据手册及相关资料下载
  1. 数据手册(英文) : LTC2217 - 16-Bit, 105Msps Low Noise ADC.PDF
  2. 设计要点 (英文) :DN1013 - Understanding the Effect of Clock Jitter on High Speed ADCs .PDF
  3. 可靠性数据 : R478 Reliability Data .PDF
  4. 产品选型卡 : Differential Amplifiers/High Speed ADC Drivers .PDF
  5. 产品选型卡 : Low Power, 16-Bit Dual/Single ADCs .PDF