LTC2224 12-Bit, 135Msps ADC

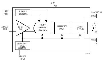
The LTC®2224 is a 135Msps, sampling 12-bit A/D converter designed for digitizing high frequency, wide dynamic range signals. The LTC2224 is perfect for demanding communications applications with AC performance that includes 67.3dB SNR and 80dB spurious free dynamic range for signals up to 150MHz. Ultralow jitter of 0.15psRMS allows undersampling of IF frequencies with excellent noise performance.

DC specs include ±0.4LSB INL (typ), ±0.3LSB DNL (typ) and no missing codes over temperature. The transition noise is a low 0.5LSBRMS.

A separate output power supply allows the CMOS output swing to range from 0.5V to 3.6V.

The ENC+ and ENC– inputs may be driven differentially or single ended with a sine wave, PECL, LVDS, TTL, or CMOS inputs. An optional clock duty cycle stabilizer allows high performance at full speed for a wide range of clock duty cycles

产品特点 Features
  • Sample Rate: 135Msps
  • 67.3dB SNR up to 140MHz Input
  • 80dB SFDR up to 150MHz Input
  • 775MHz Full Power Bandwidth S/H
  • Single 3.3V Supply
  • Low Power Dissipation: 630mW
  • CMOS Outputs
  • Selectable Input Ranges: ±0.5V or ±1V
  • No Missing Codes
  • Optional Clock Duty Cycle Stabilizer
  • Shutdown and Nap Modes
  • Data Ready Output Clock
  • Pin Compatible Family
    135Msps: LTC2224 (12-Bit), LTC2234 (10-Bit)
    105Msps: LTC2222 (12-Bit), LTC2232 (10-Bit)
    80Msps: LTC2223 (12-Bit), LTC2233 (10-Bit)
  • 48-Pin 7mm × 7mm QFN Package
封装
LTC2224 封装
应用
  • Wireless and Wired Broadband Communication
  • Cable Head-End Systems
  • Power Amplifier linearization
  • Communications Test Equipment
典型应用图
LTC2224 典型应用
参数
LTC2224 参数
LTC2224 订购信息和价格参考Package Variations and Pricing
器件型号 封装 引脚 温度 价格 (以 1 ~ 99 片为批量) 价格 (以 1000 片为批量) *
LTC2224CUK QFN 48 C $22.83  $16.70 
LTC2224CUK#PBF QFN 48 C $22.83  $16.70 
LTC2224CUK#TR QFN 48 C $16.80 
LTC2224CUK#TRPBF QFN 48 C $16.80 
LTC2224IUK QFN 48 I $27.33  $20.00 
LTC2224IUK#PBF QFN 48 I $27.33  $20.00 
LTC2224IUK#TR QFN 48 I $20.10 
LTC2224IUK#TRPBF QFN 48 I $20.10 
LTC2224 演示电路板
器件型号 描述
DC751A-I LTC2224IUK | High Speed ADC, VDD = +3.3V, 135Msps, 12-Bit 1MHz < Ain < 100MHz (Requires DC718)
DC751A-K LTC2224IUK | High Speed ADC, VDD = +3.3V, 135Msps, 12-Bit 100MHz < Ain < 250MHz (Requires DC718)
Companion Boards
器件型号 描述
DC1075A Clock Divider board
DC1164A High Speed ADC Signal Source
DC1216A-A 100MHz High Speed ADC Clock Source
DC1216A-B 122.88MHz High Speed ADC Clock Source
DC1216A-C 80MHz High Speed ADC Clock Source
DC890_LVDS_XFMR LVDS Power Transformer, goes with DC890B/ LVDS output demoboards
DC890B High Speed (up to 250Mbps, CMOS/LVDS) USB Data Collection Board
LTC2224 数据手册及相关资料下载
  1. 数据手册(英文) : LTC2224 - 12-Bit, 135Msps ADC.PDF
  2. 可靠性数据 : R478 Reliability Data .PDF
  3. 产品选型卡 : Differential Amplifiers/High Speed ADC Drivers .PDF
  4. 产品选型卡 : 14-/12-Bit Quad & Dual, Serial LVDS ADCs .PDF