LTC2239 10-Bit, 80Msps Low Noise 3V ADC

The LTC®2239 is a 10-bit 80Msps, low power 3V A/D converter designed for digitizing high frequency, wide dynamic range signals. The LTC2239 is perfect for demanding imaging and communications applications with AC performance that includes 61.6dB SNR and 85dB SFDR for signals well beyond the Nyquist frequency.

DC specs include ±0.1LSB INL (typ), ±0.1LSB DNL (typ) and ±0.5LSB INL, ±0.5LSB DNL over temperature. The transition noise is a low 0.08LSBRMS.

A single 3V supply allows low power operation. A separate output supply allows the outputs to drive 0.5V to 3.3V logic.

A single-ended CLK input controls converter operation. An optional clock duty cycle stabilizer allows high performance at full speed for a wide range of clock duty cycles

产品特点 Features
  • Sample Rate: 80Msps
  • Single 3V Supply (2.7V to 3.4V)
  • Low Power: 211mW
  • 61.6dB SNR at 70MHz Input
  • 85dB SFDR at 70MHz Input
  • No Missing Codes
  • Flexible Input: 1VP-P to 2VP-P Range
  • 575MHz Full Power Bandwidth S/H
  • Clock Duty Cycle Stabilizer
  • Shutdown and Nap Modes
  • Pin Compatible Family
    125Msps: LTC2253 (12-Bit), LTC2251 (10-Bit)
    105Msps: LTC2252 (12-Bit), LTC2250 (10-Bit)
    80Msps: LTC2229 (12-Bit), LTC2239 (10-Bit)
    65Msps: LTC2228 (12-Bit), LTC2238 (10-Bit)
    40Msps: LTC2227 (12-Bit), LTC2237 (10-Bit)
    25Msps: LTC2226 (12-Bit), LTC2236 (10-Bit)
  • 10Msps: LTC2225 (12-Bit)
  • 32-Pin (5mm × 5mm) QFN Package
封装
LTC2239 封装
应用
  • Wireless and Wired Broadband Communication
  • Imaging Systems
  • Ultrasound
  • Spectral Analysis
  • Portable Instrumentation
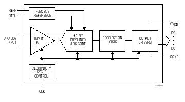
典型应用图
LTC2239 典型应用
参数
LTC2239 参数
LTC2239 订购信息和价格参考Package Variations and Pricing
器件型号 封装 引脚 温度 价格 (以 1 ~ 99 片为批量) 价格 (以 1000 片为批量) *
LTC2239CUH QFN 32 C $9.15 $6.70
LTC2239CUH#PBF QFN 32 C $9.15 $6.70
LTC2239CUH#TR QFN 32 C $6.80
LTC2239CUH#TRPBF QFN 32 C $6.80
LTC2239IUH QFN 32 I $10.93 $8.00
LTC2239IUH#PBF QFN 32 I $10.93 $8.00
LTC2239IUH#TR QFN 32 I $8.10
LTC2239IUH#TRPBF QFN 32 I $8.10
LTC2239 演示电路板
器件型号 描述
DC782A-L LTC2239IUH | High Speed ADC, VDD = +3.0V, 80Msps, 10-Bit 1MHz < Ain < 70MHz, req DC718
Companion Boards
器件型号 描述
DC1075A Clock Divider board
DC1164A High Speed ADC Signal Source
DC1216A-A 100MHz High Speed ADC Clock Source
DC1216A-B 122.88MHz High Speed ADC Clock Source
DC1216A-C 80MHz High Speed ADC Clock Source
DC890_LVDS_XFMR LVDS Power Transformer, goes with DC890B/ LVDS output demoboards
DC890B High Speed (up to 250Mbps, CMOS/LVDS) USB Data Collection Board
LTC2239 数据手册及相关资料下载
  1. 数据手册(英文) : LTC2239 - 10-Bit, 80Msps Low Noise 3V ADC.PDF
  2. 可靠性数据 : R478 Reliability Data .PDF
  3. 产品选型卡 : Differential Amplifiers/High Speed ADC Drivers .PDF
  4. 产品选型卡 : 14-/12-Bit Quad & Dual, Serial LVDS ADCs .PDF
  5. 软件和仿真: LTC2249 IBIS model.IBS