LTC2246H 采用 LQFP 封装的 14 位、25Msps、125°C ADC

LTC®2246H 是一款 14 位、25Msps、低功率 3V A/D 转换器,专为对高频、宽动态范围信号进行数字化处理而设计。LTC2246H 非常适合于要求苛刻的成像和通信应用,其 AC 性能包括 74.5dB SNR 和 90dB SFDR。

DC 规格包括整个温度范围内的 ±1LSB INL (典型值)、±0.5LSB DNL (典型值) 和无漏失码。转换噪声为很低的 1LSBRMS。

一个单 3V 电源实现了低功率运作。一个单独的输出电源允许输出驱动 0.5V 至 3.6V逻辑电路。

一个单端 CLK 输入负责控制转换器操作。一个任选的时钟占空比稳定器在全速和各种时钟占空比条件下实现了高性能

产品特点 Features
  • 采样速率:25Msps
  • -40°C 至 125°C 工作温度范围
  • 单 3V 电源 (2.8V 至 3.5V)
  • 低功率:75mW
  • 74.5dB SNR
  • 90dB SFDR
  • 无漏失码
  • 灵活的输入:1VP-P 至 2VP-P 范围
  • 575MHz 满功率带宽 S/H (采样及保持)
  • 时钟占空比稳定器
  • 停机和打盹模式
  • 引脚兼容系列
         LTC2246H (14 位)、LTC2226H (12 位)
  • 48 引脚 (7mm x 7mm) LQFP 封装
封装
LTC2246H 封装
应用
  • 汽车
  • 工业
  • 无线和有线宽带通信
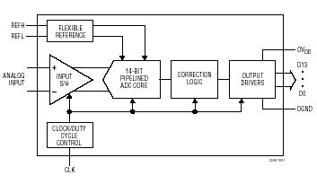
典型应用图
LTC2246H 典型应用
参数
LTC2246H 参数
LTC2246H 订购信息和价格参考Package Variations and Pricing
器件型号 封装 引脚 温度 价格 (以 1 ~ 99 片为批量) 价格 (以 1000 片为批量) *
LTC2246HCUH#PBF QFN 32 C $16.60  $12.50 
LTC2246HCUH#TRPBF QFN 32 C $12.60 
LTC2246HLX#PBF LQFP 48 H $24.90  $18.00 
LTC2246HIUH#PBF QFN 32 I $20.75  $15.00 
LTC2246HIUH#TRPBF QFN 32 I $15.10 
LTC2246H 演示电路板
器件型号 描述
DC1350A-A LTC2246H: 14-bit, 25Msps H-grade ADC in 7x7 LQFP-48 (req DC718)
Companion Boards
器件型号 描述
DC1075A Clock Divider board
DC1164A High Speed ADC Signal Source
DC1216A-A 100MHz High Speed ADC Clock Source
DC1216A-B 122.88MHz High Speed ADC Clock Source
DC1216A-C 80MHz High Speed ADC Clock Source
DC718C USB Data Acquisition Controller, for QuikEval -II Evaluation Kits
LTC2246H 数据手册及相关资料下载
  1. 数据手册(英文) : LTC2246H - 14-Bit, 25Msps 125°C ADC In LQFP.PDF
  2. 可靠性数据 : R478 Reliability Data .PDF
  3. 产品选型卡 : Differential Amplifiers/High Speed ADC Drivers .PDF
  4. 产品选型卡 : Digital Predistortion Solutions..PDF
  5. 产品选型卡 : 14-/12-Bit Quad & Dual, Serial LVDS ADCs .PDF
  6. 软件和仿真: LTC2249 IBIS model.IBS