LTC®2258-14 / LTC2257-14 / LTC2256-14 是采样 14 位 A/D 转换器,专为对高频、宽动态范围信号进行数字化处理而设计。凭借包括 74dB SNR 和 88dB 无寄生动态范围 (SFDR) 的 AC 性能,它们成为了要求苛刻的通信应用的完美选择。0.17psRMS 的超低抖动实现了 IF 频率的欠采样以及卓越的噪声性能。
DC 规格包括在整个温度范围内的 ±1LSB INL (典型值)、±0.3LSB DNL (典型值) 和无漏失码。转换噪声很低,仅为 1.13LSBRMS。
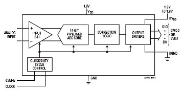
数字输出可以是全速率 CMOS、双倍数据速率 CMOS 或双倍数据速率 LVDS。一个单独的输出电源提供了 1.2V 至 1.8V 的 CMOS 输出摆幅。
可以利用一个正弦波、PECL、LVDS、TTL 或 CMOS 输入对 ENC+ 和 ENC— 输入进行差分或单端驱动。一个可任选的时钟占空比稳定器在全速和宽范围的时钟占空比条件下实现了高性能
产品特点 Features
封装
| 应用
典型应用图
参数 |
|---|
| 器件型号 | 封装 | 引脚 | 温度 | 价格 (以 1 ~ 99 片为批量) | 价格 (以 1000 片为批量) * |
| LTC2258CUJ-12#PBF | QFN | 40 | C | $14.17 | $9.92 |
| LTC2258CUJ-12#TRPBF | QFN | 40 | C | $9.98 | |
| LTC2258CUJ-14#PBF | QFN | 40 | C | $25.50 | $17.85 |
| LTC2258CUJ-14#TRPBF | QFN | 40 | C | $17.91 | |
| LTC2258IUJ-12#PBF | QFN | 40 | I | $17.00 | $11.90 |
| LTC2258IUJ-12#TRPBF | QFN | 40 | I | $11.96 | |
| LTC2258IUJ-14#PBF | QFN | 40 | I | $30.60 | $21.42 |
| LTC2258IUJ-14#TRPBF | QFN | 40 | I | $21.48 |
| 器件型号 | 描述 |
| DC1369A-D | LTC2258-14: 14-bit 65Msps ADC, LVDS Outputs, 5-170MHz, req DC890, LVDS_XFMR and DC1075 |
| DC1370A-D | LTC2258-14: 14-bit 65Msps ADC, CMOS Outputs, 5-170MHz, req DC890 and DC1075 |
| 器件型号 | 描述 |
| DC1075A | Clock Divider board |
| DC1164A | High Speed ADC Signal Source |
| DC1216A-A | 100MHz High Speed ADC Clock Source |
| DC1216A-B | 122.88MHz High Speed ADC Clock Source |
| DC1216A-C | 80MHz High Speed ADC Clock Source |
| DC890_LVDS_XFMR | LVDS Power Transformer, goes with DC890B/ LVDS output demoboards |
| DC890B | High Speed (up to 250Mbps, CMOS/LVDS) USB Data Collection Board |