LTC2259-16 16 位、80Msps、超低功率 1.8V ADC

LTC®2259-16 是采样 16 位 A/D 转换器,专为对高频、宽动态范围信号进行数字化处理而设计。凭借包括 73.1dB SNR 和 88dB 无寄生动态范围 (SFDR) 在内的 AC 性能,它们成为了要求苛刻通信应用的完美选择。0.17psRMS 的超低抖动实现了 IF 频率的欠采样以及卓越的噪声性能。

DC 规格包括 ±4LSB INL (典型值)、±0.5LSB DNL (典型值)。

数字输出可以是全速率 CMOS、双倍数据速率 CMOS、或双倍数据速率 LVDS。一个单独的输出电源提供了 1.2V 至 1.8V 的 CMOS 输出摆幅。

可以利用一个正弦波、PECL、LVDS、TTL 或 CMOS 输入对 ENC+ 和 ENC– 输入进行差分或单端驱动。一个可任选的时钟占空比稳定器在很宽的时钟占空比范围内于全速条件下实现了高性能。

产品特点 Features
  • 73.1dB SNR
  • 88dB SFDR
  • 低功率:89mW
  • 单 1.8V 电源
  • CMOS、DDR CMOS 或 DDR LVDS 输出
  • 可选输入范围:1VP-P 至 2VP-P
  • 800MHz 满功率带宽 S/H (采样及保持)
  • 任选的数据输出随机函数发生器
  • 任选的时钟占空比稳定器
  • 停机和打盹模式
  • 用于配置的串行 SPI 端口
  • 40 引脚 (6mm x 6mm) QFN 封装
封装
LTC2259-16 封装
应用
  • 通信
  • 蜂窝基站
  • 软件无线电
  • 便携式医学成像
  • 多通道数据采集
  • 非破坏性的检测
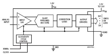
典型应用图
LTC2259-16 典型应用
参数
LTC2259-16 参数
LTC2259-16 订购信息和价格参考Package Variations and Pricing
器件型号 封装 引脚 温度 价格 (以 1 ~ 99 片为批量) 价格 (以 1000 片为批量) *
LTC2259CUJ-12#PBF QFN 40 C $26.71  $18.70 
LTC2259CUJ-12#TRPBF QFN 40 C $18.76 
LTC2259CUJ-14#PBF QFN 40 C $40.00  $28.00 
LTC2259CUJ-14#TRPBF QFN 40 C $28.06 
LTC2259CUJ-16#PBF QFN 40 C $50.00  $35.00 
LTC2259CUJ-16#TRPBF QFN 40 C $35.06 
LTC2259IUJ-12#PBF QFN 40 I $32.06  $22.44 
LTC2259IUJ-12#TRPBF QFN 40 I $22.50 
LTC2259IUJ-14#PBF QFN 40 I $48.00  $33.60 
LTC2259IUJ-14#TRPBF QFN 40 I $33.66 
LTC2259IUJ-16#PBF QFN 40 I $60.00  $42.00 
LTC2259IUJ-16#TRPBF QFN 40 I $42.06 
LTC2259-16 数据手册及相关资料下载
  1. 数据手册(英文) : LTC2259-16 - 16-Bit, 80Msps Ultralow Power 1.8V ADC.PDF
  2. 可靠性数据 : R538 Reliability Data .PDF
  3. 产品选型卡 : Differential Amplifiers/High Speed ADC Drivers .PDF
  4. 产品选型卡 : 14-/12-Bit 1.8V Single ADCs.PDF
  5. 软件和仿真: LTC2261Series IBIS model.IBS