LTC2285 双通道、14位、125Msps 低功率 3V ADC

LTC®2285 是一款 14 位、125Msps、低功率、双通道 3V A/D 转换器,专为对高频、宽动态范围信号进行数字化处理而设计。凭借包括 72.2dB SNR 和 82dB SFDR (对于处于奈奎斯特频率的信号) 在内的 AC 性能,LTC2285 成为了要求苛刻的成像和通信应用的理想选择。

典型 DC 规格包括 ±1.5LSB INL、±0.6LSB DNL。转换噪声很低,仅为 1.3LSBRMS。

一个单 3V 电源实现了低功率运作。一个单独的输出电源允许输出驱动 0.5V 至 3.6V逻辑电路。

一个单端 CLK 输入负责控制转换器操作。一个可任选的时钟占空比稳定器在很宽的时钟占空比范围内实现了高性能 (在全速条件下)。一个数据就绪输出时钟 (CLKOUT) 可用于对输出数据进行锁存。

产品特点 Features
  • 集成双通道 14 位 ADC
  • 采样速率:125Msps
  • 单 3V 电源 (2.85V 至 3.4V)
  • 低功率:790mW
  • 72.4dB SNR、88dB SFDR
  • 110dB 通道隔离度 (在 100MHz)
  • 灵活的输入:1VP-P 至 2VP-P 范围
  • 640MHz 满功率带宽 S/H (采样及保持)
  • 时钟占空比稳定器
  • 停机和打盹模式
  • 数据就绪输出时钟
  • 引脚兼容系列
    125Msps:LTC2283 (12 位)、LTC2285 (14 位)
    105Msps:LTC2282 (12 位)、LTC2284 (14 位)
    80Msps:LTC2294 (12 位)、LTC2299 (14 位)
    65Msps:LTC2293 (12 位)、LTC2298 (14 位)
    40Msps:LTC2292 (12 位)、LTC2297 (14 位)
  • 64 引脚 (9mm x 9mm) QFN 封装
封装
LTC2285 封装
应用
  • 无线和有线宽带通信
  • 成像系统
  • 频谱分析
  • 便携式仪表
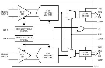
典型应用图
LTC2285 典型应用
参数
LTC2285 参数
LTC2285 订购信息和价格参考Package Variations and Pricing
器件型号 封装 引脚 温度 价格 (以 1 ~ 99 片为批量) 价格 (以 1000 片为批量) *
LTC2285CUP QFN 64 C $16.07  $11.25 
LTC2285CUP#PBF QFN 64 C $16.07  $11.25 
LTC2285CUP#TR QFN 64 C $11.35 
LTC2285CUP#TRPBF QFN 64 C $11.35 
LTC2285IUP QFN 64 I $19.29  $13.50 
LTC2285IUP#PBF QFN 64 I $19.29  $13.50 
LTC2285IUP#TR QFN 64 I $13.60 
LTC2285IUP#TRPBF QFN 64 I $13.60 
LTC2285 演示电路板
器件型号 描述
DC1098A-C LTC2285IUP | Dual HSADC, VDD = +3V, 125Msps 14-Bit 1MHz < Ain < 70MHz, (req. DC890)
DC1098A-F LTC2285IUP | Dual HSADC, VDD = +3V, 125Msps 14-Bit 70MHz < Ain < 140MHz, (req. DC890)
Companion Boards
器件型号 描述
DC1075A Clock Divider board
DC1164A High Speed ADC Signal Source
DC1216A-A 100MHz High Speed ADC Clock Source
DC1216A-B 122.88MHz High Speed ADC Clock Source
DC1216A-C 80MHz High Speed ADC Clock Source
DC1371A High Speed (up to 250Mbps, CMOS/LVDS) USB Data Collection Board
LTC2285 数据手册及相关资料下载
  1. 数据手册(英文) : LTC2285 - Dual 14-Bit, 125Msps Low Power 3V ADC.PDF
  2. 可靠性数据 : R478 Reliability Data .PDF
  3. 产品选型卡 : Differential Amplifiers/High Speed ADC Drivers .PDF
  4. 产品选型卡 : 14-/12-Bit Quad & Dual, Serial LVDS ADCs .PDF
  5. 产品新闻发布 (中文) : 14 位 125Msps 低功率双通道 ADC 增强了高效基站收发器的性能.PDF
  6. 软件和仿真: LTC2285 IBIS model.IBS