AC7MDT10-D32/S28 SDIP32/SO28 connection kit for ST7MDT10-EMU3, includes SDIP32 flex adapter and SDIP32 to SO28 adapter

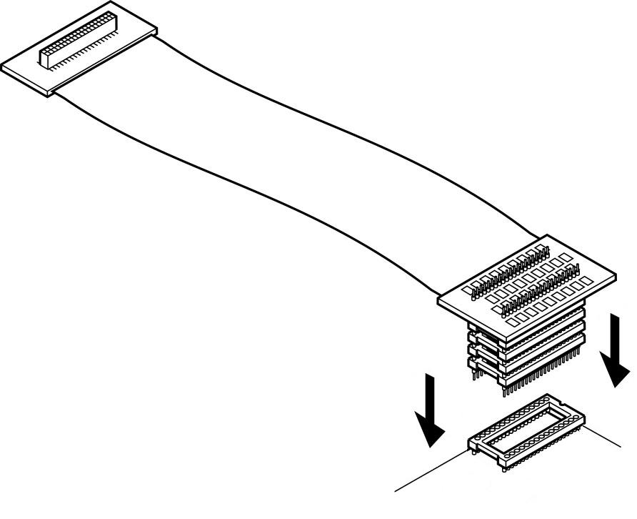
The SDIP32/SO28 Connection Kit (AC7MDT10-D32/S28) provides the hardware you need toconnect your ST7MDT10-EMU3 emulator to yourapplication when debugging applications for ST7 microcontrollers in SDIP32 and SO28 packages.

技术特性
  • SDIP32 adapter (DB510) – Allows the connection of your ST7MDT10-EMU3 emulator to your application board in place of your ST7.
  • SDIP32-SO28 device adapter (DB359) – Adapts the SDIP32 adapter to SO28 footprint of the ST7 on your application board.
功能框图
AC7MDT10-D32/S28 订购信息
订购型号 产品状态 美金价格 数量 封装 包装形式 温度范围 材料声明
AC7MDT10-D32/S28 Active           AC7MDT10-D32/S28
DATA BRIEF
描述 版本 大小
DB0252: SDIP32/SO28 Connection Kit for ST7MDT10-EMU3 1 135KB
USER MANUALS
描述 版本 大小
UM0139: ST7MDT10-EMU3 probe user guide 6 3030KB