M41T81S Serial real-time clock (RTC) with alarm
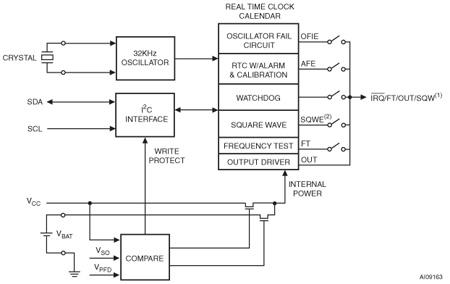
The M41T81S is a low power serial RTC with a built-in 32.768 kHz oscillator (external crystal controlled). Eight bytes of the SRAM are used for the clock/calendar function and are configured in binary coded decimal (BCD) format. An additional 12 bytes of SRAM provide status/control of alarm, watchdog and square wave functions. Addresses and data are transferred serially via a two line, bi-directional I²C interface. The built-in address register is incremented automatically after each WRITE or READ data byte.
The M41T81S has a built-in power sense circuit which detects power failures and automatically switches to the battery supply when a power failure occurs. The energy needed to sustain the clock operations can be supplied by a small lithium button supply when a power failure occurs. Functions available to the user include a non-volatile, time-of-day clock/calendar, alarm interrupts, watchdog timer and programmable square wave output. The eight clock address locations contain the century, year, month, date, day, hour, minute, second and tenths/hundredths of a second in 24-hour BCD format. Corrections for 28, 29 (leap year - valid until year 2100), 30 and 31 day months are made automatically.
The M41T81S is supplied in either an 8-pin SOIC or an 18-pin (MY), 300 mil SOIC package which includes an embedded 32 KHz crystal.
The 18-pin, embedded crystal SOIC requires only a user-supplied battery to provide non-volatile operation.
技术特性
- Counters for tenths/hundredths of seconds, seconds, minutes, hours, day, date, month, year, and century
- 32 KHz crystal oscillator with integrated load capacitance (12.5 pf) which provides exceptional oscillator stability and high crystal series resistance operation)
- Oscillator stop detection (monitors clock operation)
- Serial interface supports I²C bus (400 kHz protocol)
- Ultra-low battery supply current of 0.6 μA (typ)
- 2.0 to 5.5 V clock operating voltage
- Automatic switchover and deselect circuitry (fixed reference) which provides full operation in 3.0 V applications)
- VCC= 2.7 to 5.5 V
- 2.5 V ≤ VPFD≤ 2.7 V
- Power-down time stamp (HT bit) which allows determination of time elapsed in battery backup
- Battery low flag
- Programmable alarm and interrupt function (valid even during battery backup mode)
- Accurate programmable watchdog timer (from 62.5 ms to 128 s)
- Software clock calibration (to compensate for crystal deviation due to temperature)
- Operating temperature of –40 to 85 °C
- Package options include an 8-lead SOIC or 18-lead embedded crystal SOIC
|
功能框图
 |
M41T81S 订购信息
| 订购型号 |
产品状态 |
美金价格 |
数量 |
封装 |
包装形式 |
温度范围 |
材料声明 |
| M41T81SMY6F |
Active |
|
|
SO-18 |
Tape And Reel |
-40 °C-85°C |
M41T81SMY6F |
| M41T81SMY6E |
NRND |
|
|
SO-18 |
Tube |
-40 °C-85°C |
M41T81SMY6E |
| M41T81SM6F |
Active |
|
|
SO-8 |
Tape And Reel |
-40 °C-85°C |
M41T81SM6F |
DATASHEET
| 描述 |
版本 |
大小 |
| M41T81S : Serial access real-time clock with alarms |
6 |
525KB |
APPLICATION NOTES
| 描述 |
版本 |
大小 |
| AN922: Using a Super Cap to back up the M41T56, M41T00, M41T11, M41T81, M41T81S, and M41ST84W (16-pin) |
2 |
85KB |
| AN1012: Predicting the battery life and data retention period of NVRAMs and serial RTCs |
4 |
440KB |
| AN1572: Power-down time-stamp function in serial real-time clocks (RTCs) |
2 |
172KB |
| AN1216: Implementing a periodic alarm with TIMEKEEPER® |
1 |
55KB |
| AN934: How to use the digital calibration feature in TIMEKEEPER® and serial real-time clock (RTC) products |
4 |
124KB |
| AN1011: Battery technology used in NVRAM and real-time clock (RTC) products from ST |
4 |
249KB |
| AN3060: Applications guide for serial real-time clocks |
1 |
355KB |
USER MANUALS
| 描述 |
版本 |
大小 |
| UM0963 : STEVAL-IFS012V1 demonstration board based on multiple temperature sensors and RTCs |
1 |
2214KB |