ST6203C 8 Bit ST6 Microcontroller with 1x8-bit TIMER
The ST6200C, 01C and 03C devices are low cost members of the ST62xx 8-bit HCMOS family of microcontrollers, which is targeted at low to medium complexity applications. All ST62xx devices are based on a building block approach: a common core is surrounded by a number of on-chip peripherals.
The ST62E00C is the erasable EPROM version of the ST62T00C, T01 and T03C devices, which may be used during the development phase for the ST62T00C, T01 and T03C target devices, as well as the respective ST6200C, 01C and 03C ROM devices.
OTP and EPROM devices are functionally identical. OTP devices offer all the advantages of user programmability at low cost, which make them the ideal choice in a wide range of applications where frequent code changes, multiple code versions or last minute programmability are required.
The ROM based versions offer the same functionality, selecting the options defined in the program mable option bytes of the OTP/EPROM versions in the ROM option list (See Section 12.6 on page 92).
The ST62P00C, P01C and P03C are the Factory Advanced Service Technique ROM (FASTROM) versions of ST62T00C, T01 and T03C OTP devices.
They offer the same functionality as OTP devices, but they do not have to be programmed by the customer (See Section 12 on page 86).
These compact low-cost devices feature a Timer comprising an 8-bit counter with a 7-bit programmable prescaler, an 8-bit A/D Converter with 4 analog inputs (depending on device, see device summary on page 1) and a Digital Watchdog timer, making them well suited for a wide range of automotive, appliance and industrial applications.
For easy reference, all parametric data are located in Section 11 on page 58
技术特性
- Memories
- 1K or 2K bytes Program memory (OTP, EPROM, FASTROM or ROM) with read-out protection
- Clock, Reset and Supply Management
- Low Voltage Detector (LVD) for Safe Reset
- Clock sources: crystal/ceramic resonator or RC network, external clock, backup oscillator (LFAO)
- Oscillator Safeguard (OSG)
- 2 Power Saving Modes: Wait and Stop
- Interrupt Management
- 4 interrupt vectors plus NMI and RESET
- 9 external interrupt lines (on 2 vectors)
- 9 I/O Ports
- 9 multifunctional bidirectional I/O lines
- 4 alternate function lines
- 3 high sink outputs (20mA)
- 2 Timers
- Configurable watchdog timer
- 8-bit timer/counter with a 7-bit prescaler
- Analog Peripheral
- 8-bit ADC with 4 input channels (except on ST6203C)
- Instruction Set
- Development Tools
- Full hardware/software development package
|
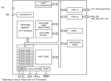
功能框图
 |
ST6203C 订购信息
| 订购型号 |
产品状态 |
美金价格 |
数量 |
封装 |
包装形式 |
温度范围 |
材料声明 |
| ST62T01CB6 |
Active |
|
|
PDIP 16 |
Tube |
-40 °C-85 °C |
ST62T01CB6 |
| ST62T01CN6 |
NRND |
|
|
SSOP 16 |
Tube |
-40 °C-85 °C |
ST62T01CN6 |
| ST62T01CM6 |
Active |
|
|
SO-16W |
Tube |
-40 °C-85 °C |
ST62T01CM6 |
| ST62T01CM3 |
Active |
|
|
SO-16W |
Tube |
-40 °C-125 °C |
ST62T01CM3 |
DATASHEET
| 描述 |
版本 |
大小 |
| ST6203C : 8-bit MCUs with A/D converter, two timers, oscillator safeguard & safe reset |
5 |
3850KB |
APPLICATION NOTES
| 描述 |
版本 |
大小 |
| AN432: Using ST62XX I/O ports safely |
1 |
398KB |
| AN885: ST62 microcontrollers drive home appliance motor technology |
1 |
175KB |
| AN593: ST62 in-circuit programming |
2 |
64KB |
| AN2639: Soldering recommendations and package information for Lead-free ECOPACK® microcontrollers |
2 |
209KB |
| AN1015: Software techniques for improving microcontroller EMC performance |
1 |
105KB |
| AN1447: Software driver for 4-multiplexed LCD with a standard ST62 |
1 |
203KB |
| AN673: Reducing current consumption at 32 kHz with ST62 |
2 |
38KB |
| AN913: PWM generation with the ST62 16-bit auto-reload timer |
1 |
132KB |
| AN590: PWM generation with ST62 auto-reload timer |
1 |
126KB |
| AN671: Prevention of data corruption in ST6 on-chip EEPROM |
2 |
40KB |
| AN592: PLL generation using ST62 auto-reload timer |
2 |
58KB |
| AN591: Input capture with ST62 auto-reload timer |
2 |
53KB |
| AN1050: Input capture with ST62 16-bit auto-reload timer |
1 |
66KB |
| AN863: Improved sensorless control with the ST62 MCU for universal motor |
2 |
232KB |
| AN1448: How to reduce 3rd harmonics with ST6203C motor control software |
1 |
156KB |
| AN1369: Getting started with Raisonance IDE for the ST6 microcontroller |
1 |
2827KB |
| AN417: From nickel-cadmium to nickel-hydride fast battery charger |
2 |
301KB |
| AN420: Expanding A/D resolution of the ST6 A/D converter |
2 |
120KB |
| AN1709: EMC design guide for ST microcontrollers |
1 |
657KB |
| AN1181: Electrostatic discharge sensitivity measurement |
1 |
59KB |
PROGRAMMING MANUALS
| 描述 |
版本 |
大小 |
| PM0001: ST6 family programming manual |
2 |
583KB |
RELEASE NOTES
| 描述 |
版本 |
大小 |
| RN0038: ST6 Windows Epromer release 4.0.3 |
1 |
33KB |
USER MANUALS
| 描述 |
版本 |
大小 |
| UM0353: Refrigerator control evaluation board user manual |
1 |
511KB |
LICENSE AGREEMENTS
SW DEMOS
SW TRAINING ENVIRONMENTS
BOARDS AND TOOLS
| Part Number |
描述 |
| ST6-EMU2 |
ST6 2nd generation of high-end emulators |
| STREALIZER-II |
Graphic Integrated Development Environment (IDE) - draw a schematic of the application functions and output the executable for t |
| ST622XC-KIT |
Starter kit with preprogrammed device to demonstrate ST622X capabilities. |