ST6265C 8B MCU OTP,ROM,FASTROM,EPROM,A/D,TIMER,EEPROM
The ST62T55C, ST62T65C and ST62E65C devices are low cost members of the ST62xx 8-bit HCMOS family of microcontrollers, which is targeted at low to medium complexity applications. All ST62xx devices are based on a building block approach: a common core is surrounded by a number of on-chip peripherals.
The ST62E65C is the erasable EPROM version of the ST62T65C device, which may be used to emulate the ST62T55C and ST62T65C device, as well as the respective ST6255C and ST6265C ROM devices.
OTP and EPROM devices are functionally identical. The ROM based versions offer the same functionality selecting as ROM options the options defined in the programmable option byte of the OTP/EPROM versions.
OTP devices offer all the advantages of user programmability at low cost, which make them the ideal choice in a wide range of applications where frequent code changes, multiple code versions or last minute programmability are required.
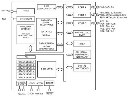
These compact low-cost devices feature a Timer comprising an 8-bit counter and a 7-bit programmable prescaler, an 8-bit Auto-Reload Timer, EEPROM data capability (except ST62T55C), a serial port communication interface, an 8-bit A/D Converter with 13 analog inputs and a Digital Watchdog timer, making them well suited for a wide range of automotive, appliance and industrial applications
技术特性
- 3.0 to 6.0V Supply Operating Range
- 8 MHz Maximum Clock Frequency
- -40 to +125˚C Operating Temperature Range
- Run, Wait and Stop Modes
- 5 Interrupt Vectors
- Look-up Table capability in Program Memory
- Data Storage in Program Memory:
- Data RAM: 128 bytes
- Data EEPROM: 128 bytes (none on ST62T55C)
- User Programmable Options
- 21 I/O pins, fully programmable as:
- Input with pull-up resistor
- Input without pull-up resistor
- Input with interrupt generation
- Open-drain or push-pull output
- 8 I/O lines can sink up to 30mA to drive LEDs or TRIACs directly
- 8-bit Timer / Counter with 7-bit programmable prescaler
- 8-bit Auto-reload Timer with 7-bit programmable prescaler (AR Timer)
- Digital Watchdog
- Oscillator Safe Guard
- Low Voltage Detector for Safe Reset
- 8-bit A/D Converter with 13 analog inputs
- 8-bit Synchronous Peripheral Interface (SPI)
- On-chip Clock oscillator can be driven by Quartz Crystal Ceramic resonator or RC network
- User configurable Power-on Reset
- One external Non-Maskable Interrupt
- ST626x-EMU2 Emulation and Development System (connects to an MS-DOS PC via a parallel port)
|
功能框图
 |
ST6265C 订购信息
| 订购型号 |
产品状态 |
美金价格 |
数量 |
封装 |
包装形式 |
温度范围 |
材料声明 |
| ST62E65CF1 |
NRND |
|
|
CDIP 28 .526 F/S LENS 280 |
Tube |
0 °C-70 °C |
ST62E65CF1 |
| ST62T65CB6 |
Active |
|
|
PDIP 28 .6 |
Tube |
-40 °C-85 °C |
ST62T65CB6 |
| ST62T65CN6 |
NRND |
|
|
SSOP 28 10.2x5.3 |
Tube |
-40 °C-85 °C |
ST62T65CN6 |
| ST62T65CM3 |
Active |
|
|
SO-28 |
Tube |
-40 °C-85 °C |
ST62T65CM3 |
| ST62T65CM6 |
Active |
|
|
SO-28 |
Tube |
-40 °C-85 °C |
ST62T65CM6 |
DATASHEET
| 描述 |
版本 |
大小 |
| ST6265C : DS1502: 8-bit MCUs with ADC, safe reset, auto-reload timer, EEPROM and SPI |
3 |
1227KB |
APPLICATION NOTES
| 描述 |
版本 |
大小 |
| AN432: Using ST62XX I/O ports safely |
1 |
398KB |
| AN885: ST62 microcontrollers drive home appliance motor technology |
1 |
175KB |
| AN593: ST62 in-circuit programming |
2 |
64KB |
| AN2639: Soldering recommendations and package information for Lead-free ECOPACK® microcontrollers |
2 |
209KB |
| AN1015: Software techniques for improving microcontroller EMC performance |
1 |
105KB |
| AN1447: Software driver for 4-multiplexed LCD with a standard ST62 |
1 |
203KB |
| AN673: Reducing current consumption at 32 kHz with ST62 |
2 |
38KB |
| AN913: PWM generation with the ST62 16-bit auto-reload timer |
1 |
132KB |
| AN590: PWM generation with ST62 auto-reload timer |
1 |
126KB |
| AN671: Prevention of data corruption in ST6 on-chip EEPROM |
2 |
40KB |
| AN592: PLL generation using ST62 auto-reload timer |
2 |
58KB |
| AN591: Input capture with ST62 auto-reload timer |
2 |
53KB |
| AN1050: Input capture with ST62 16-bit auto-reload timer |
1 |
66KB |
| AN863: Improved sensorless control with the ST62 MCU for universal motor |
2 |
232KB |
| AN1448: How to reduce 3rd harmonics with ST6265C motor control software |
1 |
156KB |
| AN1369: Getting started with Raisonance IDE for the ST6 microcontroller |
1 |
2827KB |
| AN417: From nickel-cadmium to nickel-hydride fast battery charger |
2 |
301KB |
| AN420: Expanding A/D resolution of the ST6 A/D converter |
2 |
120KB |
| AN1709: EMC design guide for ST microcontrollers |
1 |
657KB |
| AN1181: Electrostatic discharge sensitivity measurement |
1 |
59KB |
PROGRAMMING MANUALS
| 描述 |
版本 |
大小 |
| PM0001: ST6 family programming manual |
2 |
583KB |
RELEASE NOTES
| 描述 |
版本 |
大小 |
| RN0038: ST6 Windows Epromer release 4.0.3 |
1 |
33KB |
USER MANUALS
| 描述 |
版本 |
大小 |
| UM0353: Refrigerator control evaluation board user manual |
1 |
511KB |
LICENSE AGREEMENTS
SW DEMOS
SW TRAINING ENVIRONMENTS
BOARDS AND TOOLS
| Part Number |
描述 |
| ST6-EMU2 |
ST6 2nd generation of high-end emulators |
| STREALIZER-II |
Graphic Integrated Development Environment (IDE) - draw a schematic of the application functions and output the executable for t |
| ST622XC-KIT |
Starter kit with preprogrammed device to demonstrate ST622X capabilities. |