ST72124J2 8-BIT MCU WITH SINGLE VOLTAGE FLASH MEMORY,ADC, 16-BIT TIMERS, SPI, SCI INTERFACES
The ST72334J/N, ST72314J/N and ST72124J devices are members of the ST7 microcontroller family. They can be grouped as follows:
- ST72334J/N devices are designed for mid-range applications with Data EEPROM, ADC, SPI and SCI interface capabilities.
- ST72314J/N devices target the same range of applications but without Data EEPROM.
- ST72124J devices are for applications that do not need Data EEPROM and the ADC peripheral.
All devices are based on a common industry-standard 8-bit core, featuring an enhanced instruction set.
The ST72C334J/N, ST72C314J/N and ST72C124J versions feature single-voltage FLASH memory with byte-by-byte In-Situ Programming (ISP) capability.
Under software control, all devices can be placed in WAIT, SLOW, ACTIVE-HALT or HALT mode, reducing power consumption when the application is in idle or standby state.
The enhanced instruction set and addressing modes of the ST7 offer both power and flexibility to software developers, enabling the design of highly efficient and compact application code. In addition to standard 8-bit data management, all ST7 microcontrollers feature true bit manipulation, 8x8 unsigned multiplication and indirect addressing modes.
For easy reference, all parametric data are located in Section 16 on page 107
技术特性
- Memories
- 8K or 16K Program memory (ROM or single voltage FLASH) with read-out protection and in-situ programming (remote ISP)
- 256 bytes EEPROM Data memory (with read-out protection option in ROM devices)
- Clock, Reset and Supply Management
- Enhanced low voltage supply supervisor with 3 programmable levels
- Clock sources: crystal/ceramic resonator oscillators or RC oscillators, external clock, backup Clock Security System
- 4 Power Saving Modes: Halt, Active-Halt, Wait and Slow
- Beep and clock-out capabilities
- Interrupt Management
- 10 interrupt vectors plus TRAP and RESET
- 15 external interrupt lines (4 vectors)
- 44 or 32 I/O Ports
- 44 or 32 multifunctional bidirectional I/O lines:
- 21 or 19 alternate function lines
- 12 or 8 high sink outputs
- 4 Timers
- Configurable watchdog timer
- Two 16-bit timers with: 2 input captures (only one on timer A), 2 output compares (only one on timer A), External clock input on timer A, PWM and Pulse generator modes
- 2 Communications Interfaces
- SPI synchronous serial interface
- SCI asynchronous serial interface (LIN compatible)
- 1 Analog Peripheral
- 8-bit ADC with 8 input channels (6 only on ST72334Jx, not available on ST72124J2)
- Instruction Set
- 8 x 8 unsigned multiply instruction
- Development Tools
- Full hardware/software development package
|
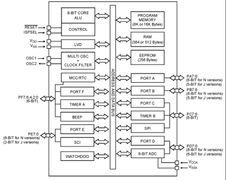
功能框图
 |
ST72124J2 订购信息
| 订购型号 |
产品状态 |
美金价格 |
数量 |
封装 |
包装形式 |
温度范围 |
材料声明 |
| ST72C124J2T6 |
Active |
|
|
LQFP 44 10x10x1.4 |
Tube |
-40 °C-85 °C |
ST72C124J2T6 |
DATASHEET
| 描述 |
版本 |
大小 |
| ST72124J2 : DS1798: 8-bit MCU with single voltage Flash memory, ADC, 16-bit timers, SPI, SCI interfaces |
2 |
2067KB |
APPLICATION NOTES
| 描述 |
版本 |
大小 |
| AN1636: Understanding and minimising ADC conversion errors |
1 |
407KB |
| AN1504: Starting a PWM signal directly at high level using the ST7 16-bit timer |
1 |
171KB |
| AN2639: Soldering recommendations and package information for Lead-free ECOPACK® microcontrollers |
2 |
209KB |
| AN1015: Software techniques for improving microcontroller EMC performance |
1 |
105KB |
| AN1709: EMC design guide for ST microcontrollers |
1 |
657KB |
| AN1181: Electrostatic discharge sensitivity measurement |
1 |
59KB |
| AN2390: A flexible universal battery charger |
1 |
573KB |
DEVICE OPTION LISTS
PROGRAMMING MANUALS
| 描述 |
版本 |
大小 |
| PM0018: ST7 Flash programming quick reference guide |
6 |
153KB |
| PM0002: ST7 family programming manual |
2 |
1433KB |
| PM0011: ST7 family Flash programming reference manual |
2 |
748KB |
RELEASE NOTES
| 描述 |
版本 |
大小 |
| RN0038: ST6 Windows Epromer release 4.0.3 |
1 |
33KB |
USER MANUALS
| 描述 |
版本 |
大小 |
| UM0177: ST7 software library |
4 |
1093KB |
LICENSE AGREEMENTS
TECH TRAINING PRESENTATIONS
FIRMWARE
SW TRAINING ENVIRONMENTS
BOARDS AND TOOLS
| Part Number |
描述 |
| INDART |
In-circuit debugging and in-circuit programming tools for microcontrollers |
| AS-TQFP44 |
TQFP44 (10x10) socket and cover to solder to an application board for connection of ST emulators. |
| STREALIZER-II |
Graphic Integrated Development Environment (IDE) - draw a schematic of the application functions and output the executable for t |
| STX-RLINK |
In-circuit debugger/programmer supporting JTAG and ICC protocols for STM8, ST7, uPSD, STM32, STR7 and STR9 microcontrollers |