ST72321M9
The ST72F321 and ST72321 devices are members of the ST7 microcontroller family designed for mid-range applications.
All devices are based on a common industry-standard 8-bit core, featuring an enhanced instruction set and are available with FLASH or ROM program memory.
Under software control, all devices can be placed in WAIT, SLOW, ACTIVE-HALT or HALT mode, reducing power consumption when the application is in idle or stand-by state.
The enhanced instruction set and addressing modes of the ST7 offer both power and flexibility to software developers, enabling the design of highly efficient and compact application code. In addition to standard 8-bit data management, all ST7 microcontrollers feature true bit manipulation, 8x8 unsigned multiplication and indirect addressing modes
技术特性
- Memories
- 32K to 60K dual voltage High Density Flash (HDFlash) or ROM with read-out protection capability. In-Application Programming and In-Circuit Programming for HDFlash devices
- HDFlash endurance: 100 cycles, data retention: 20 years at 55˚C
- Clock, Reset And Supply Management
- Enhanced low voltage supervisor (LVD) for main supply and auxiliary voltage detector(AVD) with interrupt capability
- Clock sources: crystal/ceramic resonator oscillators, internal RC oscillator and bypass for external clock
- PLL for 2x frequency multiplication
- Four power saving modes: Halt, Active-Halt,Wait and Slow
- Interrupt Management
- Nested interrupt controller
- 14 interrupt vectors plus TRAP and RESET
- Top Level Interrupt (TLI) pin
- 15 external interrupt lines (on 4 vectors)
- Up to 64 I/O Ports
- 64 multifunctional bidirectional I/O lines
- 34 alternate function lines
- 5 Timers
- Main Clock Controller with: Real time base, Beep and Clock-out capabilities
- Configurable watchdog timer
- Two 16-bit timers with: 2 input captures, 2 output compares, external clock input on one timer, PWM and pulse generator modes
- 8-bit PWM Auto-Reload timer with: 2 input captures, 4 PWM outputs, output compare and time base interrupt, external clock with event detector
- 4 Communications Interfaces
- SPI synchronous serial interface
- SCI asynchronous serial interface
- I²C multimaster interface (SMbus V1.1 compliant)
- Analog periperal (low current coupling)
- 10-bit ADC with 16 input robust input ports
- Instruction Set
- 8 x 8 Unsigned Multiply Instruction
- Development Tools
- Full hardware/software development package
- In-Circuit Testing capability
|
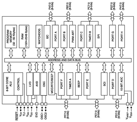
功能框图
 |
ST72321M9 订购信息
| 订购型号 |
产品状态 |
美金价格 |
数量 |
封装 |
包装形式 |
温度范围 |
材料声明 |
| ST72F321M9T3 |
Active |
|
|
LQFP 80 14x14x1.4 |
Tray |
-40 °C-125 °C |
ST72F321M9T3 |
| ST72F321M9T6 |
Active |
|
|
LQFP 80 14x14x1.4 |
Tray |
-40 °C-85 °C |
ST72F321M9T6 |
DATASHEET
| 描述 |
版本 |
大小 |
| ST72321M9 : DS4915: 80-pin 8-bit MCU with 32 to 60 Kbytes Flash, ADC, five timers, SPI, SCI, I²C interface |
2 |
2508KB |
APPLICATION NOTES
| 描述 |
版本 |
大小 |
| AN1636: Understanding and minimising ADC conversion errors |
1 |
407KB |
| AN1504: Starting a PWM signal directly at high level using the ST7 16-bit timer |
1 |
171KB |
| AN2639: Soldering recommendations and package information for Lead-free ECOPACK® microcontrollers |
2 |
209KB |
| AN1015: Software techniques for improving microcontroller EMC performance |
1 |
105KB |
| AN1709: EMC design guide for ST microcontrollers |
1 |
657KB |
| AN1181: Electrostatic discharge sensitivity measurement |
1 |
59KB |
| AN2390: A flexible universal battery charger |
1 |
573KB |
DEVICE OPTION LISTS
PROGRAMMING MANUALS
| 描述 |
版本 |
大小 |
| PM0018: ST7 Flash programming quick reference guide |
6 |
153KB |
| PM0002: ST7 family programming manual |
2 |
1433KB |
| PM0011: ST7 family Flash programming reference manual |
2 |
748KB |
RELEASE NOTES
| 描述 |
版本 |
大小 |
| RN0038: ST6 Windows Epromer release 4.0.3 |
1 |
33KB |
USER MANUALS
| 描述 |
版本 |
大小 |
| UM0133: ST7MDT20J-EMU3 Probe User Guide |
2 |
877KB |
| UM0177: ST7 software library |
4 |
1093KB |
LICENSE AGREEMENTS
TECH TRAINING PRESENTATIONS
FIRMWARE
SW TRAINING ENVIRONMENTS
BOARDS AND TOOLS
| Part Number |
描述 |
| ST7MDT20J-TEB |
Target emulation board to adapt any ST7-EMU3 series emulator to emulate a specific ST7 or ST7 sub-family. Includes all package s |
| ST7-SocketBoard |
Programming socket board |
| INDART |
In-circuit debugging and in-circuit programming tools for microcontrollers |
| ST7-EMU3 |
3rd generation high-end emulator ST7-EMU3 |
| ST7MDT20-TEB/DVP |
Target emulation board to adapt any ST7-DVP3 series emulator to emulate a specific ST7 or ST7 sub-family. Package specific conne |
| AC7MDT20-T44 |
TQFP44 (10x10) flex adapter for ST7MDT20J-EMU3 |
| AS-TQFP44 |
TQFP44 (10x10) socket and cover to solder to an application board for connection of ST emulators. |
| STVD |
ST Visual develop IDE for developing ST7 and STM8 applications |
| STX-RLINK |
In-circuit debugger/programmer supporting JTAG and ICC protocols for STM8, ST7, uPSD, STM32, STR7 and STR9 microcontrollers |
| ST7MDT20-T44/DVP |
TQFP44 connection kit for ST7MDT20-DVP3 |
| ST7-DVP3 |
ST7-DVP3 series emulator |
| ST7232X-EVAL |
Evaluation board for ST72F321/521 with ICC connector for programming capability |