ST72324BK2 5V RANGE 8-BIT MCU WITH 8 TO 32K FLASH/ROM, 10-BIT ADC, 4 TIMERS, SPI, SCI INTERFACE
The ST72324Bxx devices are members of the ST7 microcontroller family designed for midrange applications running from 3.8 to 5.5 V. Different package options offer up to 32 I/O pins.
All devices are based on a common industry-standard 8-bit core, featuring an enhanced instruction set and are available with Flash or ROM program memory. The ST7 family architecture offers both power and flexibility to software developers, enabling the design of highly efficient and compact application code.
The on-chip peripherals include an A/D converter, two general purpose timers, an SPI interface and an SCI interface. For power economy, the microcontroller can switch dynamically into, Slow, Wait, Active-halt or Halt mode when the application is in idle or stand-by state.
Typical applications include consumer, home, office and industrial products
技术特性
- Memories
- 8 to 32 Kbyte dual voltage High Density Flash (HDFlash) or ROM with readout protection capability. In-application programming and Incircuit programming for HDFlash devices
- HDFlash endurance: 1 kcycle at 55 °C, data retention 40 years at 85 °C
- Clock, reset and supply management
- Enhanced low voltage supervisor (LVD) with programmable reset thresholds and auxiliary voltage detector (AVD) with interrupt capability
- Clock sources: crystal/ceramic resonator oscillators, int. RC osc. and ext. clock input
- PLL for 2x frequency multiplication
- 4 power saving modes: Slow, Wait, Active-halt, and Halt
- Interrupt management
- Nested interrupt controller. 10 interrupt vectors plus TRAP and RESET. 9/6 ext. interrupt lines (on 4 vectors)
- Up to 32 I/O ports
- 32/24 multifunctional bidirectional I/Os, 22/17 alternate function lines, 12/10 high sink outputs
- 4 timers
- Main clock controller with real-time base, Beep and clock-out capabilities
- Configurable watchdog timer
- 16-bit Timer A with 1 input capture, 1 output compare, ext. clock input, PWM and pulse generator modes
- 16-bit Timer B with 2 input captures, 2 output compares, PWM and pulse generator modes
- 2 communication interfaces
- SPI synchronous serial interface
- SCI asynchronous serial interface
- 1 analog peripheral (low current coupling)
- 10-bit ADC with up to 12 input ports
- Development tools
- In-circuit testing capability
|
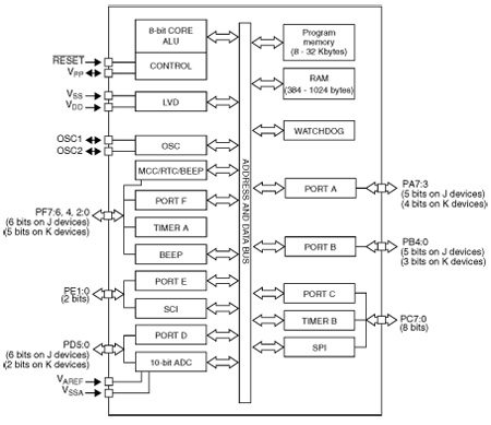
功能框图
 |
ST72324BK2 订购信息
| 订购型号 |
产品状态 |
美金价格 |
数量 |
封装 |
包装形式 |
温度范围 |
材料声明 |
| ST72F324BK2T3 |
Active |
|
|
LQFP 32 7x7x1.4 |
Tray |
-40 °C-125 °C |
ST72F324BK2T3 |
| ST72F324BK2T6 |
Active |
|
|
LQFP 32 7x7x1.4 |
Tray |
-40 °C-85 °C |
ST72F324BK2T6 |
DATASHEET
| 描述 |
版本 |
大小 |
| ST72324BK2 : DS4419: 8-bit MCU, 3.8 to 5.5 V operating range with 8 to 32 Kbyte Flash/ROM, 10-bit ADC, 4 timers, SPI, SCI |
7 |
2675KB |
APPLICATION NOTES
| 描述 |
版本 |
大小 |
| AN1636: Understanding and minimising ADC conversion errors |
1 |
407KB |
| AN1504: Starting a PWM signal directly at high level using the ST7 16-bit timer |
1 |
171KB |
| AN2639: Soldering recommendations and package information for Lead-free ECOPACK® microcontrollers |
2 |
209KB |
| AN1015: Software techniques for improving microcontroller EMC performance |
1 |
105KB |
| AN1709: EMC design guide for ST microcontrollers |
1 |
657KB |
| AN1181: Electrostatic discharge sensitivity measurement |
1 |
59KB |
| AN2390: A flexible universal battery charger |
1 |
573KB |
DEVICE OPTION LISTS
PROGRAMMING MANUALS
| 描述 |
版本 |
大小 |
| PM0018: ST7 Flash programming quick reference guide |
6 |
153KB |
| PM0002: ST7 family programming manual |
2 |
1433KB |
| PM0012: ST7 family ICC protocol reference manual |
3 |
893KB |
| PM0011: ST7 family Flash programming reference manual |
2 |
748KB |
RELEASE NOTES
| 描述 |
版本 |
大小 |
| RN0038: ST6 Windows Epromer release 4.0.3 |
1 |
33KB |
USER MANUALS
| 描述 |
版本 |
大小 |
| UM0133: ST7MDT20J-EMU3 Probe User Guide |
2 |
877KB |
| UM0177: ST7 software library |
4 |
1093KB |
LICENSE AGREEMENTS
TECH TRAINING PRESENTATIONS
FIRMWARE
SW TRAINING ENVIRONMENTS
BOARDS AND TOOLS
| Part Number |
描述 |
| ST7MDT20J-TEB |
Target emulation board to adapt any ST7-EMU3 series emulator to emulate a specific ST7 or ST7 sub-family. Includes all package s |
| ST7-SocketBoard |
Programming socket board |
| INDART |
In-circuit debugging and in-circuit programming tools for microcontrollers |
| ST7-EMU3 |
3rd generation high-end emulator ST7-EMU3 |
| ST7MDT20-TEB/DVP |
Target emulation board to adapt any ST7-DVP3 series emulator to emulate a specific ST7 or ST7 sub-family. Package specific conne |
| AC7MDT20-T44 |
TQFP44 (10x10) flex adapter for ST7MDT20J-EMU3 |
| AS-TQFP44 |
TQFP44 (10x10) socket and cover to solder to an application board for connection of ST emulators. |
| STVD |
ST Visual develop IDE for developing ST7 and STM8 applications |
| STX-RLINK |
In-circuit debugger/programmer supporting JTAG and ICC protocols for STM8, ST7, uPSD, STM32, STR7 and STR9 microcontrollers |
| ST7MDT20-T44/DVP |
TQFP44 connection kit for ST7MDT20-DVP3 |
| ST7-DVP3 |
ST7-DVP3 series emulator |
| ST7232X-EVAL |
Evaluation board for ST72F321/521 with ICC connector for programming capability |