ST72325K4 8-BIT MCU WITH 16 TO 60K FLASH/ROM, ADC, CSS, FIVE TIMERS, SPI, SCI, I²C INTERFACE
The ST72F325 Flash and ST72325 ROM devices are members of the ST7 microcontroller family designed for mid-range applications.
They are derivatives of the ST72321 and ST72324 devices, with enhanced characteristics and robust Clock Security System.
All devices are based on a common industrystandard 8-bit core, featuring an enhanced instruction set and are available with Flash or ROM program memory. The ST7 family architecture offers both power and flexibility to software developers, enabling the design of highly efficient and compact application code.
The on-chip peripherals include an A/D converter, a PWM Autoreload timer, 2 general purpose timers, I²C bus, SPI interface and an SCI interface.
For power economy, microcontroller can switch dynamically into WAIT, SLOW, ACTIVE-HALT or HALT mode when the application is in idle or stand-by state.
Typical applications are consumer, home, office and industrial products.
The devices feature an on-chip Debug Module(DM) to support in-circuit debugging (ICD). For adescription of the DM registers, refer to the ST7ICC Protocol Reference Manual.Main Differences with ST72321:
- LQFP48 and LQFP32 packages
- Internal RC, Readout protection, LVD and PLLwithout limitations
- Negative current injection not allowed on I/O portPB0 (instead of PC6).
- External interrupts have Exit from Active Haltmode capability
技术特性
- Memories
- 16K to 60K dual voltage High Density Flash (HDFlash) or up to 32K ROM with read-outprotection capability. In-Application Programming and In-Circuit Programming for HDFlash devices
- HDFlash endurance: 100 cycles, data retention: 40 years at 85°C
- Clock, reset and supply management
- Enhanced low voltage supervisor (LVD) for main supply and auxiliary voltage detector(AVD) with interrupt capability
- Clock sources: crystal/ceramic resonator oscillators, internal RC oscillator and bypass for external clock
- PLL for 2x frequency multiplication
- Four Power Saving Modes: Halt, Active-Halt,Wait and Slow
- Interrupt management
- Nested interrupt controller
- 14 interrupt vectors plus TRAP and RESET
- Top Level Interrupt (TLI) pin on 64-pin devices
- 9/6 external interrupt lines (on 4 vectors)
- Up to 48 I/O ports
- 48/36/32/24 multifunctional bidirectional I/O lines
- 34/26/22/17 alternate function lines
- 16/13/12/10 high sink outputs
- 5 timers
- Main Clock Controller with: Real time base, Beep and Clock-out capabilities
- Configurable watchdog timer
- Two 16-bit timers with: 2 input captures, 2 output compares, external clock input on one timer, PWM and pulse generator modes
- 8-bit PWM Auto-reload timer with: 2 input captures, 4 PWM outputs, output compare and time base interrupt, external clock with event detector
- 3 Communications interfaces
- SPI synchronous serial interface
- SCI asynchronous serial interface
- I²C multimaster interface
- 1 Analog peripheral (low current coupling)
- 10-bit ADC with up to 16 robust input ports
- Instruction set
- 8 x 8 Unsigned Multiply Instruction
- Development tools
- Full hardware/software development package
|
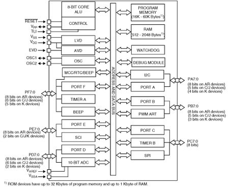
功能框图
 |
ST72325K4 订购信息
| 订购型号 |
产品状态 |
美金价格 |
数量 |
封装 |
包装形式 |
温度范围 |
材料声明 |
| ST72F325K4T3 |
Active |
|
|
LQFP 32 7x7x1.4 |
Tray |
-40 °C-125 °C |
ST72F325K4T3 |
| ST72F325K4T6 |
Active |
|
|
LQFP 32 7x7x1.4 |
Tray |
-40 °C-85 °C |
ST72F325K4T6 |
DATASHEET
| 描述 |
版本 |
大小 |
| ST72325K4 : DS4430: 8-bit MCU with 16 to 60K Flash/ROM, ADC, CSS, 5 timers, SPI, SCI, I²C interface |
4 |
3055KB |
APPLICATION NOTES
| 描述 |
版本 |
大小 |
| AN1446: Using the ST72521 emulator to debug a ST72324 target application |
1 |
16KB |
| AN1636: Understanding and minimising ADC conversion errors |
1 |
407KB |
| AN1504: Starting a PWM signal directly at high level using the ST7 16-bit timer |
1 |
171KB |
| AN1752: ST72324 quick reference note |
1 |
114KB |
| AN2639: Soldering recommendations and package information for Lead-free ECOPACK® microcontrollers |
2 |
209KB |
| AN1015: Software techniques for improving microcontroller EMC performance |
1 |
105KB |
| AN1131: Migrating applications from ST72511/311/314/124 to ST72521/321/324 |
1 |
211KB |
| AN1709: EMC design guide for ST microcontrollers |
1 |
657KB |
| AN1181: Electrostatic discharge sensitivity measurement |
1 |
59KB |
| AN2390: A flexible universal battery charger |
1 |
573KB |
DEVICE OPTION LISTS
PROGRAMMING MANUALS
| 描述 |
版本 |
大小 |
| PM0018: ST7 Flash programming quick reference guide |
6 |
153KB |
| PM0002: ST7 family programming manual |
2 |
1433KB |
| PM0012: ST7 family ICC protocol reference manual |
3 |
893KB |
| PM0011: ST7 family Flash programming reference manual |
2 |
748KB |
RELEASE NOTES
| 描述 |
版本 |
大小 |
| RN0038: ST6 Windows Epromer release 4.0.3 |
1 |
33KB |
USER MANUALS
| 描述 |
版本 |
大小 |
| UM0133: ST7MDT20J-EMU3 Probe User Guide |
2 |
877KB |
| UM0177: ST7 software library |
4 |
1093KB |
LICENSE AGREEMENTS
TECH TRAINING PRESENTATIONS
FIRMWARE
SW TRAINING ENVIRONMENTS
BOARDS AND TOOLS
| Part Number |
描述 |
| ST7MDT20J-TEB |
Target emulation board to adapt any ST7-EMU3 series emulator to emulate a specific ST7 or ST7 sub-family. Includes all package s |
| ST7-SocketBoard |
Programming socket board |
| INDART |
In-circuit debugging and in-circuit programming tools for microcontrollers |
| ST7-EMU3 |
3rd generation high-end emulator ST7-EMU3 |
| ST7MDT20-TEB/DVP |
Target emulation board to adapt any ST7-DVP3 series emulator to emulate a specific ST7 or ST7 sub-family. Package specific conne |
| AC7MDT20-T44 |
TQFP44 (10x10) flex adapter for ST7MDT20J-EMU3 |
| AS-TQFP44 |
TQFP44 (10x10) socket and cover to solder to an application board for connection of ST emulators. |
| STVD |
ST Visual develop IDE for developing ST7 and STM8 applications |
| STX-RLINK |
In-circuit debugger/programmer supporting JTAG and ICC protocols for STM8, ST7, uPSD, STM32, STR7 and STR9 microcontrollers |
| ST7MDT20-T44/DVP |
TQFP44 connection kit for ST7MDT20-DVP3 |
| ST7-DVP3 |
ST7-DVP3 series emulator |
| ST7232X-EVAL |
Evaluation board for ST72F321/521 with ICC connector for programming capability |