ST72361K6 8-bit MCU
The ST72361 devices are members of the ST7 microcontroller family designed for mid-range applications with LIN (Local Interconnect Network) interface.
All devices are based on a common industry-standard 8-bit core, featuring an enhanced instruction set and are available with Flash or ROM program memory. The ST7 family architecture offers both power and flexibility to software developers, enabling the design of highly efficient and compact application code.
The on-chip peripherals include an A/D converter, a PWM Autoreload timer, 2 general purpose timers, 2 asynchronous serial interfaces, and an SPI interface.
For power economy, microcontroller can switch dynamically into WAIT, SLOW, Active-Halt, Auto Wake-up from HALT (AWU) or HALT mode when the application is in idle or stand-by state.
Typical applications are consumer, home, office and industrial products
技术特性
- Memories
- 16K to 60K High Density Flash (HDFlash) or ROM with read-out protection capability. In-Application Programming and In-Circuit Programming for HDFlash devices
- HDFlash endurance: 100 cycles, data retention 40 years at 85°C
- Clock, Reset and Supply Management
- Low power crystal/ceramic resonator oscillators and bypass for external clock
- PLL for 2x frequency multiplication
- 5 power saving modes: Halt, Auto Wake Up From Halt, Active Halt, Wait and Slow
- Interrupt Management
- Nested interrupt controller
- 14 interrupt vectors plus TRAP and RESET
- TLI top level interrupt (on 64-pin devices)
- Up to 21 external interrupt lines (on 4 vectors)
- Up to 48 I/O Ports
- Up to 48 multifunctional bidirectional I/O lines
- Up to 36 alternate function lines
- Up to 6 high sink outputs
- 5 Timers
- 16-bit timer with 2 input captures, 2 output compares, external clock input, PWM and pulse generator modes
- 8-bit timer with 1 or 2 input captures, 1 or 2 output compares, PWM and pulse generator modes
- 8-bit PWM auto-reload timer with 1 or 2 input captures, 2 or 4 independent PWM output channels, output compare and time base interrupt, external clock with event detector
- Main clock controller with real-time base and clock output
- Up to 3 Communications Interfaces
- SPI synchronous serial interface
- Master/slave LINSCI™ asynchronous serial interface
- Master-only LINSCI™ asynchronous serial interface
- Analog Peripheral (Low Current Coupling)
- 10-bit A/D converter with up to 16 inputs
- Up to 9 robust ports (low current coupling)
- Instruction Set
- 8 x 8 unsigned multiply instruction
- Development Tools
- Full hardware/software development package
|
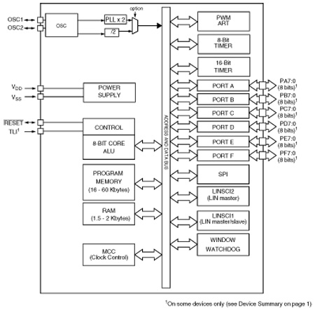
功能框图
 |
ST72361K6 订购信息
| 订购型号 |
产品状态 |
美金价格 |
数量 |
封装 |
包装形式 |
温度范围 |
材料声明 |
| ST72F361K6T6 |
NRND |
|
|
LQFP 32 7x7x1.4 |
Tray |
-40 °C-85 °C |
ST72F361K6T6 |
DATASHEET
| 描述 |
版本 |
大小 |
| ST72361K6 : DS4431: 8-bit MCU with Flash or ROM, 10-bit ADC, 5 timers, SPI, 2x LINSCI™ |
4 |
7555KB |
APPLICATION NOTES
| 描述 |
版本 |
大小 |
| AN1636: Understanding and minimising ADC conversion errors |
1 |
407KB |
| AN1504: Starting a PWM signal directly at high level using the ST7 16-bit timer |
1 |
171KB |
| AN1752: ST72324 quick reference note |
1 |
114KB |
| AN2639: Soldering recommendations and package information for Lead-free ECOPACK® microcontrollers |
2 |
209KB |
| AN1015: Software techniques for improving microcontroller EMC performance |
1 |
105KB |
| AN1709: EMC design guide for ST microcontrollers |
1 |
657KB |
| AN1181: Electrostatic discharge sensitivity measurement |
1 |
59KB |
| AN2390: A flexible universal battery charger |
1 |
573KB |
DEVICE OPTION LISTS
PROGRAMMING MANUALS
| 描述 |
版本 |
大小 |
| PM0018: ST7 Flash programming quick reference guide |
6 |
153KB |
| PM0002: ST7 family programming manual |
2 |
1433KB |
| PM0012: ST7 family ICC protocol reference manual |
3 |
893KB |
| PM0011: ST7 family Flash programming reference manual |
2 |
748KB |
RELEASE NOTES
| 描述 |
版本 |
大小 |
| RN0038: ST6 Windows Epromer release 4.0.3 |
1 |
33KB |
USER MANUALS
| 描述 |
版本 |
大小 |
| UM0133: ST7MDT20J-EMU3 Probe User Guide |
2 |
877KB |
| UM0177: ST7 software library |
4 |
1093KB |
LICENSE AGREEMENTS
TECH TRAINING PRESENTATIONS
FIRMWARE
SW TRAINING ENVIRONMENTS
BOARDS AND TOOLS
| Part Number |
描述 |
| ST7-SK/RAIS |
Raisonance REva starter kit for ST7 MCUs, includes RLink |
| ST7-SocketBoard |
Programming socket board |
| AS-TQFP44 |
TQFP44 (10x10) socket and cover to solder to an application board for connection of ST emulators. |
| STVD |
ST Visual develop IDE for developing ST7 and STM8 applications |
| STREALIZER-II |
Graphic Integrated Development Environment (IDE) - draw a schematic of the application functions and output the executable for t |
| STX-RLINK |
In-circuit debugger/programmer supporting JTAG and ICC protocols for STM8, ST7, uPSD, STM32, STR7 and STR9 microcontrollers |