ST7260E1 LOW SPEED USB 8-BIT MCU FAMILY WITH UP TO 8K FLASH/ROM AND SERIAL COMMUNICATION INTERFACE (SCI)
The ST7260xx devices are members of the ST7 microcontroller family designed for USB applications running from 4.0 to 5.5 V. Different package options offer up to 19 I/O pins.
All devices are based on a common industry-standard 8-bit core, featuring an enhanced instruction set and are available with Flash program memory. The ST7 family architecture offers both power and flexibility to software developers, enabling the design of highly efficient and compact application code.
The on-chip peripherals include a low speed USB interface and an asynchronous SCI interface. For power economy, the microcontroller can switch dynamically into, Slow, Wait, Active Halt or Halt mode when the application is in idle or stand-by state.
Typical applications include consumer, home, office and industrial products
技术特性
- Memories
- 4 or 8 Kbytes program memory: high density Flash (HDFlash), or FastROM with readout and write protection
- In-application programming (IAP) and incircuit programming (ICP)
- 384 bytes RAM memory (128-byte stack)
- Clock, reset and supply management
- Run, Wait, Slow and Halt CPU modes
- Optional low voltage detector (LVD)
- USB (Universal Serial Bus) interface
- DMA for low speed applications compliant with USB 1.5 Mbs (version 2.0) and HID specifications (version 1.0)
- Integrated 3.3 V voltage regulator and transceivers
- Supports USB DFU class specification
- Suspend and Resume operations
- 3 Endpoints with programmable In/Out configuration
- Up to 19 I/O ports
- Up to 8 high sink I/Os (10 mA at 1.3 V)
- 2 very high sink true open drain I/Os (25 mA at 1.5 V)
- Up to 8 lines with interrupt capability
- 2 timers
- 16-bit Timer with 2 Input Captures, 2 Output Compares, PWM output and clock input
- Communications interface
- Asynchronous serial communications interface (SCI)
- Instruction set
- 8 x 8 unsigned multiply instruction
- Development tools
- Versatile development tools including , software library, hardware emulator, programming boards, HID and DFU software layer
|
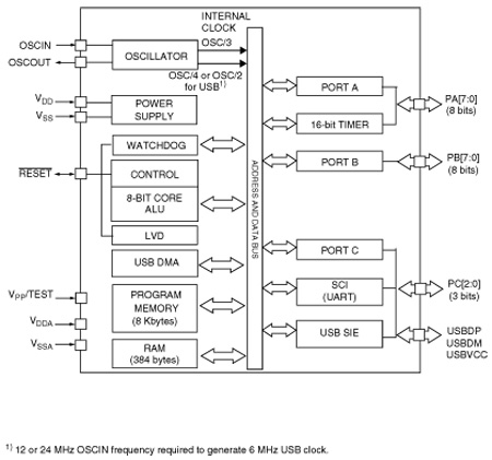
功能框图
 |
ST7260E1 订购信息
| 订购型号 |
产品状态 |
美金价格 |
数量 |
封装 |
包装形式 |
温度范围 |
材料声明 |
| ST72F60E1M1 |
Active |
|
|
SO-24 |
Tube |
0 °C-70 °C |
ST72F60E1M1 |
DATASHEET
| 描述 |
版本 |
大小 |
| ST7260E1 : DS4628: Low speed USB 8-bit MCU family with up to 8K Flash and serial communications interface |
3 |
1818KB |
APPLICATION NOTES
| 描述 |
版本 |
大小 |
| AN1603: Using the ST7 USB device firmware upgrade development kit (DFU-DK) |
1 |
95KB |
| AN1636: Understanding and minimising ADC conversion errors |
1 |
407KB |
| AN1504: Starting a PWM signal directly at high level using the ST7 16-bit timer |
1 |
171KB |
| AN2639: Soldering recommendations and package information for Lead-free ECOPACK® microcontrollers |
2 |
209KB |
| AN1015: Software techniques for improving microcontroller EMC performance |
1 |
105KB |
| AN1709: EMC design guide for ST microcontrollers |
1 |
657KB |
| AN1181: Electrostatic discharge sensitivity measurement |
1 |
59KB |
| AN2390: A flexible universal battery charger |
1 |
573KB |
PROGRAMMING MANUALS
| 描述 |
版本 |
大小 |
| PM0018: ST7 Flash programming quick reference guide |
6 |
153KB |
| PM0002: ST7 family programming manual |
2 |
1433KB |
| PM0012: ST7 family ICC protocol reference manual |
3 |
893KB |
| PM0011: ST7 family Flash programming reference manual |
2 |
748KB |
USER MANUALS
| 描述 |
版本 |
大小 |
| UM0250: Getting started with the ST7 low-speed USB/RS232 evaluation kit |
1 |
239KB |
| UM0177: ST7 software library |
4 |
1093KB |
LICENSE AGREEMENTS
TECH TRAINING PRESENTATIONS
FIRMWARE
SW DEMOS
SW DRIVERS
CONFIGURATION UTILITIES
BOARDS AND TOOLS
| Part Number |
描述 |
| ST7-SK/RAIS |
Raisonance REva starter kit for ST7 MCUs, includes RLink |
| INDART |
In-circuit debugging and in-circuit programming tools for microcontrollers |
| ST7-EPB |
ST7 One position programming board, |
| STVD |
ST Visual develop IDE for developing ST7 and STM8 applications |
| STX-RLINK |
In-circuit debugger/programmer supporting JTAG and ICC protocols for STM8, ST7, uPSD, STM32, STR7 and STR9 microcontrollers |