ST72623F2 LOW SPEED USB 8-BIT MCU WITH 3 ENDPOINTS, FLASH ORROM MEMORY, LVD, WDG, 10-BIT ADC, 2 TIMERS, SCI, SPI
The ST7262 and ST72F62 devices are members of the ST7 microcontroller family designed for USB applications.
All devices are based on a common industry-standard 8-bit core, featuring an enhanced instruction set.
The ST7262 devices are ROM versions.
The ST72F62 versions feature dual-voltage FLASH memory with FLASH Programming capability.
Under software control, all devicescan be placed in WAIT, SLOW, or HALT mode, reducing power consumption when the application is in idle or standby state.
The enhanced instruction set and addressing modes of the ST7 offer both power and flexibility to software developers, enabling the design of highly efficient and compact application code. In addition to standard 8-bit data management, all ST7 microcontrollers feature true bit manipulation, 8x8 unsigned multiplication and indirect addressing modes
技术特性
- Memories
- 8K or 16K Program memory (ROM or Dual voltage FLASH) with read-write protection
- In-Application and In-Circuit Programming for FLASH versions
- 384 to 768 bytes RAM (128-byte stack)
- Clock, Reset and Supply Management
- Enhanced Reset System (Power On Reset)
- Low Voltage Detector (LVD)
- 6 or 12 MHz Oscillator (8, 4, 2, 1 MHz internal frequencies)
- USB (Universal Serial Bus) Interface
- DMA for low speed applications compliant with USB specification (version 2.0):
- Integrated 3.3V voltage regulator and transceivers
- Suspend and Resume operations
- Up to 31 I/O Ports
- Up to 31 multifunctional bidirectional I/O lines
- Up to 12 External interrupts (3 vectors)
- 13 alternate function lines
- 2 true open drain pins (N buffer 8 mA@0.4 V)
- 3 Timers
- Configurable watchdog timer (8 to 500 ms timeout)
- 8-bit Auto Reload Timer (ART) with 2 Input Captures, 2 PWM outputs and External Clock
- 8-bit Time Base Unit (TBU) for generating periodic interrupts cascadable with ART
- Analog Peripheral
- 10-bit A/D Converter with up to 8 input pins.
- 2 Communications Interfaces
- Asynchronous Serial Communication interface
- Synchronous Serial Peripheral Interface
- Instruction Set
- 8 x 8 unsigned multiply instruction
- Nested interrupts
- Development Tools
- Full hardware/software development package
|
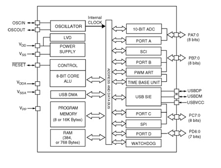
功能框图
 |
ST72623F2 订购信息
| 订购型号 |
产品状态 |
美金价格 |
数量 |
封装 |
包装形式 |
温度范围 |
材料声明 |
| ST72F623F2M1 |
Active |
|
|
SO-20 |
Tube |
0 °C-70 °C |
ST72F623F2M1 |
DATASHEET
| 描述 |
版本 |
大小 |
| ST72623F2 : DS1882: Low speed USB 8-BIT MCU with 3 endpoints, Flash or ROM memory, LVD, WDG, 10-bit ADC, 2 timers, SCI, SPI |
5 |
1225KB |
APPLICATION NOTES
| 描述 |
版本 |
大小 |
| AN1709: EMC design guide for ST microcontrollers |
1 |
657KB |
| AN1636: Understanding and minimising ADC conversion errors |
1 |
407KB |
| AN1504: Starting a PWM signal directly at high level using the ST7 16-bit timer |
1 |
171KB |
| AN2639: Soldering recommendations and package information for Lead-free ECOPACK® microcontrollers |
2 |
209KB |
| AN1015: Software techniques for improving microcontroller EMC performance |
1 |
105KB |
| AN1709: EMC design guide for ST microcontrollers |
1 |
657KB |
| AN1181: Electrostatic discharge sensitivity measurement |
1 |
59KB |
| AN2390: A flexible universal battery charger |
1 |
573KB |
DEVICE OPTION LISTS
PROGRAMMING MANUALS
| 描述 |
版本 |
大小 |
| PM0018: ST7 Flash programming quick reference guide |
6 |
153KB |
| PM0002: ST7 family programming manual |
2 |
1433KB |
| PM0012: ST7 family ICC protocol reference manual |
3 |
893KB |
| PM0011: ST7 family Flash programming reference manual |
2 |
748KB |
USER MANUALS
| 描述 |
版本 |
大小 |
| UM0242: USB Power switch demonstrator kit |
1 |
346KB |
| UM0068: ST7MDTULS-EVAL ST7 USB low-speed evaluation board |
2 |
526KB |
| UM0250: Getting started with the ST7 low-speed USB/RS232 evaluation kit |
1 |
239KB |
| UM0352: ST7 family USB low-speed evaluation board getting started |
4 |
657KB |
LICENSE AGREEMENTS
TECH TRAINING PRESENTATIONS
FIRMWARE
SW DEMOS
SW DRIVERS
CONFIGURATION UTILITIES
BOARDS AND TOOLS
| Part Number |
描述 |
| AS-TQFP44 |
TQFP44 (10x10) socket and cover to solder to an application board for connection of ST emulators. |
| INDART |
In-circuit debugging and in-circuit programming tools for microcontrollers |
| ST7-EPB |
ST7 One position programming board, |
| STVD |
ST Visual develop IDE for developing ST7 and STM8 applications |
| STX-RLINK |
In-circuit debugger/programmer supporting JTAG and ICC protocols for STM8, ST7, uPSD, STM32, STR7 and STR9 microcontrollers |