ST7590 OFDM Narrowband Power Line Networking System on Chip
ST7590 is the first complete Narrowband OFDM power line communication system-on-chip made using a multi-power technology with state of the art VLSI CMOS lithography. The ST7590 is based on dual core architecture to assure outstanding communication performance with a very high level of flexibility and programmability for either open standard or fully customized implementations.
技术特性
- Fully integrated narrow-band power line networking system-on-chip
- High performing DSP engine with embedded turn-key firmware for Orthogonal frequency division multiplexing (OFDM) modulation, featuring:
- 96 sub-carriers in CENELEC A band
- BDPSK, QDPSK, 8DPSK programmable modulations
- Programmable bit rate up to 128 kbps
- Convolutional coding and Viterbi decoding
- Signal to noise ratio and channel quality estimation
- On chip peripherals:
- Host controller UART/SPI interface
- I²C/SPI external data memory interface
- High speed SRAM controller for optional external SRAM program code execution
- On chip 128 bit AES encryption HW block
- Fully integrated analog front end:
- High sensitivity receiver
- High linearity transmitter with intelligent gain control
- Fully integrated power line driver
- Up to 1 Arms, 14 Vpp single ended
- Configurable active filtering topology
- Embedded temperature sensor
- 3.3 V or 5 V I/O digital I/O supply
- Integrated 5 V and 1.8 V linear regulators for AFE and digital core supply
- 8 V to 18 V line driver power supply
- Suitable for applications compliant with EN50065 and FCC part 15 specifications
- -40 °C to +85 °C temperature range
- QFN48 7x7 (ST7590) and TQFP 100 14x14 (ST7590T) exposed pad package options
|
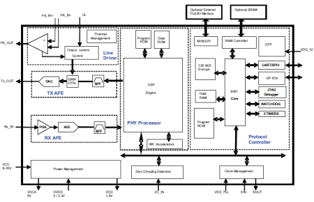
功能框图
 |
ST7590 订购信息
| 订购型号 |
产品状态 |
美金价格 |
数量 |
封装 |
包装形式 |
温度范围 |
材料声明 |
| ST7590T |
Active |
|
|
TQFP 100 14x14x1.0 |
Tray |
|
ST7590T |
| ST7590 |
Active |
|
|
VFQFPN 48 7x7x1.0 |
Tray |
|
ST7590 |
DATASHEET
| 描述 |
版本 |
大小 |
| ST7590 : DS7069: Narrow-band OFDM power line networking PRIME compliant system-on-chip |
1 |
615KB |
APPLICATION NOTES
| 描述 |
版本 |
大小 |
| AN3975: Transparent serial link over ST7590 OFDM PRIME modem |
1 |
1815KB |
USER MANUALS
| 描述 |
版本 |
大小 |
| UM1038: Hardware interconnection of the STM32™, SPEAr™3xx, and ST75xx |
1 |
797KB |
| UM1076: C Library for ST7590 and STM32 |
1 |
235KB |
PRODUCT PRESENTATIONS
| 描述 |
版本 |
大小 |
| ST7590 : ST products and solutions for solar energy |
1.0.0 |
2136KB |
| ST7590 : Smart street lighting solutions |
1.0.0 |
1597KB |
FLYERS