技术特性
- Memories
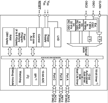
- 4 to 8 Kbytes single voltage extended Flash (XFlash) Program memory with Read-Out Protection In-Circuit Programming and In-Application programming (ICP and IAP) Endurance: 1K write/erase cycles guaranteed Data retention: 20 years at 55 °C
- Clock, Reset and Supply Management
- Low voltage supervisor (LVD) for safe power-on/off
- Clock sources: Internal trimmable 8 MHz RC oscillator, auto wakeup internal low power - low frequency oscillator, crystal/ceramic resonator or external clock
- External reset source and watchdog reset
- Five power saving modes: Halt, Active-Halt, Auto Wakeup from Halt, Wait and Slow
- I/O Ports
- Up to 24 multifunctional bidirectional I/Os
- Up to 8 high sink outputs
- 6 timers
- Configurable watchdog timer
- Dual 8-bit Lite timers with prescaler, 1 real time base and 1 input capture
- Dual 12-bit Auto-reload timers with 4 PWM outputs, input capture, output compare, dead-time generation and enhanced one pulse mode functions
- Communication interfaces:
- I²C multimaster interface
- SPI synchronous serial interface
- A/D converter: up to 10 input channels
- Interrupt management
- 13 interrupt vectors plus TRAP and RESET
- Instruction set
- 63 basic instructions with illegal opcode detection
- 8 x 8 unsigned multiply instructions
- Development tools
- Full HW/SW development package
|
功能框图
 |