ST7FOXK1 Low cost flash 8bit micro

技术特性
  • Memories
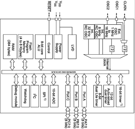
    • 4 to 8 Kbytes single voltage extended Flash (XFlash) Program memory with Read-Out Protection In-Circuit Programming and In-Application programming (ICP and IAP) Endurance: 1K write/erase cycles guaranteed Data retention: 20 years at 55 °C
    • 384 bytes RAM
  • Clock, Reset and Supply Management
    • Low voltage supervisor (LVD) for safe power-on/off
    • Clock sources: Internal trimmable 8 MHz RC oscillator, auto wakeup internal low power - low frequency oscillator, crystal/ceramic resonator or external clock
    • External reset source and watchdog reset
    • Five power saving modes: Halt, Active-Halt, Auto Wakeup from Halt, Wait and Slow
  • I/O Ports
    • Up to 24 multifunctional bidirectional I/Os
    • Up to 8 high sink outputs
  • 6 timers
    • Configurable watchdog timer
    • Dual 8-bit Lite timers with prescaler, 1 real time base and 1 input capture
    • Dual 12-bit Auto-reload timers with 4 PWM outputs, input capture, output compare, dead-time generation and enhanced one pulse mode functions
    • One 16-bit timer
  • Communication interfaces:
    • I²C multimaster interface
    • SPI synchronous serial interface
  • A/D converter: up to 10 input channels
  • Interrupt management
    • 13 interrupt vectors plus TRAP and RESET
  • Instruction set
    • 8-bit data manipulation
    • 63 basic instructions with illegal opcode detection
    • 17 main addressing modes
    • 8 x 8 unsigned multiply instructions
  • Development tools
    • Full HW/SW development package
    • DM (Debug Module)
功能框图
ST7FOXK1 订购信息
订购型号 产品状态 美金价格 数量 封装 包装形式 温度范围 材料声明
ST7FOXK1T6 Active     LQFP 32 7x7x1.4 Tray -40 °C-85 °C ST7FOXK1T6
DATASHEET
描述 版本 大小
ST7FOXK1 : DS5534: 8-bit MCU with single voltage Flash memory, SPI, I²C, ADC, timers 4 3212KB
APPLICATION NOTES
描述 版本 大小
AN1709: EMC design guide for ST microcontrollers 1 657KB
AN1636: Understanding and minimising ADC conversion errors 1 407KB
AN1504: Starting a PWM signal directly at high level using the ST7 16-bit timer 1 171KB
AN2639: Soldering recommendations and package information for Lead-free ECOPACK® microcontrollers 2 209KB
AN1015: Software techniques for improving microcontroller EMC performance 1 105KB
AN1709: EMC design guide for ST microcontrollers 1 657KB
AN1181: Electrostatic discharge sensitivity measurement 1 59KB
AN2390: A flexible universal battery charger 1 573KB
PROGRAMMING MANUALS
描述 版本 大小
PM0018: ST7 Flash programming quick reference guide 6 153KB
PM0002: ST7 family programming manual 2 1433KB
PM0012: ST7 family ICC protocol reference manual 3 893KB
PM0011: ST7 family Flash programming reference manual 2 748KB
USER MANUALS
描述 版本 大小
UM0177: ST7 software library 4 1093KB
LICENSE AGREEMENTS
描述 版本 大小
MCU software licence agreement liberty v2 2.0 18KB
MCU software licence agreement image v2 2.0 17KB
TECH TRAINING PRESENTATIONS
描述 版本 大小
ST7 Training Part 9 : Cosmic Compiler 1 1823KB
ST7 Training Part 8 : Realizer 1 213KB
ST7 Training Part 7 : Peripherals 1 1495KB
ST7 Training Part 6 : Hardware Tools 1 7090KB
ST7 Training Part 5 : Debugger 1 572KB
ST7 Training Part 4 : Assembly Toolchain 1 274KB
ST7 Training Part 3 : Addressing Modes 1 525KB
ST7 Training Part 2 : Core 1 1291KB
ST7 Training Part 1 : Introduction 1 4816KB
FIRMWARE
描述 版本 大小
ST7 Software Library 2.1 5647KB
ST7 Software Examples 1.0 411KB
PMBus Interface using ST7 I²C 1.0 32KB
BOARDS AND TOOLS
Part Number 描述
AD/Stice_Connect Connection Adapter to use with STICE-SYS00x emulation systems
STVD ST Visual develop IDE for developing ST7 and STM8 applications
STX-RLINK In-circuit debugger/programmer supporting JTAG and ICC protocols for STM8, ST7, uPSD, STM32, STR7 and STR9 microcontrollers