ST7GEME4 8-bit MCU
The ST7GEME4 is an 8-bit microcontroller dedicated to smartcard reading applications. It has been developed to be the core of smartcard readers communicating through a serial or USB link. It is pre-programmed using Gemplus software, and offers a single integrated circuit solution with very few external components.
技术特性
- Clock, reset and supply management
- PLL for generating 48 MHz USB clock using a 4 MHz crystal
- USB (Universal Serial Bus) interface
- Bus-powered, low consumption
- Serial RS232 interface
- Transmission rate: 9.6 Kbps to 115 Kbps
- CCID V1.0 on serial TTL link
- ISO 7816-3 UART interface
- Synchronous/Asynchronous protocols (T=0, T=1)
- Automatic retry on parity error
- Programmable baud rate from 372 to 11.625 clock pulses (D=32/F=372)
- Card insertion/removal detection
- Smartcard power supply
- Selectable card VCC: 1.8 V, 3 V, and 5 V
- Internal Step-up converter for 5V supplied Smartcards (with a current of up to 55mA) using only two external components.
- Programmable smartcard internal voltage regulator (1.8 to 3.0 V) with current overload protection and 4 kV ESD protection (Human Body Model) for all smartcard interface I/Os
- Development tools
- Application note on PCB recommendations and component bill of materials
- Full hardware/software kit for performance evaluation
|
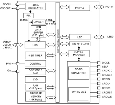
功能框图
 |
ST7GEME4 订购信息
| 订购型号 |
产品状态 |
美金价格 |
数量 |
封装 |
包装形式 |
温度范围 |
材料声明 |
| ST7GEME4M1/SAZ |
Active |
|
|
SO-24 |
Tube |
0 °C-70 °C |
ST7GEME4M1/SAZ |
| ST7GEME4U1/SAZ |
Active |
|
|
VFQFPN 24 5x5x1.0 |
Tray |
0 °C-70 °C |
ST7GEME4U1/SAZ |
DATASHEET
| 描述 |
版本 |
大小 |
| ST7GEME4 : DS5272: Full-speed USB MCU with smartcard firmware and EMV/non-EMV interface |
2 |
364KB |
APPLICATION NOTES
| 描述 |
版本 |
大小 |
| AN1709: EMC design guide for ST microcontrollers |
1 |
657KB |
| AN1636: Understanding and minimising ADC conversion errors |
1 |
407KB |
| AN1504: Starting a PWM signal directly at high level using the ST7 16-bit timer |
1 |
171KB |
| AN2639: Soldering recommendations and package information for Lead-free ECOPACK® microcontrollers |
2 |
209KB |
| AN1015: Software techniques for improving microcontroller EMC performance |
1 |
105KB |
| AN1709: EMC design guide for ST microcontrollers |
1 |
657KB |
| AN1181: Electrostatic discharge sensitivity measurement |
1 |
59KB |
| AN2390: A flexible universal battery charger |
1 |
573KB |
PROGRAMMING MANUALS
| 描述 |
版本 |
大小 |
| PM0018: ST7 Flash programming quick reference guide |
6 |
153KB |
| PM0002: ST7 family programming manual |
2 |
1433KB |
| PM0012: ST7 family ICC protocol reference manual |
3 |
893KB |
| PM0011: ST7 family Flash programming reference manual |
2 |
748KB |
USER MANUALS
| 描述 |
版本 |
大小 |
| UM0177: ST7 software library |
4 |
1093KB |
| UM0414: ST7GEME4 evaluation board getting started |
2 |
376KB |
LICENSE AGREEMENTS
TECH TRAINING PRESENTATIONS
FIRMWARE
SW DEMOS
SW DRIVERS