ST7LCRDIE6 Full-speed USB MCU with smartcard interface
ST7LCRE4U1 and ST7LCRDIE6 are 8-bit microcontrollers dedicated to smartcard reading applications. They have been developed to be the core of smartcard readers communicating through USB link. Optimized for mass-market applications, it offers a single integrated circuit solution with very few external components.
技术特性
- Clock, reset and supply management
- PLL for generating 48 MHz USB clock using a 4 MHz crystal
- USB (Universal Serial Bus) host interface
- Bus-powered, low consumption
- ISO7816-3 UART Interface
- Synchronous/asynchronous protocols (T=0, T=1)
- Automatic retry on parity error
- Programmable baud rate from 372 to 11.625 clock pulses (D=32/F=372)
- Card insertion/removal detection
- Smartcard power supply (VCRDVCC)
- Fixed supply voltage: 1.8 V or 3 V
- Development tools
- Full hardware/software development package.
- Fully compatible with Flash ST7FSCR family for development purposes
- ECOPACK® package
|
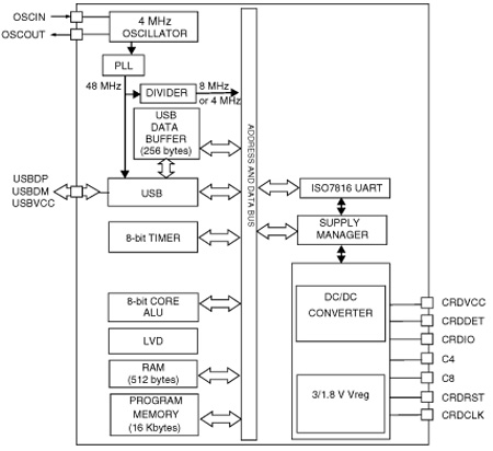
功能框图
 |
ST7LCRDIE6 订购信息
| 订购型号 |
产品状态 |
美金价格 |
数量 |
封装 |
包装形式 |
温度范围 |
材料声明 |
| ST7LCR1DIE6/OON |
Active |
|
|
SAWN WAFER F 8" |
|
|
ST7LCR1DIE6/OON |
DATASHEET
| 描述 |
版本 |
大小 |
| ST7LCRDIE6 : DS5559: Full-speed USB MCU with smartcard interface |
3 |
284KB |
APPLICATION NOTES
| 描述 |
版本 |
大小 |
| AN1709: EMC design guide for ST microcontrollers |
1 |
657KB |
| AN1636: Understanding and minimising ADC conversion errors |
1 |
407KB |
| AN1504: Starting a PWM signal directly at high level using the ST7 16-bit timer |
1 |
171KB |
| AN2639: Soldering recommendations and package information for Lead-free ECOPACK® microcontrollers |
2 |
209KB |
| AN1015: Software techniques for improving microcontroller EMC performance |
1 |
105KB |
| AN1709: EMC design guide for ST microcontrollers |
1 |
657KB |
| AN1181: Electrostatic discharge sensitivity measurement |
1 |
59KB |
| AN2390: A flexible universal battery charger |
1 |
573KB |
PROGRAMMING MANUALS
| 描述 |
版本 |
大小 |
| PM0018: ST7 Flash programming quick reference guide |
6 |
153KB |
| PM0002: ST7 family programming manual |
2 |
1433KB |
| PM0012: ST7 family ICC protocol reference manual |
3 |
893KB |
| PM0011: ST7 family Flash programming reference manual |
2 |
748KB |
USER MANUALS
| 描述 |
版本 |
大小 |
| UM0177: ST7 software library |
4 |
1093KB |
| UM0414: ST7LCRDIE6 evaluation board getting started |
2 |
376KB |
LICENSE AGREEMENTS
TECH TRAINING PRESENTATIONS
FIRMWARE
SW DEMOS
SW DRIVERS