ST7LITE19F1 8-BIT MCU WITH SINGLE VOLTAGE FLASH MEMORY,DATA EEPROM, ADC, 4 TIMERS, SPI
The ST7LITE1 is a member of the ST7 microcontroller family. All ST7 devices are based on a common industry-standard 8-bit core, featuring an enhanced instruction set.
The ST7LITE1 features FLASH memory with byte-by-byte In-Circuit Programming (ICP) and In-Application Programming (IAP) capability.
Under software control, the ST7LITE1 device can be placed in WAIT, SLOW, or HALT mode, reducing power consumption when the application is in idle or standby state.
The enhanced instruction set and addressing modes of the ST7 offer both power and flexibility to software developers, enabling the design of highly efficient and compact application code. In addition to standard 8-bit data management, all ST7 microcontrollers feature true bit manipulation, 8x8 unsigned multiplication and indirect addressing modes.
For easy reference, all parametric data are located in section 13 on page 91.The devices feature an on-chip Debug Module (DM) to support in-circuit debugging (ICD). For a description of the DM registers, refer to the ST7 ICC Protocol Reference Manual
技术特性
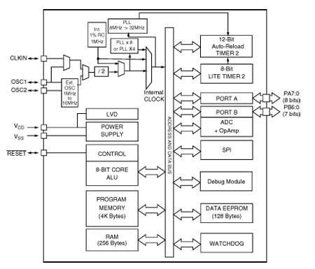
- Memories
- 4 Kbytes single voltage extended Flash (XFlash) Program memory with read-out protection, In-Circuit Programming and In-Application programming (ICP and IAP). 10K write/ erase cycles guaranteed, data retention: 20 years at 55°C.
- 128 bytes data E2PROM with read-out protection. 300K write/erase cycles guaranteed, data retention: 20 years at 55oC.
- Clock, Reset and Supply Management
- Enhanced low voltage supervisor (LVD) for main supply and an auxiliary voltage detector (AVD) with interrupt capability for implementing safe power-down procedures
- Clock sources: Internal 1% RC oscillator (on some devices), crystal/ceramic resonator or external clock
- Internal 32-MHz input clock for Auto-reload timer
- Optional x4 or x8 PLL for 4 or 8 MHz internal clock
- Five Power Saving Modes: Halt, Active-Halt, Auto Wake-up from Halt, Wait and Slow
- I/O Ports
- Up to 15 multifunctional bidirectional I/O lines
- 4 Timers
- Configurable watchdog timer
- Two 8-bit Lite Timers with prescaler, 1 realtime base and 1 input capture
- One 12-bit Auto-reload Timer with 4 PWM outputs, input capture and output compare functions
- Communication Interface
- SPI synchronous serial interface
- Interrupt Management
- 10 interrupt vectors plus TRAP and RESET
- 15 external interrupt lines (on 4 vectors)
- A/D Converter
- 13-bit precision for 0 to 430 mV (@ 5V VDD)
- 10-bit precision for 430 mV to 5V (@ 5V VDD)
- Instruction Set
- 63 basic instructions with illegal opcode detection
- 8 x 8 unsigned multiply instructions
- Development Tools
- Full hardware/software development package
|
功能框图
 |
ST7LITE19F1 订购信息
| 订购型号 |
产品状态 |
美金价格 |
数量 |
封装 |
包装形式 |
温度范围 |
材料声明 |
| ST7FLITE19F1M6 |
Active |
|
|
SO-20 |
Tube |
-40 °C-85 °C |
ST7FLITE19F1M6 |
| ST7FLITE19F1B6 |
Active |
|
|
PDIP 20 |
Tube |
-40 °C-85 °C |
ST7FLITE19F1B6 |
DATASHEET
| 描述 |
版本 |
大小 |
| ST7LITE19F1 : DS3325: 8-bit MCU with single voltage Flash memory, data EEPROM, ADC, 4 timers, SPI |
2 |
1924KB |
APPLICATION NOTES
| 描述 |
版本 |
大小 |
| AN2200: Guidelines for migrating ST7LITE1x applications to ST7FLITE1xB |
1 |
105KB |
| AN1709: EMC design guide for ST microcontrollers |
1 |
657KB |
| AN1636: Understanding and minimising ADC conversion errors |
1 |
407KB |
| AN1504: Starting a PWM signal directly at high level using the ST7 16-bit timer |
1 |
171KB |
| AN2639: Soldering recommendations and package information for Lead-free ECOPACK® microcontrollers |
2 |
209KB |
| AN1015: Software techniques for improving microcontroller EMC performance |
1 |
105KB |
| AN1709: EMC design guide for ST microcontrollers |
1 |
657KB |
| AN1181: Electrostatic discharge sensitivity measurement |
1 |
59KB |
| AN2390: A flexible universal battery charger |
1 |
573KB |
PROGRAMMING MANUALS
| 描述 |
版本 |
大小 |
| PM0018: ST7 Flash programming quick reference guide |
6 |
153KB |
| PM0002: ST7 family programming manual |
2 |
1433KB |
| PM0012: ST7 family ICC protocol reference manual |
3 |
893KB |
| PM0011: ST7 family Flash programming reference manual |
2 |
748KB |
USER MANUALS
| 描述 |
版本 |
大小 |
| UM0177: ST7 software library |
4 |
1093KB |
| UM0414: ST7LITE19F1 evaluation board getting started |
2 |
376KB |
LICENSE AGREEMENTS
TECH TRAINING PRESENTATIONS
FIRMWARE
SW DEMOS
SW DRIVERS
BOARDS AND TOOLS
| Part Number |
描述 |
| ST7-SK/RAIS |
Raisonance REva starter kit for ST7 MCUs, includes RLink |
| ST7-SocketBoard |
Programming socket board |
| ST7MDT10-TEB |
Target emulation board to adapt any ST7-EMU3 series emulator to emulate a specific ST7 or ST7 sub-family. Includes all package s |
| ST7-EMU3 |
3rd generation high-end emulator ST7-EMU3 |
| AS/Stice_Connect |
Adapter Socket for application board - to use with STICE-SYS00x emulation systems |
| STVD |
ST Visual develop IDE for developing ST7 and STM8 applications |
| ST7MDT10-20/DVP |
DIP20/SO20 connection kit for ST7MDT10-DVP3 |
| STX-RLINK |
In-circuit debugger/programmer supporting JTAG and ICC protocols for STM8, ST7, uPSD, STM32, STR7 and STR9 microcontrollers |
| AC7MDT10-D20/S20 |
DIP20/SO20 connection kit for ST7MDT10-EMU3, includes SDIP20 flex adapter and SDIP20 to SO20 adapter |
| ST7-DVP3 |
ST7-DVP3 series emulator |