STA2500D Bluetooth™2; V2.1 + EDR ("Lisbon") for automotive applications
The STA2500D is a single chip Bluetooth solution that is fully optimized for automotive applications such as telematics, navigation and portable navigation. Power consumption levels are targeted at battery powered devices and single chip solution brings cost advantages. Manufacturers can easily and quickly integrate the STA2500D on their product to enable a rapid time to market.
STA2500D supports the Bluetooth specification V2.1 + EDR ("Lisbon") and is optimized in terms of RF performance and cost.
The STA2500D is a ROM-based solution targeted at applications requiring integration up to HCI level. Patch RAM is available, enabling multiple patches/upgrades and fast time to volume. The STA2500D’s main interfaces are UART or SPI for HCI transport, PCM for voice and GPIOs for control purposes.
The radio has been designed specifically for single chip requirements, for low power consumption and minimum BOM count.
技术特性
- Based on Ericsson technology licensing baseband core (EBC)
- Bluetooth™ specification compliance: V2.1 + EDR ("Lisbon")
- Point-to-point, point-to-multipoint (up to 7 slaves) and scatternet capability
- Support ACL and SCO links
- Extended SCO (eSCO) links
- HW support for packet types
- ACL: DM1, DM3, DM5, DH1, DH3, DH5, 2- DH1, 2-DH3, 2-DH5, 3-DH1, 3-DH3, 3-DH5
- eSCO: EV3, EV4, EV5, 2-EV3, 2-EV5, 3- EV3, 3-EV5
- Adaptive frequency hopping (AFH)
- Channel quality driven data rate (CQDDR)
- "Lisbon" features
- Encryption pause/resume (EPR)
- Extended inquiry response (EIR)
- Link supervision time out (LSTO)
- Quality of service (QoS) Packet boundary flag Erroneous data delivery
- Transmit power
- Power class 2 and power class 1.5 (above 4 dBm)
- Programmable output power
- HCI
- HCI H4 and enhanced H4 transport layer
- HCI proprietary commands (e.g. peripherals control)
- Single HCI command for patch/upgrade download
- Supports pitch-period error concealment (PPEC)
- Efficient and flexible support for WLAN coexistence scenarios
- Low power consumption
- Ultra low power architecture with 3 different low-power levels
- Deep sleep modes, including host-power saving feature
- Dual wake-up mechanism: initiated by the host or by the Bluetooth device
- Communication interfaces
- Flexible SPI interface up to 13 MHz
- Up to 10 additional flexibly programmable GPIOs
- External interrupts possible through the GPIOs
- Fast I²C interface as master
- Clock support
- System clock input (digital or sine wave) at 9.6, 10, 13, 16, 16.8, 19.2, 26, 33.6 or 38.4 MHz
- Low power clock input at 3.2 kHz, 32 kHz and 32.768 kHz
- ARM7TDMI CPU
- Memory organization
- On chip RAM, including provision for patches
- On chip ROM, preloaded with SW up to HCI
- Ciphering support up to 128-bit key
- Single power supply with internal regulators for core voltage generation
- Supports 1.65 V to 2.85 V I/O systems
- Auto calibration (VCO, filters)
|
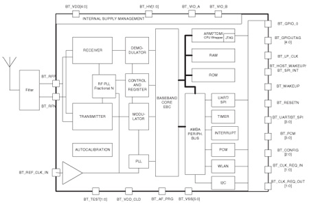
功能框图
 |
STA2500D 订购信息
| 订购型号 |
产品状态 |
美金价格 |
数量 |
封装 |
包装形式 |
温度范围 |
材料声明 |
| STA2500D |
Active |
|
|
LFBGA 48 6x6x1.2 |
Tray |
|
STA2500D |
| STA2500DTR |
Active |
|
|
LFBGA 48 6x6x1.2 |
Tape And Reel |
|
STA2500DTR |
DATASHEET
| 描述 |
版本 |
大小 |
| STA2500D : Bluetooth™ V2.1 + EDR ("Lisbon") for automotive applications |
2 |
585KB |