STPMS1 Smart sensor Dual channel 1st order ΣΔ modulator with embedded PGA
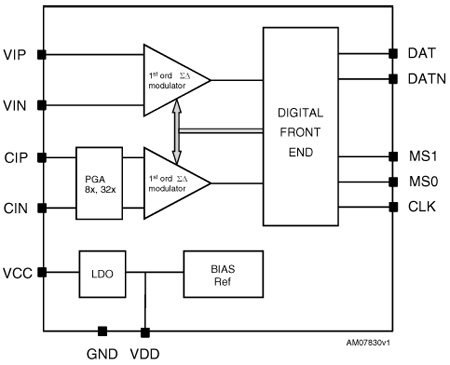
The STPMS1, also called a smart-sensor device, is an ASSP designed for effective measurement in power line systems utilizing the Rogowski coil, current transformer, or shunt principle. It is used in combination with the STPMC1 programmable poly-phase energy calculator IC, as a building block for single-phase or poly-phase energy meters. The STPMS1 is a mixed signal IC consisting of an analog and a digital section. The analog section consists of a pre-amplifier and two 1storder ΣΔ modulator blocks, band-gap voltage reference, a low-drop voltage regulator, and DC buffers, while the digital section consists of a clock generator and output multiplexer. This device is designed for use in medium resolution measurement applications when single or double inputs must be monitored at the same time.
技术特性
- VCCsupply range: 3.2 V - 5.5 V
- Two 1st order sigma-delta modulators
- Programmable chopper-stabilized low noise and low offset amplifier
- Supports 50-60 Hz AC watt meters
- Internal low-drop regulator at 3 V (typ.)
- Precision voltage reference: 1.23 V and 30 ppm/°C (typ.)
Circuit Diagram
STPMS1 订购信息
| 订购型号 |
产品状态 |
美金价格 |
数量 |
封装 |
包装形式 |
温度范围 |
材料声明 |
| STPMS1BPQR |
Active |
1.483 |
1000 |
VFQFPN 16 3x3x0.9 |
Tape And Reel |
|
STPMS1BPQR |
DATASHEET
| 下载 |
描述 |
版本 |
大小 |
| STPMS1 |
Dual-channel 1-bit, 2 MHz, 1st order sigma-delta modulator with embedded PGA |
2 |
690KB |
APPLICATION NOTES
| 下载 |
描述 |
版本 |
大小 |
| AN3157 |
AN3157: STEVAL-IPE010V1 poly-phase demonstration kit for the STPMC1 and STPMS1 |
1 |
478KB |
USER MANUALS
| 下载 |
描述 |
版本 |
大小 |
| UM0997 |
UM0997: STEVAL-IPP001V2: E-meter demonstration board with PLM |
1 |
1926KB |
| UM0746 |
UM0746: Energy meter demonstration kit based on the STPMC1 and STPMS1 |
1 |
251KB |
PRODUCT PRESENTATIONS
| 下载 |
描述 |
版本 |
大小 |
| STPMS1 |
ST products and solutions for solar energy |
1 |
2136KB |
MARKETING BROCHURES
| 下载 |
描述 |
版本 |
大小 |
| BRSMETER0911 |
Smart grid distribution and smart meters - Energy-efficient solutions |
1.0 |
1292KB |