STR911FAM47 ARM966E-S™ 16/32-Bit Flash MCU with Ethernet, USB, CAN, AC motor control, 4 timers, ADC, RTC, DMA
STR91xFA is a series of ARM-powered microcontrollers which combines a 16/32-bit ARM966E-S RISC processor core, dual-bank Flash memory, large SRAM for data or code, and a rich peripheral set to form an ideal embedded controller for a wide variety of applications such as point-of-sale terminals, industrial automation, security and surveillance, vending machines, communication gateways, serial protocol conversion, and medical equipment. The ARM966E-S core can perform single-cycle DSP instructions, good for speech processing, audio algorithms, and low-end imaging.
This datasheet provides STR91xFA ordering information, functional overview, mechanical information, and electrical device characteristics.
For complete information on STR91xFA memory, registers, and peripherals, please refer to the STR91xFA Reference Manual.
For information on programming the STR91xFA Flash memory please refer to the STR9 Flash Programming Reference Manual.
For information on the ARM966E-S core, please refer to the ARM966E-S Rev. 2 Technical Reference Manual
技术特性
- 16/32-bit 96 MHz ARM9E based MCU
- ARM966E-S RISC core: Harvard architecture, 5-stage pipeline, Tightly-Coupled Memories (SRAM and Flash)
- STR91xFA implementation of core adds high-speed burst Flash memory interface, instruction prefetch queue, branch cache
- Up to 96 MIPS directly from Flash memory
- Single-cycle DSP instructions supported
- Binary compatible with ARM7 code
- Dual burst Flash memories, 32-bits wide
- 256 KB/512 KB/1 MB/2 MB main Flash
- 32 KB/128 KB secondary Flash
- Sequential Burst operation up to 96 MHz
- 100 K min erase cycles, 20 yr min retention
- SRAM, 32-bits wide
- 64K or 96K bytes, optional battery backup
- 9 programmable DMA channels
- Clock, reset, and supply management
- Internal oscillator operating with external 4-25 MHz crystal
- Internal PLL up to 96 MHz
- Real-time clock provides calendar functions, tamper, and wake-up functions
- Reset Supervisor monitors supply voltage, watchdog, wake-up unit, external reset
- Run, Idle, and Sleep Mode as low as 50 uA
- Vectored interrupt controller (VIC)
- 32 IRQ vectors, 30 interrupt pins
- Branch cache minimizes interrupt latency
- 8-channel, 10-bit A/D converter (ADC)
- 0 to 3.6 V range, 0.7 usec conversion
- 10 Communication interfaces
- 10/100 Ethernet MAC with DMA and MII
- USB Full-speed (12 Mbps) slave device
- CAN interface (2.0B Active)
- 3 16550-style UARTs with IrDA protocol
- 2 channels for SPI™, SSI™, or MICROWIRE™
- External Memory Interface (EMI)
- 8- or 16-bit data, up to 24-bit addressing
- Static Async modes for LQFP128
- Additional burst synchronous modes for LFBGA144
- Up to 80 I/O pins (muxed with interfaces)
- 16-bit standard timers (TIM)
- 4 timers each with 2 input capture, 2 output compare, PWM and pulse count modes
- 3-Phase induction motor controller (IMC)
- JTAG interface with boundary scan
- Embedded trace module (ARM ETM9)
|
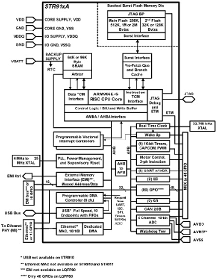
功能框图
 |
STR911FAM47 订购信息
| 订购型号 |
产品状态 |
美金价格 |
数量 |
封装 |
包装形式 |
温度范围 |
材料声明 |
| STR911FAM47X6 |
Active |
|
|
LQFP 80 12x12x1.4 |
Tray |
-40 °C-85 °C |
STR911FAM47X6 |
DATASHEET
| 描述 |
版本 |
大小 |
| STR911FAM47 : DS5270: ARM966E-S™ 16/32-bit Flash MCU with Ethernet, USB, CAN, AC motor control, 4 timers, ADC, RTC, DMA |
6 |
1784KB |
APPLICATION NOTES
| 描述 |
版本 |
大小 |
| AN2647: Using the STR91xFA external memory interface (EMI) |
1 |
543KB |
| AN2442: Using the STR91xFA DMA controller |
2 |
275KB |
| AN2593: STR91x interrupt management |
2 |
147KB |
| AN2475: STR91xFAxxx in-application programming using UART |
2 |
1200KB |
| AN2633: STR91xFA low power management and power consumption |
1 |
524KB |
| AN2675: STR91xFA in-application programming (IAP) over Ethernet |
1 |
286KB |
| AN2639: Soldering recommendations and package information for Lead-free ECOPACK® microcontrollers |
2 |
209KB |
| AN2367: Optimized memory copy routine for TCP/IP on the STR91x |
2 |
148KB |
| AN1709: EMC design guide for ST microcontrollers |
1 |
657KB |
| AN1181: Electrostatic discharge sensitivity measurement |
1 |
59KB |
| AN2540: EEPROM emulation in STR91xF devices |
1 |
246KB |
| AN2551: Configuring the STR91xFA MCU for optimum CPU performance |
1 |
82KB |
ERRATA SHEETS
| 描述 |
版本 |
大小 |
| ES0111: STR91xFA limitations and corrections |
7 |
226KB |
PROGRAMMING MANUALS
| 描述 |
版本 |
大小 |
| PM0020: STR91xFA Flash programming manual |
5 |
561KB |
REFERENCE MANUALS
USER MANUALS
| 描述 |
版本 |
大小 |
| UM0248: STR91xFA MAC/DMA controller (ENET) firmware library |
2 |
580KB |
| UM0233: STR91xFA firmware library |
4 |
3844KB |
| UM0542: STEVAL-IFS002V2 STR9 MEMS demonstration board |
3 |
307KB |
| UM0412: Getting started with DfuSe USB device firmware upgrade STMicroelectronics extension |
4 |
465KB |
LICENSE AGREEMENTS
BOARDS AND TOOLS
| 型号 |
描述 |
| RVDK |
ARM RealView Developer Kit for ST includes integrated development envirronment, debug interface, RealView Compilation Tools and |
| STR9-D/RAIS |
Daughter board for REva starter kit with STR912F device. |
| STR91X-SK/HIT |
Hitex starter kit with STR912F evaluation board, USB-JTAG in-circuit debugger/programmer and 16KB code-size limited version of H |
| STR91X-SK/IAR |
IAR KickStart starter kit with STR912F evaluation board, USB-JTAG debugger and 32KB code-size limited version of IAR EWARM softw |
| STR910-EVAL |
STR910F evaluation board with LCD, LEDs, UART, CAN, USB, Ethernet, Motor control connector, audio circuit (record and playback) |
| STX-PRO/RAIS |
Unlimited in-circuit debugging/programming tool for STM32, STR7 and STR9 |
| STR91X-SK/RAI |
Low-cost Raisonance REva starter kit for STR91xF with RLink in-circuit debugger/programmer (USB host interface), REva mother boa |
| STR9-COMSTICK |
Low-cost evaluation and development tool package for STR9 includes STR9 evaluation hardware for Ethernet, USB and CAN connectivi |
| STX-RLINK |
In-circuit debugger/programmer supporting JTAG and ICC protocols for STM8, ST7, uPSD, STM32, STR7 and STR9 microcontrollers |
| AI-JTAG/OPTO |
Opto-isolation board for galvanic isolation for use between applications and development tools using a 20-pin JTAG connection |
| STR91X-SK/KEI |
Keil starter kit with STR912F evaluation board, USB-JTAG debugger and evaluation version of RealView Microcontroller Development |
DEVICE PROGRAMMERS
SW DEMOS
TEST UTILITIES
FIRMWARE