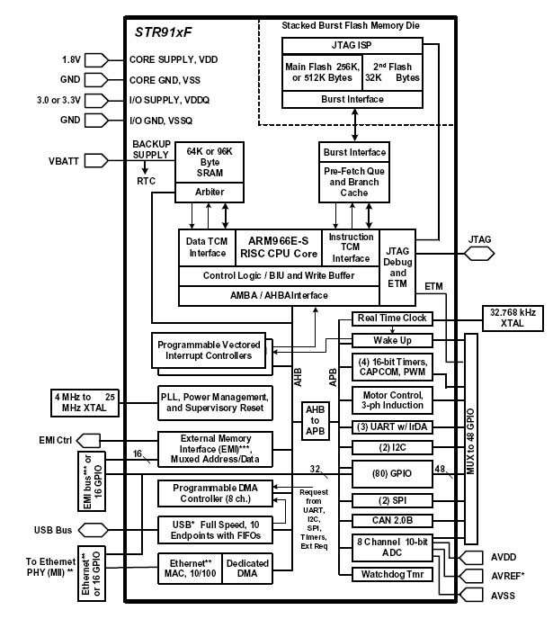
STR91xF系列微控制器结构图

Figure 1. STR91xFA block diagram

* USB not available on STR910
** Ethernet MAC not available on STR910 and STR911
*** EMI not available on LQFP80
**** Only 40 GPIOs on LQFP80