具有1KB 系统内可编程Flash 的8 位微控制器 ATtiny13

ATtiny13 概述

ATtiny13 是基于增强的AVR RISC结构的低功耗8位CMOS微控制器。由于其先进的指令集以及单时钟周期指令执行时间,ATtiny13 的数据吞吐率高达1 MIPS/MHz,从而可以缓减系统在功耗和处理速度之间的矛盾。 The ATtiny13 is a low-power CMOS 8-bit microcontroller based on the AVR enhanced RISC rchitecture. By executing powerful instructions in a single clock cycle, the ATtiny13V achieves roughputs approaching 1 MIPS per MHz allowing the system designer to optimize power consumption versus processing peed. AVR 内核具有丰富的指令集和32 个通用工作寄存器。所有的寄存器都直接与算逻单元 (ALU) 相连接,使得一条指令可以在一个时钟周期内同时访问两个独立的寄存器。这种结构大大提高了代码效率,并且具有比普通的CISC 微控制器最高至10 倍的数据吞吐率。 ATtiny13 有1K 字节Flash,64 字节EEPROM,64 字节SRAM,6 个通用 I/O 口线, 32 个 通用工作寄存器, 1 个具有比较模式的8 位定时器/ 计数器,片内/ 外中断, 4 路10 位 ADC,具有片内振荡器的可编程看门狗定时器,以及三种可以通过软件进行选择的省电模式。 工作于空闲模式时CPU 停止工作,而SRAM、T/C、ADC、模拟比较器以及中断系 统继续工作;掉电模式时保存寄存器中值,停止除中断和硬件复位之外所有功能工作; ADC 噪声抑制模式时终止CPU 及ADC 以外所有I/O 模块的工作以降低ADC 转换噪声。 本芯片是以Atmel 高密度非易失性存储器技术生产的。 通过SPI 串行接口可对程序存储器进行系统内编程。 The AVR core combines a rich instruction set with 32 general purpose working registers. All the 32 registers are directly connected to the Arithmetic Logic Unit (ALU), allowing two independent registers to be accessed in one single instruction executed in one clock< cycle. The resulting architecture is more code efficient while achieving throughputs up to ten times faster than conventional CISC microcontrollers. The ATtiny13V provides the following features: 1K byte of In-System Programmable Flash, 64 bytes EEPROM, 64 bytes SRAM, 6 general purpose I/O lines, 32 general purpose working registers, one 8-bit Timer/Counter with compare modes, Internal and External Interrupts, a 4-channel, 10-bit ADC, a programmable Watchdog Timer with internal Oscillator, and three software selectable power saving modes. The Idle mode stops the CPU while allowing the SRAM, Timer/Counter, ADC, Analog Comparator, and ATtiny13 AVR 具有一整套的编程与系统开发工具,包括:C 语言编译器、宏汇编、 程序调试器/ 软件仿真器、仿真器及评估板。 The ATtiny13V AVR is supported with a full suite of program and system development tools including: C Compilers, Macro Assemblers, Program Debugger/Simulators, In-Circuit Emulators, and Evaluation kits.

ATtiny13 产品特性
ATtiny13 订购信息Ordering Information
Speed (MHz) Power Supply Ordering Code Package Operation Range
10 1.8 - 5.5 ATtiny13V-10PI
ATtiny13V-10PU(绿色环保封装Pb-free packaging)
ATtiny13V-10SI
ATtiny13V-10SU(绿色环保封装Pb-free packaging)
ATtiny13V-10SSI
ATtiny13V-10SSU(绿色环保封装Pb-free packaging)
ATtiny13V-10MU(绿色环保封装Pb-free packaging)
ATtiny13V-10MMU(绿色环保封装Pb-free packaging)
8P3
8P3
8S2
8S2
S8S1
S8S1
20M1
10M1
工业级
(-40°C - 85°C)
20 2.7 - 5.5 ATtiny13-20PI
ATtiny13-20PU(绿色环保封装Pb-free packaging)
ATtiny13-20SI
ATtiny13-20SU(绿色环保封装Pb-free packaging)
ATtiny13-20SSI
ATtiny13-20SSU(绿色环保封装Pb-free packaging)
ATtiny13-20MU(绿色环保封装Pb-free packaging)
ATtiny13-20MMU(绿色环保封装Pb-free packaging)
8P3
8P3
8S2
8S2
S8S1
S8S1
20M1
10M1
工业级
(-40°C - 85°C
ATtiny13 引脚配置

ATtiny13 引脚配置

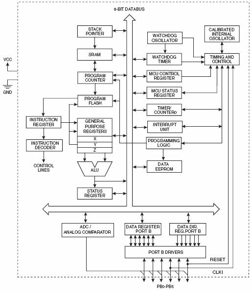
ATtiny13 结构框图

( ATtiny13 结构框图 )

ATtiny13 引脚说明

VCC:数字电路的电源 GND:地 端口B (PB5..PB0):端口B 为6 位双向I/O 口,具有可编程的内部上拉电阻。其输出缓冲器具有对称的驱动特 性,可以输出和吸收大电流。作为输入使用时,若内部上拉电阻使能,端口被外部电路拉低时将输出电流。在复位过程中,即使系统时钟还未起振,端口B 处于高阻状态。 端口B 也可以用做其他不同的特殊功能,请参见DataSheet 数据手册 P48。 RESET:复位输入引脚。持续时间超过最小门限时间的低电平将引起系统复位。门限时间见 DataSheet 数据手册P30Table 12。持续时间小于门限时间的脉冲不能保证可靠复位。

ATtiny13 应用技术支持与电子电路设计开发资源下载
  1. ATtiny13 中文技术资料 . PDF
  2. ATtiny13 英文数据手册 . PDF
  3. ATMEL 爱特梅尔半导体公司产品线. PDF (编号:Atmel Products)
  4. Atmel 爱特梅尔AVR 微控制器简介.PDF (编号:Tech AVR 000)MLF 32
  5. 面向新手的AVR开发工具,及基本知识.PDF(编号:Tech AVR 001)
  6. 使用AVR 定时/计数器的PWM功能设计要点 .PDF