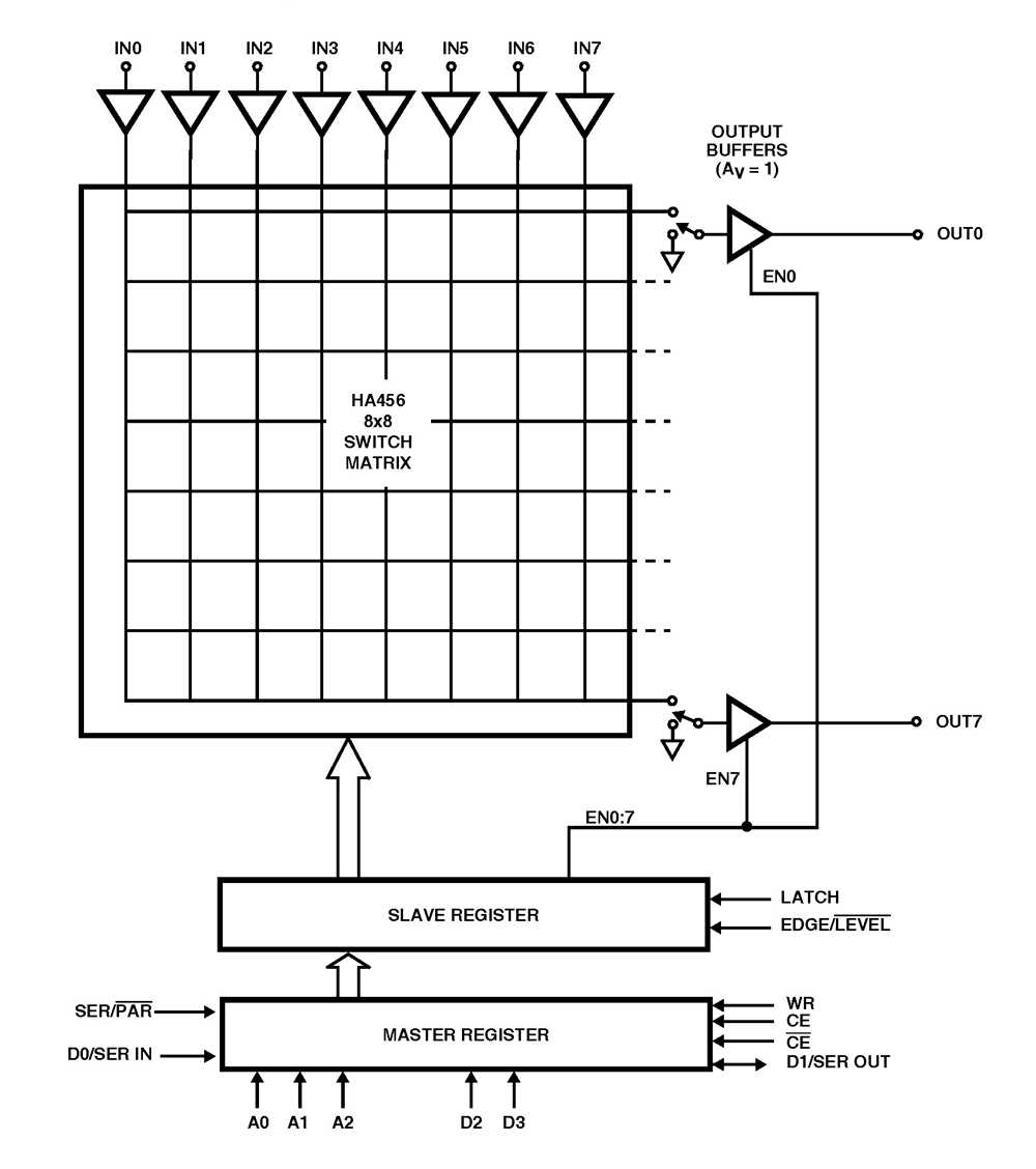
The HA456 is the first 8x8 video crosspoint switch suitable for high performance video systems. Its high level of integration significantly reduces component count, board space, and cost. The crosspoint switch contains a digitally controlled matrix of 64 fully buffered switches that connect 8 video input signals to any, or all, matrix outputs. Each matrix output connects to an internal, high-speed (200V/µs), unity gain buffer capable of driving 400Ω and 5pF to ±2V.
For applications requiring gain or increased drive capability, the HA456 outputs can be connected directly to two HFA1412 quad, gain of two video buffers, which are capable of driving 75Ω loads.
This crosspoint's true high impedance three-state output capability, makes it feasible to parallel multiple HA456s and form larger switch matrices.
Key Features
- Fully Buffered Inputs and Outputs (AV = +1)
- Routes Any Input Channel to Any Output Channel
- Switches Standard and High Resolution Video Signals
- Serial or Parallel Digital Interface
- Expandable for Larger Switch Matrices
- Wide Bandwidth 120MHz
- High Slew Rate 200V/µs
- Differential Gain and Phase 0.05%, 0.05°
- Low Crosstalk at 10MHz -55dB
- Pb-Free Available (RoHS Compliant)
Applications
- Professional Video Switching and Routing
- Security and Video Editing Systems

Datasheets| Title | Type | Updated | Size | Other Languages |
|---|
| HA456 Datasheet | PDF | 14 Nov 2014 | 288 KB | |
Order Information| Part Number | Package Type | Weight(g) | Pins | MSL Rating | Peak Temp (°C) | RoHS Status |
|---|
|
| HA456CM | 44 Ld PLCC | 2.31 | 44 | 3 | 225 | |
|
|
| HA456CMZ | 44 Ld PLCC | 2.31 | 44 | 3 | 260 | RoHS |
|
|
| HA456CN | 44 Ld MQFP | 0.46 | 44 | 4 | 240 | |
|
|
| HA456CP | 40 Ld | 6.22 | 40 | N/A | NA | |
|
|
|
|
| HA456/7EVAL3 | | | | N/A | | |
|
|
| HA456EVAL1 | | | | N/A | | |
|
|