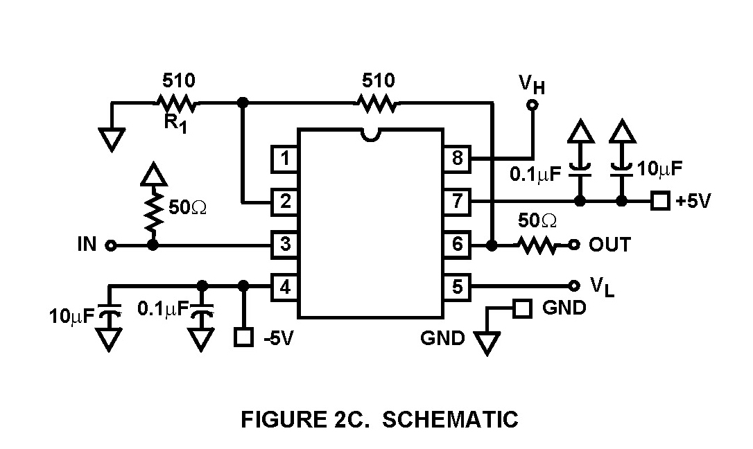
The HS-1145RH is a high speed, low power current feedback amplifier built with Intersil's proprietary complementary bipolar UHF-1 (DI bonded wafer) process. These devices are QML approved and are processed and screened in full compliance with MIL-PRF-38535.
This amplifier features a TTL/CMOS compatible disable control, pin 8, which when pulled low, reduces the supply current and forces the output into a high impedance state. This allows easy implementation of simple, low power video switching and routing systems. Component and composite video systems also benefit from this op amp's excellent gain flatness, and good differential gain and phase specifications. Multiplexed A/D applications will also find the HS-1145RH useful as the A/D driver/multiplexer.
Specifications for Rad Hard QML devices are controlled by the Defense Supply Center in Columbus (DSCC). The SMD numbers listed here must be used when ordering.
Detailed Electrical Specifications for these devices are contained in SMD 5962-96830.
Key Features
- Electrically Screened to SMD # 5962-96830
- QML Qualified per MIL-PRF-38535 Requirements
- Low Supply Current 5.9mA (Typ)
- Wide -3dB Bandwidth 360MHz (Typ)
- High Slew Rate 1000V/µs (Typ)
- Excellent Gain Flatness (to 50MHz) ±0.07dB (Typ)
- Excellent Differential Gain 0.02% (Typ)
- Excellent Differential Phase 0.03 Degrees (Typ)
- High Output Current 60mA (Typ)
- Output Enable / Disable Time 180ns/35ns (Typ)
- Total Gamma Dose 300kRAD(Si)
- Latch Up None (DI Technology)
Applications
- Multiplexed Flash A/D Driver
- RGB Multiplexers / Preamps
- Video Switching and Routing
- Pulse and Video Amplifiers
- Wideband Amplifiers
- RF/IF Signal Processing
- Imaging Systems

Order Information| Part Number | Package Type | Weight(g) | Pins | MSL Rating | Peak Temp (°C) | RoHS Status |
|---|
|
| HS0-1145RH-Q | Not Applicable - Contact Us | | | N/A | | RoHS |
|
|
| HS7B-1145RH-Q | 8 Ld SBDIP | 0.69 | 8 | N/A | NA | RoHS |
|
|
| HS7B-1145RH/PROTO | 8 Ld SBDIP | 0.69 | 8 | N/A | NA | RoHS |
|
|