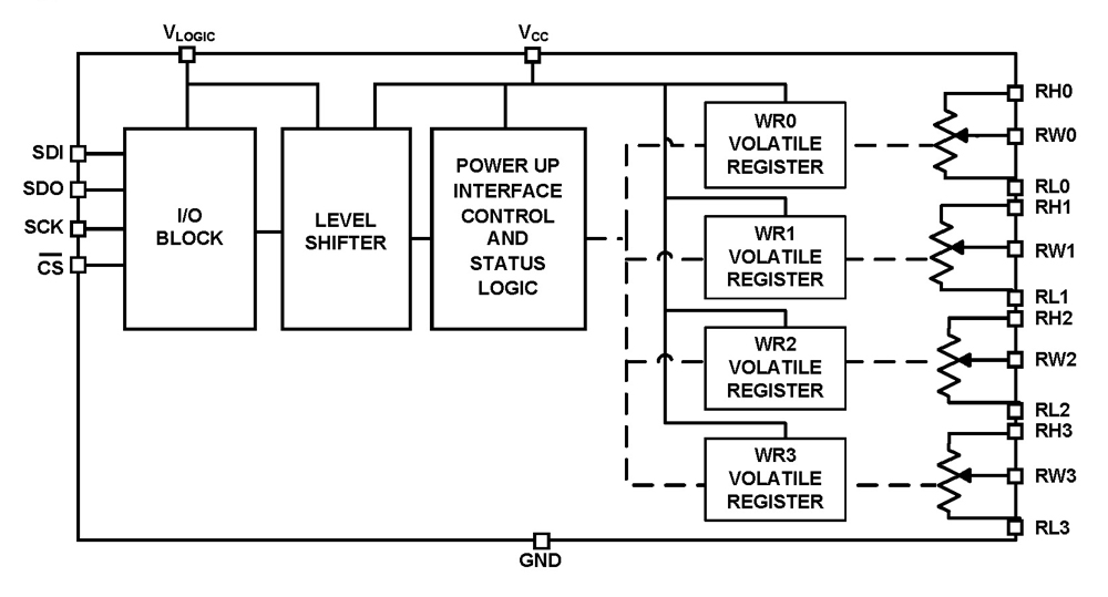
The ISL23445 is a volatile, low voltage, low noise, low power, 256 tap, quad digitally controlled potentiometer (DCP) with an SPI Bus™ interface. It integrates four DCP cores, wiper switches and control logic on a monolithic CMOS integrated circuit.
Each digitally controlled potentiometer is implemented with a combination of resistor elements and CMOS switches. The position of the wipers are controlled by the user through the SPI bus interface. Each potentiometer has an associated volatile Wiper Register (WRi, i = 0, 1, 2, 3) that can be directly written to and read by the user. The contents of the WRi controls the position of the wiper. When powered on, the wiper of each DCP will always commence at mid-scale (128 tap position).
The low voltage, low power consumption, and small package of the ISL23445 make it an ideal choice for use in battery operated equipment. In addition, the ISL23445 has a VLOGIC pin allowing down to 1.2V bus operation, independent from the VCC value. This allows for low logic levels to be connected directly to the ISL23445 without passing through a voltage level shifter.
The DCP can be used as a three-terminal potentiometer or as a two-terminal variable resistor in a wide variety of applications including control, parameter adjustments, and signal processing.
Key Features
- Four potentiometers per package
- 256 resistor taps
- 10kΩ, 50kΩ or 100kΩ total resistance
- SPI serial interface
- No additional level translator for low bus supply
- Daisy Chaining of multiple DCPs
- Maximum supply current without serial bus activity (standby)
- 5µA @ VCC and VLOGIC = 5V
- 2µA @ VCC and VLOGIC = 1.7V
- Shutdown Mode
- Forces the DCP into an end-to-end open circuit and RWi is connected to RLi internally
- Reduces power consumption by disconnecting the DCP resistor from the circuit
- Power supply
- VCC = 1.7V to 5.5V analog power supply
- VLOGIC = 1.2V to 5.5V SPI bus/logic power supply
- Wiper resistance: 70Ω typical @ VCC = 3.3V
- Power-on preset to mid-scale (128 tap position)
- Extended industrial temperature range: -40°C to +125°C
- 20 Ld TSSOP or 20 Ld QFN packages
- Pb-free (RoHS compliant)
Applications
- Power supply margining
- Trimming sensor circuits
- Gain adjustment in battery powered instruments
- RF power amplifier bias compensation

Order Information| Part Number | Package Type | Weight(g) | Pins | MSL Rating | Peak Temp (°C) | RoHS Status |
|---|
|
| ISL23445TFRZ | 20 Ld QFN | 0.0325 | 20 | 3 | 260 | RoHS |
|
|
| ISL23445TFRZ-T7A | 20 Ld QFN T+R | 0.0325 | 20 | 3 | 260 | RoHS |
|
|
| ISL23445TFRZ-TK | 20 Ld QFN T+R | 0.0325 | 20 | 3 | 260 | RoHS |
|
|
| ISL23445TFVZ | 20 Ld TSSOP | 0.072 | 20 | 3 | 260 | RoHS |
|
|
| ISL23445TFVZ-T7A | 20 Ld TSSOP T+R | 0.072 | 20 | 3 | 260 | RoHS |
|
|
| ISL23445TFVZ-TK | 20 Ld TSSOP T+R | 0.072 | 20 | 3 | 260 | RoHS |
|
|
| ISL23445UFRZ | 20 Ld QFN | 0.0325 | 20 | 3 | 260 | RoHS |
|
|
| ISL23445UFRZ-T7A | 20 Ld QFN T+R | 0.0325 | 20 | 3 | 260 | RoHS |
|
|
| ISL23445UFRZ-TK | 20 Ld QFN T+R | 0.0325 | 20 | 3 | 260 | RoHS |
|
|
| ISL23445UFVZ | 20 Ld TSSOP | 0.072 | 20 | 3 | 260 | RoHS |
|
|
| ISL23445UFVZ-T7A | 20 Ld TSSOP T+R | 0.072 | 20 | 3 | 260 | RoHS |
|
|
| ISL23445UFVZ-TK | 20 Ld TSSOP T+R | 0.072 | 20 | 3 | 260 | RoHS |
|
|
| ISL23445WFRZ | 20 Ld QFN | 0.0325 | 20 | 3 | 260 | RoHS |
|
|
| ISL23445WFRZ-T7A | 20 Ld QFN T+R | 0.0325 | 20 | 3 | 260 | RoHS |
|
|
| ISL23445WFRZ-TK | 20 Ld QFN T+R | 0.0325 | 20 | 3 | 260 | RoHS |
|
|
| ISL23445WFVZ | 20 Ld TSSOP | 0.072 | 20 | 3 | 260 | RoHS |
|
|
| ISL23445WFVZ-T7A | 20 Ld TSSOP T+R | 0.072 | 20 | 3 | 260 | RoHS |
|
|
| ISL23445WFVZ-TK | 20 Ld TSSOP T+R | 0.072 | 20 | 3 | 260 | RoHS |
|
|