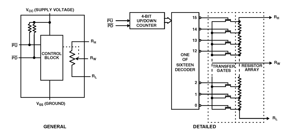
The Intersil ISL23512 is a three-terminal digitally-controlled potentiometer (XDCP) implemented by a resistor array composed of 15 resistive elements and a wiper switching network. The ISL23512 features a push button control, a shutdown mode, as well as an industry-leading µTQFN package.
The push button control has individual PU and PD inputs for adjusting the wiper. To eliminate redundancy, the wiper position will automatically increment or decrement if one of these inputs is held longer than 1s.
Forcing both PU and PD low for more than 2s activates shutdown mode. Shutdown mode disconnects the top of the resistor chain and moves the wiper to the lowest position, minimizing power consumption.
The three terminals accessing the resistor chain naturally configure the ISL23512 as a voltage divider. A rheostat is easily formed by floating an end terminal or connecting it to the wiper.
Key Features
- Solid-state volatile potentiometer
- Push button controlled
- Single or Auto increment/decrement
- Fast Mode after 1s button press
- Shutdown Mode
- 16 wiper tap points
- Zero scale wiper position on power-up
- Low power CMOS
- VCC = 2.7V to 5.5V
- Terminal voltage, 0 to VCC
- Standby current, 3µA max
- RTOTAL value = 10kΩ
- Packages
- 10 Ld µTQFN (2.05mmx1.55mm)
- Pb-free (RoHS compliant)
Applications
- Volume Control
- LED/LCD Brightness Control
- Contrast Control
- Programming Bias Voltages

Order Information| Part Number | Package Type | Weight(g) | Pins | MSL Rating | Peak Temp (°C) | RoHS Status |
|---|
|
| ISL23512WFRU10Z-TK | 10 Ld uTQFN T+R | 0.0046 | 10 | 1 | 260 | RoHS |
|
|