ISL6186XXC: USB Port Power Supply Controller - Covering the Commercial Temperature Range of 0°C to +70°C

The ISL6186 USB power controller family provides overcurrent (OC) fault protection for one or more USB ports.

This product family consists of eight individual functional product variants and three package options and is operation rated for a nominal +2.5V to +5V range and specified over the full commercial and industrial temperature ranges.

Each ISL6186 type incorporates a 45mΩ P-channel MOSFET power switch for power control and features internal current monitoring, accurate current limiting, and current limited delay to turn-off for system supply protection along with control and communication I/O.

The ISL6186 family offers product variants with specified continuous output current levels of 1.5A, 3A or 3.6A, enable active high or low inputs, and latch off or automatic retry after overcurrent turn-off, making these devices well suited for many low-power applications.

This family of ICs is offered in an industry standard SOIC package as well as in the 70% smaller 3x3 DFN package, which provides the same performance and an additional Power-Good output feature in the smallest possible (10 Ld DFN) package.

Key Features
  • Industrial Temperature Range of -40°C to +85°Calso Available – see ISL6186XXI
  • 2.5V to 5V Operating Range
  • 45mΩ Integrated Power P-channel MOSFET Switches
  • Continuous Current Options for 1.5A, 3A and 3.6A
  • Thermally Insensitive 12ms of Current Limiting Prior to Turn-Off
  • Output Discharges with Reverse Current Blocking When Disabled
  • Latch-off or Auto Restart and Enable Polarity Options
  • 1µA Off-State Supply Current
  • Industry Standard Pin-for-Pin SOIC and Smaller DFN Packages Available
Applications
  • USB Port Power Management Including USB 3.0
  • Low Power Electronic Circuit Limiting and Breaker
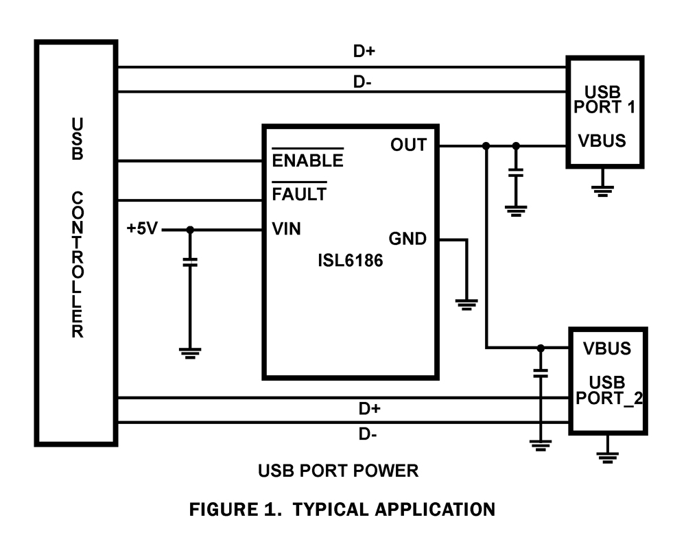
Typical Diagram
Datasheets
TitleTypeUpdatedSizeOther Languages
ISL6186 DatasheetPDF17 Nov 2014714 KB日本語
White Papers
TitleTypeUpdatedSizeOther Languages
Five Easy Steps to Create a Multi-Load Power SolutionPDF30 Jan 2017502 KB
How Green is Your Cloud?PDF05 May 2015275 KB
Order Information
Part NumberPackage TypeWeight(g)PinsMSL RatingPeak Temp (°C)RoHS Status
ISL61861ACBZ8 Ld SOIC0.07282260RoHS
ISL61861ACBZ-T8 Ld SOIC T+R0.07282260RoHS
ISL61861BCBZ8 Ld SOIC0.07282260RoHS
ISL61861BCBZ-T8 Ld SOIC T+R0.07282260RoHS
ISL61861CCBZ8 Ld SOIC0.07282260RoHS
ISL61861CCBZ-T8 Ld SOIC T+R0.07282260RoHS
ISL61861DCBZ8 Ld SOIC0.07282260RoHS
ISL61861DCBZ-T8 Ld SOIC T+R0.07282260RoHS
ISL61861ECBZ8 Ld SOIC0.07282260RoHS
ISL61861ECBZ-T8 Ld SOIC T+R0.07282260RoHS
ISL61861FCBZ8 Ld SOIC0.07282260RoHS
ISL61861FCBZ-T8 Ld SOIC T+R0.07282260RoHS
ISL61861GCBZ8 Ld SOIC0.07282260RoHS
ISL61861GCBZ-T8 Ld SOIC T+R0.07282260RoHS
ISL61861HCBZ8 Ld SOIC0.07282260RoHS
ISL61861HCBZ-T8 Ld SOIC T+R0.07282260RoHS
ISL61862ACRZ8 Ld DFN0.02282260RoHS
ISL61862ACRZ-T8 Ld DFN T+R0.02282260RoHS
ISL61862BCRZ8 Ld DFN0.02282260RoHS
ISL61862BCRZ-T8 Ld DFN T+R0.02282260RoHS
ISL61862CCRZ8 Ld DFN0.02282260RoHS
ISL61862CCRZ-T8 Ld DFN T+R0.02282260RoHS
ISL61862DCRZ8 Ld DFN0.02282260RoHS
ISL61862DCRZ-T8 Ld DFN T+R0.02282260RoHS
ISL61862ECRZ8 Ld DFN0.02282260RoHS
ISL61862ECRZ-T8 Ld DFN T+R0.02282260RoHS
ISL61862FCRZ8 Ld DFN0.02282260RoHS
ISL61862FCRZ-T8 Ld DFN T+R0.02282260RoHS
ISL61862GCRZ8 Ld DFN0.02282260RoHS
ISL61862GCRZ-T8 Ld DFN T+R0.02282260RoHS
ISL61862HCRZ8 Ld DFN0.02282260RoHS
ISL61862HCRZ-T8 Ld DFN T+R0.02282260RoHS
ISL61863ACRZ10 Ld DFN0.022102260RoHS
ISL61863ACRZ-T10 Ld DFN T+R0.022102260RoHS
ISL61863BCRZ10 Ld DFN0.022102260RoHS
ISL61863BCRZ-T10 Ld DFN T+R0.022102260RoHS
ISL61863CCRZ10 Ld DFN0.022102260RoHS
ISL61863CCRZ-T10 Ld DFN T+R0.022102260RoHS
ISL61863DCRZ10 Ld DFN0.022102260RoHS
ISL61863DCRZ-T10 Ld DFN T+R0.022102260RoHS
ISL61863ECRZ10 Ld DFN0.022102260RoHS
ISL61863ECRZ-T10 Ld DFN T+R0.022102260RoHS
ISL61863FCRZ10 Ld DFN0.022102260RoHS
ISL61863FCRZ-T10 Ld DFN T+R0.022102260RoHS
ISL61863GCRZ10 Ld DFN0.022102260RoHS
ISL61863GCRZ-T10 Ld DFN T+R0.022102260RoHS
ISL61863HCRZ10 Ld DFN0.022102260RoHS
ISL61863HCRZ-T10 Ld DFN T+R0.022102260RoHS
ISL61863ICRZ10 Ld DFN0.022102260RoHS
ISL61863ICRZ-T10 Ld DFN T+R0.022102260RoHS
ISL61863JCRZ10 Ld DFN0.022102260RoHS
ISL61863JCRZ-T10 Ld DFN T+R0.022102260RoHS
ISL61863KCRZ10 Ld DFN0.022102260RoHS
ISL61863KCRZ-T10 Ld DFN T+R0.022102260RoHS
ISL61863LCRZ10 Ld DFN0.022102260RoHS
ISL61863LCRZ-T10 Ld DFN T+R0.022102260RoHS
ISL61861EVAL1ZN/ARoHS
ISL61862EVAL1ZN/ARoHS
ISL61863EVAL1ZN/ARoHS
ISL6186 Datasheet 17 Nov 2014
ISL6186 Datasheet 17 Nov 2014
8 Ld SOIC T+R ISL84514
8 Ld DFN T+R ISL6146
10 Ld DFN T+R ISL9203A
ISL6186XXI
Five Easy Steps to Create a Multi-Load Power Solution 30 Jan 2017
How Green is Your Cloud? 05 May 2015