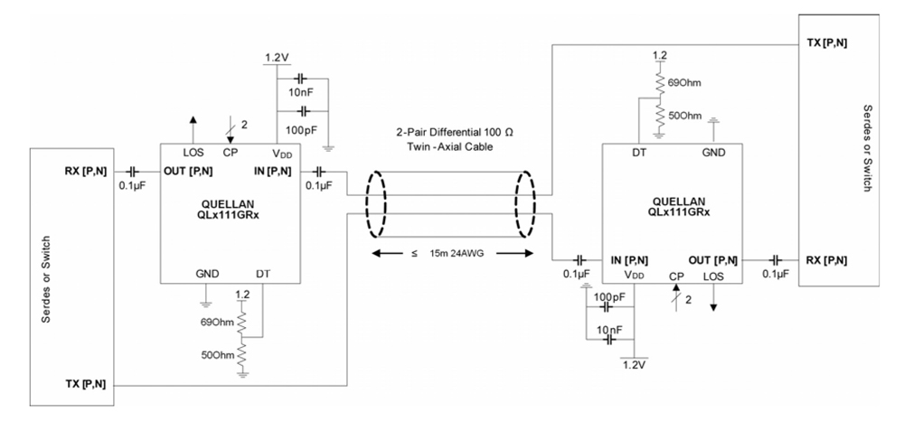
The QLx111GRx is a settable single-channel receive-side equalizer with extended functionality for advanced protocols operating with line rates up to 11.1Gb/s such as 10G Ethernet (10GBase-CR). The QLx111GRx compensates for the frequency dependent attenuation of copper twin-axial cables, extending the signal reach up to at least 10m on 28AWG cable.
The small form factor, highly-integrated design is ideal for high-density data transmission applications including active copper cable assemblies. The equalizing filter within the QLx111GRx can be set to provide optimal signal fidelity for a given media and length. The compensation level for the filter is set by two external control pins.
Operating on a single 1.2V power supply, the QLx111GRx enables per channel throughputs of 10Gb/s to 11.1Gb/s while supporting lower data rates including 8.5, 6.25, 5, 4.25, 3.125, and 2.5Gb/s. The QLx111GRx uses current mode logic (CML) input/output and is packaged in a 3mmx3mm 16 lead QFN. LOS support is included for module applications.
Key Features
- Supports data rates up to 11.1Gb/s
- Low power (<135mW)
- Low latency (<500ps)
- Single channel equalizer in a 3mmx3mm QFN package for straight route-through architecture and simplified routing
- Adjustable equalizer boost
- Supports 64b/66b encoded data long run lengths
- Line silence preservation
- 1.2V supply voltage
- LOS support Benefits
- Thinner gauge cable
- Extends cable reach greater than 3x
- Improved BER
Applications
- SFP+ active copper cable modules
- QSFP active copper cable modules
- 10G Ethernet (10GBase-CR)
- XFI
- 40G Ethernet (40GBase-CR4)
- Fibre Channel
- High-speed active cable assemblies
- High-speed printed circuit board (PCB) traces

Order Information| Part Number | Package Type | Weight(g) | Pins | MSL Rating | Peak Temp (°C) | RoHS Status |
|---|
|
| QLX111RIQSR | 16 Ld QFN T+R | 0.027 | 16 | 1 | 260 | RoHS |
|
|
| QLX111RIQT7 | 16 Ld QFN T+R | 0.027 | 16 | 1 | 260 | RoHS |
|
|