LTC1664 微功率、四通道 10 位 DAC

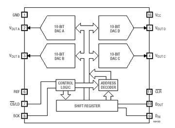
LTC®1664 将 4 个准确的可串行寻址 10 位数模转换器 (DAC) 集成在单个纤巧型 16 引脚窄体 SSOP 封装之中。每个缓冲 DAC 仅吸收 59μA 的总电源电流,然而却能够提供超过 5mA 的 DC 输出电流,并可靠地驱动高达 1000pF 的容性负载。睡眠模式进一步把总电源电流减小至 1μA。

凌力尔特公司专有的本质单调电压内插架构提供了超卓的线性度,并实现了异常小巧的外部形状。

超低的电源电流、节能的睡眠模式和极紧凑的外形尺寸使 LTC1664 非常适合于电池供电型应用,而其易用性、高性能和宽电源范围则使之成为通用型转换器的绝佳选择。

产品特点 Features
  • 纤巧:4 个 DAC 在一个 SO-8 的板级空间中
  • 微功率:每个 DAC 的电源电流为 59μA,睡眠模式的消耗电流为 1μA,可延长电池的使用寿命
  • 2.7V 至 5.5V 的宽电源范围
  • 轨至轨电压输出可驱动 1000pF 的容性负载
  • 基准范围包括电源以提供比例式 0V 至 VCC 输出
  • 基准输入阻抗与代码无关 —— 免除了外部基准缓冲器
  • 可单独寻址的 DAC
  • 差分非线性度:≤ ±0.75LSB (最大值)
  • 可提供引脚兼容的 8 通道器件版本 (LTC1660)
封装
LTC1664 参数
应用
  • 移动通信
  • 远程工业设备
  • 针对制造的自动校准
  • 便携式电池供电型仪器
  • 修整 / 调节应用
典型应用图
LTC1664 典型应用
参数
LTC1664 参数
LTC1664 订购信息和价格参考Package Variations and Pricing
器件型号 封装 引脚 温度 价格 (以 1 ~ 99 片为批量) 价格 (以 1000 片为批量) *
LTC1664CGN SSOP 16 C $3.60  $2.95 
LTC1664CGN#PBF SSOP 16 C $3.60  $2.95 
LTC1664CGN#TR SSOP 16 C $3.01 
LTC1664CGN#TRPBF SSOP 16 C $3.01 
LTC1664CN PDIP 16 C $3.75  $3.10 
LTC1664CN#PBF PDIP 16 C $3.75  $3.10 
LTC1664IGN SSOP 16 I $3.90  $3.25 
LTC1664IGN#PBF SSOP 16 I $3.90  $3.25 
LTC1664IGN#TR SSOP 16 I $3.31 
LTC1664IGN#TRPBF SSOP 16 I $3.31 
LTC1664IN PDIP 16 I $4.00  $3.40 
LTC1664IN#PBF PDIP 16 I $4.00  $3.40 
LTC1664 数据手册及相关资料下载
  1. 数据手册(英文) : LTC1664 - Micropower Quad 10-Bit DAC.PDF
  2. 可靠性数据 : R392 Reliability Data .PDF
  3. 产品选型卡 : Voltage Output DACs.PDF