LTC2420 20-Bit µPower No Latency Delta Sigma™ ADC in SO-8

The LTC®2420 is a micropower 20-bit A/D converter with an integrated oscillator, 8ppm INL and 1.2ppm RMS noise that operates from 2.7V to 5.5V. It uses delta-sigma technology and provides a digital filter that settles in a single cycle for multiplexed applications. Through a single pin, the LTC2420 can be configured for better than 110dB rejection at 50Hz or 60Hz ±2%, or it can be driven by an external oscillator for a user-defined rejection frequency in the range 1Hz to 800Hz. The internal oscillator requires no external frequency setting components. The converter accepts any external reference voltage from 0.1V to VCC. With its extended input conversion range of –12.5% VREF to 112.5% VREF, the LTC2420 smoothly resolves the offset and overrange problems of preceding sensors or signal conditioning circuits. The LTC2420 communicates through a flexible 3-wire digital interface which is compatible with SPI and MICROWIRE™ protocols

产品特点 Features
  • 多达 8 个差分输入或 16 个单端输入
  • Easy DriveTM 技术实现了具零差分输入电流的轨至轨输入
  • 能够以完整的准确度对高阻抗传感器直接进行数字化处理
  • 具 27 个地址和一个用于实现同步的全局地址的二线式 I2C 接口
  • 600nV RMS 噪声
  • 集成高准确度温度传感器
  • GND 至 VCC 输入/基准共模范围
  • 可编程 50Hz、60Hz 或同时 50Hz/60Hz 抑制模式
  • 2ppm INL,无漏失码
  • 1ppm 偏移和 15ppm 全标度误差
  • 2x 速度/降功率模式 (15Hz — 采用内部振荡器,80μA 消耗电流 — 在 7.5Hz 输出频率)
  • 无延迟:数字滤波器可在单个周期内实现稳定 (即使在选择一个新的通道之后也不例外)
  • 2.7V 至 5.5V 单电源操作 (0.8mW)
  • 内部振荡器
  • 纤巧型 5mm x 7mm QFN 封装
封装
LTC2420 封装
应用
  • 直接传感器数字化转换器
  • 直接温度测量
  • 仪表
  • 工业过程控制
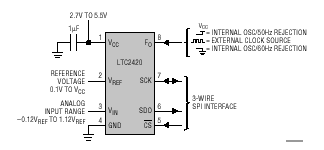
典型应用图
LTC2420 典型应用
参数
LTC2420 参数
LTC2420 订购信息和价格参考Package Variations and Pricing
器件型号 封装 引脚 温度 价格 (以 1 ~ 99 片为批量) 价格 (以 1000 片为批量) *
LTC2420CS8 SO 8 C $5.10  $4.25 
LTC2420CS8#PBF SO 8 C $5.10  $4.25 
LTC2420CS8#TR SO 8 C $4.30 
LTC2420CS8#TRPBF SO 8 C $4.30 
LTC2420IS8 SO 8 I $5.50  $4.70 
LTC2420IS8#PBF SO 8 I $5.50  $4.70 
LTC2420IS8#TR SO 8 I $4.75 
LTC2420IS8#TRPBF SO 8 I $4.75 
LTC2420 数据手册及相关资料下载
  1. 数据手册(英文) : LTC2420 - 20-Bit µPower No Latency Delta-Sigma ADC in SO-8.PDF
  2. 设计要点 (英文) : DN368 - Easy Drive Delta-Sigma Analog-to-Digital Converters Cancel Input Current Errors.PDF
  3. 设计要点 (英文) : DN379 - Easy Drive ADCs Simplify Measurement of High Impedance Sensors.PDF
  4. 可靠性数据 : R461 Reliability Data .PDF
  5. 产品选型卡 : No Latency Delta-Sigma™ ADCs.PDF
  6. 产品选型卡 : Ultra-Tiny 16-Bit ΔΣ ADC Family.PDF
  7. LT Journal: Mar 2007 - Easy Drive Delta-Sigma ADCs Deliver Powerful Features and Reduce Design Effort.PDF