LTC2433-1 Differential Input 16-Bit No Latency Delta Sigma ADC

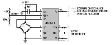
The LTC®2433-1 is a differential input micropower 16-bit No Latency Delta Sigma™ analog-to-digital converter with an integrated oscillator. It provides 0.12LSB INL and 1.45µV RMS noise independent of VREF. It uses delta-sigma technology and provides single conversion settling of the digital filter. Through a single pin, the LTC2433-1 can be configured for better than 87dB input differential mode rejection at 50Hz and 60Hz ±2%, or it can be driven by an external oscillator for a user defined rejection frequency. The internal oscillator requires no external frequency setting components.

The converter accepts any external differential reference voltage from 0.1V to VCC for flexible ratiometric and remote sensing measurement configurations. The fullscale differential input range is from – 0.5 • VREF to 0.5 • VREF. The reference common mode voltage, VREFCM, and the input common mode voltage, VINCM, may be independently set anywhere between GND and VCC. The DC common mode input rejection is better than 140dB.

The LTC2433-1 communicates through a flexible 3-wire digital interface which is compatible with SPI and MICROWIRE™ protocols

产品特点 Features
  • 16-Bit Differential ADC in a Tiny MSOP
  • Low Supply Current: 200µA, 4µA in Autosleep
  • Rail-to-Rail Differential Input/Reference
  • 0.12LSB INL, No Missing Codes
  • 0.16LSB Full-Scale Error and 5µV Offset
  • 1.45µV RMS Noise, Independent of VREF
  • Very Low Transition Noise: <0.02LSB
  • Operates with a Reference as Low as 100mV with 16-Bit Resolution
  • Internal Oscillator—No External Components Required
  • 87dB Min, Simultaneous 50Hz and 60Hz Notch Filter
  • Single Supply 2.7V to 5.5V Operation
  • Pin Compatible with the 20/24-Bit LTC2431/LTC2411
  • Available in 10-Lead MSOP Package
封装
LTC2433-1 封装
应用
  • Direct Sensor Digitizer
  • Weight Scales
  • Direct Temperature Measurement
  • Gas Analyzers
  • Strain-Gage Transducers
  • Instrumentation
  • Data Acquisition
  • Industrial Process Control
典型应用图
LTC2433-1 典型应用
参数
LTC2433-1 参数
LTC2433-1 订购信息和价格参考Package Variations and Pricing
器件型号 封装 引脚 温度 价格 (以 1 ~ 99 片为批量) 价格 (以 1000 片为批量) *
LTC2433-1CMS MSOP 10 C $2.60  $1.95 
LTC2433-1CMS#PBF MSOP 10 C $2.60  $1.95 
LTC2433-1CMS#TR MSOP 10 C $2.01 
LTC2433-1CMS#TRPBF MSOP 10 C $2.01 
LTC2433-1IMS MSOP 10 I $2.85  $2.15 
LTC2433-1IMS#PBF MSOP 10 I $2.85  $2.15 
LTC2433-1IMS#TR MSOP 10 I $2.21 
LTC2433-1IMS#TRPBF MSOP 10 I $2.21 
LTC2433-1 数据手册及相关资料下载
  1. 数据手册(英文) : LTC2433-1 - Differential Input 16-Bit No Latency Delta Sigma ADC.PDF
  2. 可靠性数据 : R380 Reliability Data .PDF
  3. 设计要点 (中文) : DN341 - 16 位 ADC 简化了电流测量.PDF
  4. 设计要点 (英文) : DN341 - 16-Bit ADC Simplifies Current Measurements.PDF
  5. 产品选型卡 : No Latency Delta-Sigma™ ADCs.PDF