LTC2861 具集成可通断终端的 20Mbps RS485 收发器

LTC®2859LTC2861 是低功率、20Mbps RS485/422 收发器,采用 5V 工作电源。接收器包括一个可通过逻辑电路来选择的 120Ω 终端,可在每根总线上支持多达 256 个节点的 1/8 单位负载 (C 和 I 版本) 和一种可在输入浮置或短路的条件下确保高输出状态的故障保险功能。

驱动器具有一种可通过逻辑电路来选择的低 EMI 250kbps 工作模式,并能够在整个共模范围内保持高输出阻抗 (当被停用或电源被拿掉时)。可通过对所有输出进行限流和利用热停机功能来防止因总线争用或故障而导致功耗过大。

增强型 ESD 防护使得 LTC2859 和 LTC2861 能够在收发器接口引脚上承受 ±15kV HBM (人体模型),而不会发生锁断或受损现象。

产品特点 Features
  • 集成、可通过逻辑电路来选择的 120Ω 终端电阻器
  • 20Mbps 最大数据速率
  • 不会因 ESD 而受损或发生锁断:±15kV HBM
  • 高输入阻抗支持 256 个节点 (C 和 I 版本)
  • 工作温度高达 105°C (LTC2861H)
  • 250ksps 低 EMI 模式
  • 整个共模范围内保证的故障保险接收器操作
  • 电流受限驱动器和热停机
  • 延迟微功率停机 (最大电流消耗为 5μA)
  • 上电 / 断电无干扰驱动器输出
  • 低工作电流 (接收模式中的最大值为 900μA)
  • 符合所有的 TIA/EIA-485-A 规范
  • 采用 10 引脚 3mm x 3mm DFN、12 引脚 4mm x 3mm DFN 和 16 引脚 SSOP 封装
应用
  • 低功率 RS485/RS422 收发器
  • 电平变换器
  • 背板收发器
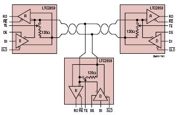
典型应用图
LTC2861 典型应用
参数
LTC2861 参数
LTC2861 订购信息和价格参考Package Variations and Pricing
器件型号 封装 引脚 温度 价格 (以 1 ~ 99 片为批量) 价格 (以 1000 片为批量) *
LTC2861CDE DFN 12 C $2.48 $1.70
LTC2861CDE#PBF DFN 12 C $2.48 $1.70
LTC2861CDE#TR DFN 12 C $1.76
LTC2861CDE#TRPBF DFN 12 C $1.76
LTC2861CGN SSOP 16 C $2.48 $1.70
LTC2861CGN#PBF SSOP 16 C $2.48 $1.70
LTC2861CGN#TR SSOP 16 C $1.76
LTC2861CGN#TRPBF SSOP 16 C $1.76
LTC2861IDE DFN 12 I $2.98 $2.04
LTC2861IDE#PBF DFN 12 I $2.98 $2.04
LTC2861IDE#TR DFN 12 I $2.10
LTC2861IDE#TRPBF DFN 12 I $2.10
LTC2861IGN SSOP 16 I $2.98 $2.04
LTC2861IGN#PBF SSOP 16 I $2.98 $2.04
LTC2861IGN#TR SSOP 16 I $2.10
LTC2861IGN#TRPBF SSOP 16 I $2.10
LTC2861 数据手册及相关资料下载
  1. 数据手册 (英文) : LTC2859/LTC2861 - 20Mbps RS485 Transceivers with Integrated Switchable Termination.PDF
  2. 可靠性数据 : R521 Reliability Data .PDF
  3. 产品选型卡 : Ultra Rugged ±60V RS485 Transceivers.PDF
  4. 产品选型卡 : RS485 Quick Guide.PDF