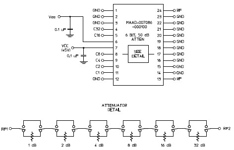
MAAD-007086-000100 Digital Attenuator 50 dB, 6-Bit, TTL Driver, DC-2.0 GHz
M/A-COM's MAAD-007086-000100 is a GaAs FET 6-bit digital attenuator with a 1 dB minimum step size and a 50 dB total attenuation range. This device is in a SOW-24, wide body plastic surface mount package. The MAAD-007086-000100 is ideally suited for use where accuracy, fast speed, very low power consumption and low costs are required.
技术特性 Features
- Attenuation: 1 dB Steps to 50 dB
- Low DC Power Consumption
- Integral TTL Driver
- 50 ohm Impedance
- Test Boards are Available
- Tape and Reel Packaging Available
- Lead-Free SOW-24 Package
- 100% Matte Tin Plating over Copper
- Halogen-Free “Green” Mold Compound
- 260°C Reflow Compatible
- RoHS* Compliant Version of AT65-0106
|
功能框图 Functional Block Diagram

订购信息 Ordering Information
- MAAD-007086-000100 Bulk Packaging
- MAAD-007086-0001TR 1000 piece reel
- MAAD-007086-0001TB Sample Test Board
|