MASWSS0176 GaAs SPDT Switch 0.05 - 3 GHz
M/A-COM’s MASWSS0176 is a GaAs PHEMT MMIC single pole, double throw (SPDT) switch in a low cost, lead-free SOT-26 surface mount plastic package. The MASWSS0176 is ideally suited for applications where small size and low cost are required. Typical applications are dual band systems which require switching between small signal components such as filter banks, single-band LNAs, converters, etc. This part can be used for low power, low loss requirements in all systems operating up to 3 GHz, including PCS, GSM, DCS, Satellite Radio, Blue Tooth, and other receive chain applications. The MASWSS0176 is fabricated using a 0.5 micron gate length GaAs PHEMT process. The process features full passivation for performance and reliability.
技术特性 Features
- Low Insertion Loss: 0.35 dB @ 2.4 GHz
- Moderate Isolation: 21 dB @ 2.4 GHz
- Low Current Consumption: 5 μA @ 2.5 V
- Lead-Free SOT-26 Package
- 100% Matte Tin Plating over Copper
- Halogen-Free “Green” Mold Compound
- 260°C Reflow Compatible
- RoHS* Compliant Version of MASWSS0005
|
订购信息 Ordering Information
- MASWSS0176 Bulk Packaging
- MASWSS0176TR-3000 3000 piece reel
- MASWSS0176SMB Sample Board
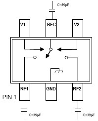
功能框图 Functional Block Diagram

|