ST72260G1 8-BIT MCU WITH FLASH OR ROM MEMORY, ADC, TWO 16-BIT TIMERS, I²C, SPI, SCI INTERFACES
The ST72260Gx, ST72262Gx and ST72264Gx devices are members of the ST7 microcontroller family. They can be grouped as follows :
- ST72264Gx devices are designed for mid-range applications with ADC, I²C and SCI interface capabilities.
- ST72262Gx devices target the same range of applications but without I²C interface or SCI.
- ST72260Gx devices are for applications that do not need ADC, I²C peripherals or SCI.
All devices are based on a common industrystandard 8-bit core, featuring an enhanced instruction set.
The ST72F260G, ST72F262G, and ST72F264G versions feature single-voltage FLASH memory with byte-by-byte In-Circuit Programming (ICP) capabilities.
Under software control, all devices can be placed in WAIT, SLOW, Active-HALT or HALT mode, reducing power consumption when the application is in idle or stand-by state.
The enhanced instruction set and addressing modes of the ST7 offer both power and flexibility to software developers, enabling the design of highly efficient and compact application code. In addition to standard 8-bit data management, all ST7 microcontrollers feature true bit manipulation, 8x8 unsigned multiplication and indirect addressing modes.
For easy reference, all parametric data is located in Section 13 on page 126
技术特性
- Memories
- 4 K or 8 Kbytes Program memory: ROM or single voltage extended Flash (XFlash) with read-out protection, write protection, In-Circuit Programming and In-Application Programming (ICP and IAP). 10K write/erase cycles guaranteed, data retention: 20 years at 55°C.
- Clock, Reset and Supply Management
- Enhanced low voltage supply supervisor (LVD) with 3 programmable levels and auxiliary voltage detector (AVD) with interrupt capability for implementing safe power-down procedures
- Clock sources: crystal/ceramic resonator oscillators, internal RC oscillator and bypass for external clock
- PLL for 2x frequency multiplication
- 4 Power Saving Modes: Halt, Active Halt,Wait and Slow
- Interrupt Management
- Nested interrupt controller
- 10 interrupt vectors plus TRAP and RESET
- 22 external interrupt lines (on 2 vectors)
- 22 I/O Ports
- 22 multifunctional bidirectional I/O lines
- 20 alternate function lines
- 4 Timers
- Main Clock Controller with Real time base and Clock-out capabilities
- Configurable watchdog timer
- Two 16-bit timers with: 2 input captures, 2 output compares, external clock input on one timer, PWM and Pulse generator modes
- 3 Communication Interfaces
- SPI synchronous serial interface
- I²C multimaster interface (SMBus V1.1 Compliant)
- SCI asynchronous serial interface
- 1 Analog peripheral
- 10-bit ADC with 6 input channels
- Instruction Set
- 63 basic instructions with illegal opcode detection
- 8 x 8 unsigned multiply instruction
- Development Tools
- Full hardware/software development package
|
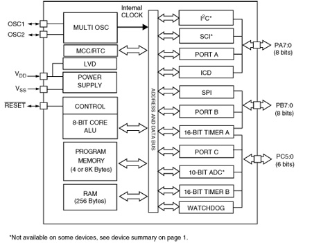
功能框图
 |
ST72260G1 订购信息
| 订购型号 |
产品状态 |
美金价格 |
数量 |
封装 |
包装形式 |
温度范围 |
材料声明 |
| ST72C260G1M6 |
Active |
|
|
SO-28 |
Tube |
-40 °C-85 °C |
ST72C260G1M6 |
| ST72C260G1M3 |
Active |
|
|
SO-28 |
Tube |
-40 °C-85 °C |
ST72C260G1M3 |
| ST72C260G1B6 |
NRND |
|
|
PDIP 32 .4S |
Tube |
-40 °C-85 °C |
ST72C260G1B6 |
DATASHEET
| 描述 |
版本 |
大小 |
| ST72260G1 : DS2535: 8-bit MCU with Flash or ROM memory, ADC, two 16-bit timers, I²C, SPI, SCI interfaces |
3 |
1461KB |
DATA BRIEF
| 描述 |
版本 |
大小 |
| ST72260G1 : ST7MDT1-DVP2 series emulators |
1 |
80KB |
APPLICATION NOTES
| 描述 |
版本 |
大小 |
| AN1636: Understanding and minimising ADC conversion errors |
1 |
407KB |
| AN1504: Starting a PWM signal directly at high level using the ST7 16-bit timer |
1 |
171KB |
| AN2639: Soldering recommendations and package information for Lead-free ECOPACK® microcontrollers |
2 |
209KB |
| AN1015: Software techniques for improving microcontroller EMC performance |
1 |
105KB |
| AN1709: EMC design guide for ST microcontrollers |
1 |
657KB |
| AN1181: Electrostatic discharge sensitivity measurement |
1 |
59KB |
| AN2390: A flexible universal battery charger |
1 |
573KB |
DEVICE OPTION LISTS
PROGRAMMING MANUALS
| 描述 |
版本 |
大小 |
| PM0018: ST7 Flash programming quick reference guide |
6 |
153KB |
| PM0002: ST7 family programming manual |
2 |
1433KB |
| PM0012: ST7 family ICC protocol reference manual |
3 |
893KB |
| PM0011: ST7 family Flash programming reference manual |
2 |
748KB |
RELEASE NOTES
| 描述 |
版本 |
大小 |
| RN0038: ST6 Windows Epromer release 4.0.3 |
1 |
33KB |
USER MANUALS
| 描述 |
版本 |
大小 |
| UM0355: Safe ST7 evaluation board (ST7FOPTIONS-EVAL) user manual |
1 |
647KB |
| UM0177: ST7 software library |
4 |
1093KB |
LICENSE AGREEMENTS
TECH TRAINING PRESENTATIONS
FIRMWARE
SW TRAINING ENVIRONMENTS
BOARDS AND TOOLS
| Part Number |
描述 |
| STVP |
ST Visual Programmer for programming ST7, STM8, STM8T and STM32 |
| ST7-SK/RAIS |
Raisonance REva starter kit for ST7 MCUs, includes RLink |
| ST7MDT10-TEB |
Target emulation board to adapt any ST7-EMU3 series emulator to emulate a specific ST7 or ST7 sub-family. Includes all package s |
| INDART |
In-circuit debugging and in-circuit programming tools for microcontrollers |
| ST7-EMU3 |
3rd generation high-end emulator ST7-EMU3 |
| AS/Stice_Connect |
Adapter Socket for application board - to use with STICE-SYS00x emulation systems |
| STVD |
ST Visual develop IDE for developing ST7 and STM8 applications |
| ST7MDT10-32/DVP |
SDIP32/SO28 connection kit for ST7MDT10-DVP3 |
| AC7MDT10-D32/S28 |
SDIP32/SO28 connection kit for ST7MDT10-EMU3, includes SDIP32 flex adapter and SDIP32 to SO28 adapter |
| STX-RLINK |
In-circuit debugger/programmer supporting JTAG and ICC protocols for STM8, ST7, uPSD, STM32, STR7 and STR9 microcontrollers |
| ST7-DVP3 |
ST7-DVP3 series emulator |