ST7LITE49M 8-bit MCU
The ST7LITE49M is a member of the ST7 microcontroller family. All ST7 devices are based on a common industry-standard 8-bit core, featuring an enhanced instruction set.
The ST7LITE49M features Flash memory with byte-by-byte in-circuit programming (ICP) and in-application programming (IAP) capability.
Under software control, the ST7LITE49M device can be placed in Wait, Slow, or Halt mode, reducing power consumption when the application is in idle or standby state.
The enhanced instruction set and addressing modes of the ST7 offer both power and flexibility to software developers, enabling the design of highly efficient and compact application code. In addition to standard 8-bit data management, all ST7 microcontrollers feature true bit manipulation, 8x8 unsigned multiplication and indirect addressing modes.
The ST7LITE49M features an on-chip Debug Module (DM) to support in-circuit debugging (ICD). For a description of the DM registers, refer to the ST7 ICC protocol reference manual
技术特性
- Memories
- 4 Kbytes single voltage extended Flash (XFlash) Program memory with Read-Out Protection In-circuit programming and in-application programming (ICP and IAP) Endurance: 10k write/erase cycles guaranteed Data retention: 20 years at 55 °C
- 128 bytes data EEPROM with Read-Out Protection. 300K write/erase cycles guaranteed, data retention: 20 years at 55 °C.
- Clock, reset and supply management
- 3-level low voltage supervisor (LVD) for main supply and an auxiliary voltage detector (AVD) for safe power-on/off
- Clock sources: Internal trimmable 8 MHz RC oscillator, auto-wakeup internal low power - low frequency oscillator, crystal/ceramic resonator or external clock
- Five power saving modes: Halt, Active-halt, Auto-wakeup from Halt, Wait and Slow
- I/O Ports
- Up to 24 multifunctional bidirectional I/Os
- 5 timers
- Configurable watchdog timer
- Dual 8-bit Lite timers with prescaler, 1 real-time base and 1 input capture
- Dual 12-bit Auto-reload timers with 4 PWM outputs, input capture, output compare, dead-time generation and enhanced onepulse mode functions
- Communication interface:
- I²C multimaster interface
- A/D converter: 10 input channels
- Interrupt management
- 13 interrupt vectors plus TRAP and RESET
- Instruction set
- 63 basic instructions with illegal opcode detection
- 8 x 8 unsigned multiply instructions
- Development tools
- Full HW/SW development package
|
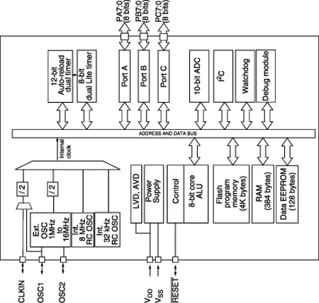
功能框图
 |
ST7LITE49M 订购信息
| 订购型号 |
产品状态 |
美金价格 |
数量 |
封装 |
包装形式 |
温度范围 |
材料声明 |
| ST7FLI49MK1B6 |
Preview |
|
|
PDIP 32 .4S |
Tube |
-40 °C-85 °C |
ST7FLI49MK1B6 |
| ST7FLI49MK1T6 |
Active |
|
|
LQFP 32 7x7x1.4 |
Tray |
-40 °C-85 °C |
ST7FLI49MK1T6 |
DATASHEET
| 描述 |
版本 |
大小 |
| ST7LITE49M : 8-bit MCU with single voltage Flash memory, data EEPROM, ADC, 8/12-bit timers, and I²C interface |
3 |
1702KB |
APPLICATION NOTES
| 描述 |
版本 |
大小 |
| AN2786: STEVAL-IHI001V1 demonstration board: washing machine user interface based on the ST7LITE49M and STLED316S |
1 |
229KB |
| AN1636: Understanding and minimising ADC conversion errors |
1 |
407KB |
| AN1504: Starting a PWM signal directly at high level using the ST7 16-bit timer |
1 |
171KB |
| AN2639: Soldering recommendations and package information for Lead-free ECOPACK® microcontrollers |
2 |
209KB |
| AN1015: Software techniques for improving microcontroller EMC performance |
1 |
105KB |
| AN1709: EMC design guide for ST microcontrollers |
1 |
657KB |
| AN1181: Electrostatic discharge sensitivity measurement |
1 |
59KB |
| AN2390: A flexible universal battery charger |
1 |
573KB |
PROGRAMMING MANUALS
| 描述 |
版本 |
大小 |
| PM0018: ST7 Flash programming quick reference guide |
6 |
153KB |
| PM0002: ST7 family programming manual |
2 |
1433KB |
| PM0012: ST7 family ICC protocol reference manual |
3 |
893KB |
| PM0011: ST7 family Flash programming reference manual |
2 |
748KB |
USER MANUALS
| 描述 |
版本 |
大小 |
| UM0177: ST7 software library |
4 |
1093KB |
| UM0557: STEVAL-IHI001V1 demonstration board |
1 |
280KB |
LICENSE AGREEMENTS
TECH TRAINING PRESENTATIONS
FIRMWARE
BOARDS AND TOOLS
| Part Number |
描述 |
| ST7-SK/RAIS |
Raisonance REva starter kit for ST7 MCUs, includes RLink |
| AD/Stice_Connect |
Connection Adapter to use with STICE-SYS00x emulation systems |
| STEVAL-IHI001V1 |
Demonstration board for washing machine user interface based on the ST7LITE49M and STLED316S |
| AS/Stice_Connect |
Adapter Socket for application board - to use with STICE-SYS00x emulation systems |
| STVD |
ST Visual develop IDE for developing ST7 and STM8 applications |
| STX-RLINK |
In-circuit debugger/programmer supporting JTAG and ICC protocols for STM8, ST7, uPSD, STM32, STR7 and STR9 microcontrollers |
| CF/Stice_Connect |
Connexion flex to use with STICE-SYS00x emulation systems |
| ST7-D/RAIS |
ST7 MCU daughter board for use with Raisonance REva starter kits |