STM32W108C8 High-performance, IEEE 802.15.4 wireless system-on-chip with 64-Kybte Flash, QFN48
The STM32W108C8 is a fully integrated System-on-Chip that integrates a 2.4 GHz, IEEE 802.15.4-compliant transceiver, 32-bit ARM® Cortex™-M3 microprocessor, Flash and RAM memory, and peripherals of use to designers of 802.15.4-based systems.
技术特性
- Complete system-on-chip
- 32-bit ARM® Cortex™-M3 processor
- 2.4 GHz IEEE 802.15.4 transceiver & lower MAC
- 8-Kbyte RAM and 64-Kbyte Flash memory
- AES128 encryption accelerator
- Flexible ADC, SPI/UART/I²C serial communications, and general-purpose timers
- 24 highly configurable GPIOs with Schmitt trigger inputs
- Industry-leading ARM® Cortex™-M3 processor
- Leading 32-bit processing performance
- Highly efficient Thumb®-2 instruction set
- Operation at 6, 12 or 24 MHz
- Flexible nested vectored interrupt controller
- Low power consumption, advanced management
- Receive current (w/ CPU): 27 mA
- Transmit current (w/ CPU, +3 dBm TX): 31 mA
- Low deep sleep current, with retained RAM and GPIO: 400 nA/800 nA with/without sleep timer
- Low-frequency internal RC oscillator for low-power sleep timing
- High-frequency internal RC oscillator for fast (100 μs) processor start-up from sleep
- Exceptional RF performance
- Normal mode link budget up to 102 dB; configurable up to 107 dB
- -99 dBm normal RX sensitivity; configurable to -100 dBm (1% PER, 20 byte packet)
- +3 dB normal mode output power; configurable up to +8 dBm
- Robust WiFi and Bluetooth coexistence
- Innovative network and processor debug
- Non-intrusive hardware packet trace
- Serial wire/JTAG interface
- Standard ARM debug capabilities: Flash patch and breakpoint; data watchpoint and trace; instrumentation trace macrocell
- Application flexibility
- Single voltage operation: 2.1-3.6 V with internal 1.8 V and 1.25 V regulators
- Optional 32.768 kHz crystal for higher timer accuracy
- Low external component count with single 24 MHz crystal
- Support for external power amplifier
- Small 7x7 mm 48-pin VFQFPN package
|
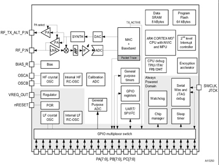
功能框图
 |
STM32W108C8 订购信息
| 订购型号 |
产品状态 |
美金价格 |
数量 |
封装 |
包装形式 |
温度范围 |
材料声明 |
| STM32W108C8U64TR |
Active |
1.7106 |
1000 |
VFQFPN 48 7x7x1.0 |
Tape And Reel |
-40 °C-85 °C |
STM32W108C8U64TR |
| STM32W108C8U63TR |
Active |
1.7106 |
1000 |
VFQFPN 48 7x7x1.0 |
Tape And Reel |
-40 °C-85 °C |
STM32W108C8U63TR |
DATASHEET
| 描述 |
版本 |
大小 |
| STM32W108C8 : DS7150: High-performance, IEEE 802.15.4 wireless system-on-chip with 64-Kbyte Flash memory |
2 |
2713KB |
DATA BRIEF
| 描述 |
版本 |
大小 |
| STM32W108C8 : Optimized IEEE802.15.4 system-on-chip for remote control applications |
1 |
125KB |
APPLICATION NOTES
| 描述 |
版本 |
大小 |
| AN1709: EMC design guide for ST microcontrollers |
1 |
657KB |
| AN1181: Electrostatic discharge sensitivity measurement |
1 |
59KB |
| AN3406: Using an STM32W108-based board and Wireshark for IEEE 802.15.4 packet analysis |
1 |
253KB |
| AN3206: PCB design guidelines for the STM32W108 platform |
3 |
282KB |
| AN2639: Soldering recommendations and package information for Lead-free ECOPACK® microcontrollers |
2 |
209KB |
| AN3218: Adjacent channel rejection measurements for the STM32W108 platform |
2 |
96KB |
| AN3359: Low cost PCB antenna for 2.4GHz radio: Meander design |
1 |
960KB |
ERRATA SHEETS
| 描述 |
版本 |
大小 |
| ES0003: STM32W108xx device limitations |
1 |
110KB |
LICENSE AGREEMENTS
PROGRAMMING MANUALS
| 描述 |
版本 |
大小 |
| PM0073: STM32Wxxx Flash memory microcontrollers |
4 |
229KB |
REFERENCE MANUALS
| 描述 |
版本 |
大小 |
| RM0038: STM32L151xx, STM32L152xx and STM32L162xx advanced ARM-based 32-bit MCUs |
6 |
7814KB |
TECHNICAL NOTES
| 描述 |
版本 |
大小 |
| TN0830: How to use EWARM 6.2x with projects built with EWARM 6.1 and previous versions |
1 |
98KB |
USER MANUALS
| 描述 |
版本 |
大小 |
| UM0978: Using the Simple MAC nodetest application |
3 |
192KB |
| UM0909: STM32W108xx ZigBee® RF4CE library |
3 |
521KB |
| UM0894: STM32W-SK and STM32W-EXT starter and extension kits for STM32W108xx microcontrollers |
5 |
826KB |
| UM0893: STM32W108xx Simple MAC library |
9 |
576KB |
PRODUCT PRESENTATIONS
BOARDS AND TOOLS
| Part Number |
描述 |
| STM-STUDIO |
STM Studio run-time variables monitoring and visualization tool |
| STVP |
ST Visual Programmer for programming ST7, STM8, STM8T and STM32 |
| STM32W-EXT |
Extension boards for evaluation kit for STM32 Wireless devices |
| STM32W-SK |
Evaluation kit for STM32 Wireless devices |
| ST-LINK |
In-circuit debugger and programmer for STM8 and STM32 MCUs; with IAR EWARM and Keil RVMDK and ST toolset |
| ST-LINK/V2 |
ST-LINK/V2 in-circuit debugger/programmer for STM8 and STM32 |
| STM32W-RFCKIT |
STM32W Low-cost RF control kit |
DEVICE PROGRAMMERS
FIRMWARE
SW FUNCTIONS
FLYERS
| 描述 |
版本 |
大小 |
| FLSTM32W0212 : STM32W 32-bit ARM Cortex-M3 IEEE 802.15.4 SoCs |
1.0.0 |
378KB |
MARKETING BROCHURES
| 描述 |
版本 |
大小 |
| BRHEALTH0511 : Semiconductor solutions for healthcare applications |
1.0 |
666KB |
| BRSMETER0911 : Smart grid distribution and smart meters - Energy-efficient solutions |
1.0 |
1292KB |