ADF7902: ISM频段FSK接收机IC

概述

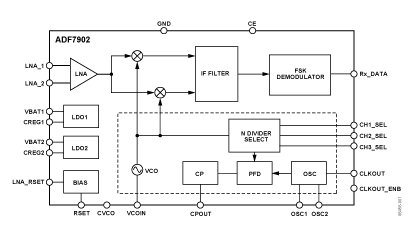
ADF7902是一款低功耗UHF接收机,可解调具有34.8 kHz频率偏移、数据速率最高为2 kbps的频移键控(FSK)信号。

该接收机可以在369.5 MHz至395.9 MHz的八个特定RF通道上工作。各通道可通过配置三条数字控制线路进行选择。ADF7902针对低功耗应用设计,正常工作模式功耗为18.5 mA(典型值),待机模式功耗为1 μA(最大值)。

技术特性
  • 单芯片、低功耗UHF接收机
  • ADF7901发射机的配套接收机
  • 频率范围:369.5 MHz至395.9 MHz
  • 八个RF通道,可通过三路数字输入选择
  • 支持的调制参数
  • FSK 调制
  • 2 kbps 数据速率
  • 34.8 kHz 频率偏移
  • 5.0 V工作电压
功能框图
ADF7902 功能框图
技术指标
  • Output Frequency Range : 369.5MHz-395.9MHz
  • Modulation Mode: FSK
  • Voltage Supply (V): 5V
  • Maximum Data Rate (kbps): 2kbps
  • Phase Noise Floor (dBc/Hz: -194dBc/Hz
订购指南
产品型号 封装 引脚 温度范围 包装和数量 报价*(100-499) 报价*1000 pcs RoHS
ADF7902BRUZ 产品状态: 量产 24 ld TSSOP 24 工业 Tube, 62 $ 2.02 $ 1.52 Y  材料信息
ADF7902BRUZ-RL 产品状态: 量产 24 ld TSSOP 24 工业 Reel, 2500 - $ 1.52 Y  材料信息
ADF7902BRUZ-RL7 产品状态: 量产 24 ld TSSOP 24 工业 Reel, 1000 - $ 1.52 Y  材料信息
ADF7902 应用技术支持与电子电路设计开发资源下载
  1. ADF7902 数据手册DataSheet 下载 . pdf
  2. ADI 模拟器件公司比较器产品选型指南 . pdf
  3. Analog Devices, Inc. 美国模拟器件公司产品订购手册 .pdf