ADP5065: 利用电源线和USB兼容性实现快速充电电池管理

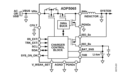
ADP5065 功能框图ADP5065充电器完全符合USB 2.0、USB 3.0和USB电池充电规格1.1,可通过mini-USB VBUS引脚从墙壁充电器、车载充电器或USB主机端口进行充电。ADP5065的输入电压范围为4 V至5.5 V,最高可耐受20 V电压。这缓解了断开或连接时的USB总线尖峰问题。ADP5065ADP5065在DCDC充电器输出和电池间集成了内部FET。这一设计可提供“电池隔离”,使系统可在“电池无电”或“无电池”情况下供电,从而直接通过USB电源执行系统功能。根据外部USB检测芯片检测到的USB电源类型,ADP5065可设置为应用正确的电流限值,实现最佳充电和USB合规性。USB充电器可在所有USB兼容电源下正常工作,例如墙壁充电器、主机充电器、集线器充电器、标准主机和集线器。

封装和外部元件

ADP5065采用尺寸极小的薄型WLCSP-20(0.5 mm间距)封装。总体解决方案仅需要5个小尺寸、薄型外部元件,包括4个陶瓷电容(其中一个是电池滤波器电容)、1个多层电感和1个可选的“电池无电状况”默认设置电阻。这样,PCB面积极小,可为USB电池充电和供电轨应用提供整合和高性能的解决方案。

技术特性
  • 3 MHz开关模式充电器
  • 专用充电器,提供1.25 A充电电流
  • 500mA USB主机,提供最高680 mA的充电电流
  • 输入电压范围:4.0 V至5.5 V
  • 可耐受的输入电压:-0.5 V至+20 V (USB VBUS)
  • 符合15kV ESD IEC标准的VIN引脚(USB VBUS)
  • 电池与充电器输出间的“电池无电隔离”FET提供电池隔离,系统可在“电池无电”状况下工作
  • 电池热敏电阻输入,一旦电池温度超过限值充电器便自动关断
  • 符合“JEITA”锂离子电池充电温度规格
  • “SYS_EN_OK”标志,即延迟系统开启,直至电池达到需要的最低电平,在最低电池电压和/或最低电池充电电平要求下可保证系统启动
  • 通过C/20、C/10和特定电平选择实现EOC编程
技术指标
  • Product Description: Fast Charge Battery Management with Power Path and USB Compatibility
应用领域
  • 数码相机
  • 数码摄像机
  • 单个锂离子电池便携式设备
  • PDA、音频设备、GPS设备
  • 移动电话
订购指南
产品型号 封装 引脚 温度范围 包装和数量 报价*(100-499) 报价*1000 pcs RoHS
ADP5065ACBZ-1-R7 产品状态: 量产 CHIPS W/SOLDER BUMPS/WLSCP 20 工业 Reel, 3000 - $ 1.60 Y  材料信息
ADP5065 应用技术支持与电子电路设计开发资源下载
  1. ADP5065 数据手册DataSheet 下载 . pdf(Rev A, 11/2011 pdf 1707kB)
  2. ADI 模拟器件公司比较器产品选型指南 . pdf
  3. Analog Devices, Inc. 美国模拟器件公司产品订购手册 .pdf