ADXL212: 配合K型热电偶使用的热电偶调节器和设定点控制器
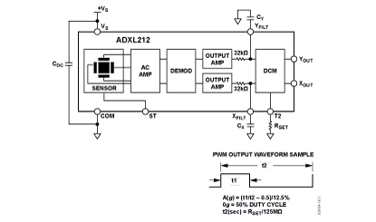
ADXL212是一款高精度、低功耗、单轴/双轴加速度计,提供占空比调制的输出,所有功能均集成于一个单芯片IC中,能以最小±2g的满量程范围测量加速度。ADXL212可同时测量动态加速度(例如震动)和静态加速度(例如重力)。
典型本底噪声为110 μg/√Hz,因而在倾斜检测应用中,可以利用窄带宽(<60 Hz)解析1 mg(0.06°倾斜)以下的信号。用户使用XOUT和YOUT引脚上的电容CX和CY选择该加速度计的带宽。根据应用需要,可以选择0.5 Hz至2.5 kHz范围内的带宽。它提供5 mm × 5 mm × 2 mm、8引脚密封LCC封装。该器件是ADXL202的100%引脚兼容替代产品。
技术指标
- # of Axes: 2
- Range: +/- 2g
- Sensitivity: 12.5 %/g
- Sensitivity Accuracy (%): �12.5n/a
- Output Type: Digital
- Typical Bandwidth (kHz): 0.5kHz
|
技术特性
- 在单芯片IC上实现高性能、单/双轴加速度计
- 5 mm × 5 mm × 2 mm、LCC封装
- 1 mg分辨率,60 Hz低功耗:VS = 5 V时700 μA(典型值)
- 高零偏稳定性
- 高灵敏度,温度范围–40°C至+125°C
- 脉冲宽度调制的数字输出
- 利用单个电容调整带宽
- 单电源供电
- 3500 g抗冲击能力,符合RoHS标准
- 与锡/铅和无铅焊接工艺兼容
|
订购指南
| 产品型号 |
封装 |
引脚 |
温度范围 |
包装和数量 |
报价*(100-499) |
报价*1000 pcs |
RoHS |
| ADXL212AEZ 产品状态: 量产 |
LCC:CER LEADLESS CHIP CARR |
8 |
工业 |
Tube, 95 |
$ 10.86 |
$ 9.87 |
E 材料信息 |
| ADXL212AEZ-RL 产品状态: 量产 |
LCC:CER LEADLESS CHIP CARR |
8 |
工业 |
Reel, 3000 |
- |
$ 9.87 |
E 材料信息 |
开发工具
| 产品型号 |
描述 |
报价 |
RoHS |
| EVAL-ADXL212Z 产品状态: 量产 |
Evaluation Board |
$ 30.31 |
是 |
ADXL212 应用技术支持与电子电路设计开发资源下载
- ADXL212 数据手册DataSheet 下载 . pdf
- ADI 模拟器件公司比较器产品选型指南 . pdf
- Analog Devices, Inc. 美国模拟器件公司产品订购手册 .pdf